Ocenite etot tekst:

                         Prakticheskoe posobie

                                Minsk
                              "Harvest"
                              1997

======================================================================
     V etoj   knige   raskryvayutsya   metody   i    priemy    polucheniya
konfidencial'noj informacii  o  lyudyah  i organizaciyah,  vyzyvayushchih vash
interes. "Znat'  istinnoe  polozhenie  del  -  eto  imet'   vozmozhnost'
dejstvovat' navernyaka"  -  takova osnovnaya ideya avtora,  professionala
tajnoj vojny.
     Kak sobirat'  i  analizirovat'  nuzhnye  svedeniya,  kak privlekat'
lyudej k sotrudnichestvu, kak pobuzhdat' ih delat' to, chto vam nuzhno - ob
etom i  mnogom  drugom,  imeyushchem  otnoshenie k razvedyvatel'noj rabote,
rasskazyvaetsya v knige.
     "Svoya razvedka"   -   cennoe   posobie  dlya  sluzhb  bezopasnosti,
detektivnyh i  ohrannyh  agentstv  i  voobshche  dlya  lyubogo,  kto  hochet
dejstvovat' na osnove tochnoj informacii, a ne domyslov.
======================================================================




       VVEDENIE

        * CHASTX 1. SPOSOBY POLUCHENIYA I OCENKI INFORMACII * 

     1. Vvodnye polozheniya
     2. Kratkaya harakteristika istochnikov informacii
     3. Vzyatie informacii u individa
        - Lichnye motivy vydachi informacii
        - Metody aktivnogo izymaniya faktury
        - Tehnika vnedreniya informatorov
     4. Vzyatie informacii iz dokumentov
        - Obretenie dostupa k dokumentam
        - Perehvat i perlyustraciya pisem
        - Obrabotka "musora"
     5. Vzyatie informacii iz sredstv svyazi
        - Perehvat radioperegovorov
        - Snyatie informacii s telefona
     6. Vzyatie informacii cherez otslezhivanie
        - Nablyudenie za stacionarnym ob容ktom
        - Slezhka za otdel'nym chelovekom
        - Skrytnoe proslushivanie besed i peregovorov
        - Ispol'zovanie sluhov
     7. Principy ocenki i analiza informacii
        - Dostovernost' i nadezhnost' materialov
        - Iskazhenie informacii i dezinformaciya
        - Tehnika interpretacii dannyh

        * CHASTX 2. METODY POISKA I VERBOVKI INFORMATOROV * 

     1. Vvodnye polozheniya
     2. Vyyavlenie kandidata
     3. Razrabotka kandidata
        - Predvaritel'noe izuchenie
        - Ustanovlenie kontakta
        - Uglublenie kontakta
        - Tehnika testirovaniya
     4. Sostavlenie dos'e
     5. Taktika ocenki kandidata
     6. Provedenie verbovki
     7. Obhozhdenie s zaverbovannym
        - Napravlenie ego deyatel'nosti
        - Sposoby uderzhaniya
        - Sposoby proverki
        - Sposoby svyazi
        - Zavershenie kontakta

        * CHASTX 3. METODY OBESPECHENIYA REZULXTATIVNOGO OBSHCHENIYA * 

     1. Teoriya i praktika rezul'tativnogo obshcheniya
        - Celenapravlennoe konstruirovanie
        - Obshchie rekomendacii po organizacii
        - Psihofiziologicheskie aspekty
        - Sostavnye elementy obshcheniya
     2. Tochnost' vospriyatiya partnera po obshcheniyu
        - Vvodnye polozheniya
        - Mimika lica
        - Vzglyad i glaza
        - Poza i ee detali
        - ZHesty i telodvizheniya
        - Intonacii golosa
        - Osobennosti leksiki
        - Neproizvol'nye reakcii
        - Fonovoe nastroenie
        - Mikrokolebaniya nastroeniya
     3. Nejrolingvisticheskoe proniknovenie v psihiku
        - Vvodnye polozheniya
        - Raspoznanie sposoba obrabotki informacii
        - Kalibrovka partnera po obshcheniyu
        - Tehnika manipulirovaniya s pomoshch'yu NLP

        * CHASTX 4. METODY CELENAPRAVLENNOGO VOZDEJSTVIYA NA CHELOVEKA * 

     1. Vvodnye polozheniya
     2. Sposoby vozdejstviya
        - Ubezhdenie
        - Vnushenie
        - Gipnoz
        - Narkovozdejstvie
        - Seks-meropriyatiya
        - Tehnotronnye metodiki
        - Zombirovanie
     3. Podkup
     4. SHantazh kompromatom
     5. Zapugivanie
     6. Pytka

        * CHASTX 5. OBESPECHENIE BEZOPASNOSTI RAZVEDYVATELXNOJ RABOTY * 

     1. Vvodnye polozheniya
     2. |lementy sistemy bezopasnosti
        - Vneshnyaya bezopasnost'
        - Vnutrennyaya bezopasnost'
        - Lokal'naya bezopasnost'
        - Organizaciya vstrech
        - "Uhod na dno"
     3. Obespechenie tajny poslanij
        - Kriptografiya
        - SHifrovanie
        - Deshifrovka
        - Steganografiya

       PRILOZHENIE 1.
       SHEMY SPECIALXNOJ APPARATURY

       PRILOZHENIE 2.
       POISK I OBEZVREZHIVANIE VZRYVNYH USTROJSTV
        - Tipy vzryvnyh ustrojstv
        - Posledovatel'nost' obezvrezhivaniya vzryvnyh ustrojstv
        - Sposoby obnaruzheniya vzryvnyh ustrojstv

       PRILOZHENIE 3. PROBLEMY BEZOPASNOSTI BIZNESMENA
        1. Nuzhen li biznesmenu pistolet?
        2. Kakim dolzhen byt' telohranitel'
        3. Sobaka - luchshij drug biznesmena
        4. Obshchie mery zashchity ot pokushenij
        5. Zashchita avtomobilya i kvartiry
        6. Kak sebya vesti pri pohishchenii
        7. Zashchita ot tehnicheskih sredstv shpionazha
        8. Sozdanie svoej sluzhby bezopasnosti

       REKOMENDUEMAYA LITERATURA

======================================================================

     ZHizn' d'yavol'ski slozhna, i chtoby vyzhit' - neobhodimo dejstvovat',
prichem ne aby kak,  sharahayas' iz storony v storonu i upovaya na udachnyj
sluchaj,  a celenapravlenno, zablagovremenno predvoshishchaya nezhelatel'nye
sobytiya kommercheskogo, kriminal'nogo i politicheskogo haraktera.
     Predvidet' kozni  i  dejstviya  drugih  obychno   pomogaet   horosho
postavlennaya razvedka,  i kazhdomu nelishne znat' ee vozmozhnosti i nekie
priemy,  kotorye  mogut  zadejstvovat'sya  kak  im  samim,  tak  i   ne
druzhestvennoj storonoj. Posobie polezno vsem, kto ne zhelaet byt' rabom
tekushchih situacij,  a takzhe tem,  kto hochet znat',  kakie  nepriyatnosti
mozhno   ozhidat'   ot   slishkom   ushlyh   konkurentov,  prestupnikov  i
gosstruktur.



     "Znat' napered namereniya protivnika - eto,  po suti,  dejstvovat'
kak  Bog!"  -  v svoe vremya izrek strateg kitajskoj mudrosti Sun'-czy.
Mezhdu tem, dannym vsemogushchim Bogom sposoben stat' lyuboj iz Vas.
     Znat', vprochem,  nadobno  ne mnogoe,  a nuzhnoe,  prichem poslednee
zavisit  ot  togo,  chto  Vy  hotite  predprinyat'  i  k  chemu  zhiznenno
stremites'.  Protivnikami mogut vystupat' i slishkom ushlyj konkurent, i
opytnyj   professional,    i    moshchnaya    organizovannaya    struktura.
Vzaimootnosheniya   pri   etom   mogut  byt'  vpolne  civilizovannymi  i
dzhentl'menskimi,  a  mogut  okazat'sya  do  krajnosti  bezzhalostnymi  i
neetichnymi.
     Moshch' intellekta ne analog morali,  tak  zhe  kak  ne  stykuetsya  s
moral'yu   istinnyj   professionalizm.   Lyubye   znaniya  sposobny  byt'
vosprinyaty polyarno;  iz obshchego  istochnika  neredko  p'yut  i  tot,  kto
sovershaet prestuplenie,  i tot, kto lovit etogo prestupnika. S pozicij
vechnosti trudno skazat',  kakoj iz polyusov ugoden Bogu,  ibo v Prirode
net  razlichiya  mezhdu dobrom i zlom,  lyudyam zhe svojstvenno periodicheski
menyat' svoe mnenie.
     "Kogda bredushchij karavan vdrug povorachivaet nazad,  hromoj verblyud
totchas okazyvaetsya vperedi", - s usmeshkoj govorili aksakaly Vostoka. I
te,  kogo  vchera  schitali gnusnymi prestupnikami,  segodnya ob座avlyayutsya
mudrejshimi predprinimatelyami,  a te,  kogo segodnya pishut v terroristy,
vozmozhno stanut zavtra ukrasheniem nacii.
     CHingiz-han pod  vliyaniem  navyazchivoj  idei  unichtozhil  celyj  ryad
civilizacij,  no  on  pochitaetsya  nacional'nym  geroem  v  sovremennoj
Mongolii.  Napoleon ugrobil sotni tysyach soldat radi svoih ambicij,  no
ostaetsya  v  pamyati  lyudej  kak  romanticheskaya  i  dovol'no  uvazhaemaya
lichnost'.  Vozmozhno,  cherez nekotoroe vremya v takom zhe pietetnom stile
budut prepodnosit' i Gitlera, i Stalina.
     Blagaya cel' vsegda opravdyvaet sredstva,  priemlemost' kotoryh, v
chastnosti,   zavisit  ot  moral'nyh  ustanovok  ispolnitelya.  Ne  nado
zabyvat',  chto ubivaet ne oruzhie,  a  lyudi.  Predstavlennye  v  dannom
rukovodstve vpolne etichnye, a poroj i gryaznovatye priemy rasschitany na
teh,  kto ne proshel speckurs  v  sootvetstvuyushchih  uchebnyh  zavedeniyah,
odnako  vynuzhden  prokladyvat' svoj put' v etom bezumnom haose lyudej i
interesov  zapushchennoj  v  raznos  imperii.  Vam  mogut  vstretit'sya  i
kriminal'nye specialisty,  i professionaly silovyh struktur,  i prosto
lovkie avantyuristy,  presleduyushchie svoi podozritel'nye  celi.  Vse  oni
mogut  primenyat'  zamyslovatye  priemy,  a posemu poslednie neobhodimo
znat' takzhe i tem,  kto ne sposoben sam zadejstvovat'  nechto  podobnoe
protiv drugih.
     Zdes' my rassmotrim kak mozhno poluchit' neobhodimye  Vam  svedeniya
ob individe ili nekoej organizacii,  kakim putem privlech' poleznejshego
personazha na svoyu storonu i kak vozdejstvovat' na cheloveka,  chtoby  on
sdelal to, chto Vam neobhodimo. Predstavlennye v prilozhenii prosten'kie
shemy   pozvolyat   nachinayushchemu   igroku   sobrat'    improvizirovannuyu
specapparaturu,  ne  kontaktiruya  s  torgovcami polulegal'nym tovarom.
Uchtite,  chto yazyk nash specificheski ne strog,  poetomu mozhet vyzvat'  u
kichlivogo professionala vysokomernuyu usmeshku.  I zapomnite,  chto proshche
vsego pobezhdat' teh, kto ne vosprinyal Vas vser'ez!







     Dlya resheniya  lyuboj  problemy  trebuetsya  optimal'naya  informaciya.
Odnako  to,  chto  komu-to  predstavlyaetsya  informaciej,  prochimi mozhet
vosprinimat'sya kak nikchemnyj i dovol'no-taki zauryadnyj shum.
     Informaciyu prinyato  schitat'  cennoj  lish'  togda,  kogda ee mozhno
ispol'zovat',  prichem  poleznost'  informacii  sil'no  zavisit  ot  ee
polnoty, tochnosti i svoevremennosti.
     Sleduet konkretno razlichat' i ne putat':  fakty (dannye),  mneniya
(lichnostnye   predpolozheniya),  informaciyu  (analiticheski  obrabotannye
dannye).
     Informaciya obychno pozvolyaet:
     - orientirovat'sya v situacii;
     - chetko planirovat' svoi dejstviya;
     - otslezhivat' rezul'tativnost' provodimyh akcij;
     - uklonyat'sya ot neozhidannostej;
     - manipulirovat' otdel'nymi lyud'mi i gruppirovkami.
     *Informaciya podrazdelyaetsya na*:
     - Total'nuyu (daet obshchee obzornoe  predstavlenie  ob  interesuyushchej
probleme i uchastnikah - individah i organizaciyah - provodimoj igry);
     - Tekushchuyu ili operativnuyu (derzhit v kurse izmenyayushchihsya sobytij);
     - Konkretnuyu  (zapolnyaet vyyavlennye probely v dannyh ili otvechaet
na opredelennye voprosy);
     - Kosvennuyu  (podtverzhdaet  ili  oprovergaet nekie predpolozheniya,
buduchi stykovannoj s poslednimi tol'ko oposredovanno);
     - Ocenochnuyu  (rastolkovyvaet  sobytiya i daet prognoz otnositel'no
ih razvitiya v budushchem; eto - optimal'no obrabotannye dannye).
     Osoznav, chto   vam  neobhodima  informaciya,  proyasnite  dlya  sebya
sleduyushchie voprosy:
     - CHto nado uznat'?
     - Gde (i v kakom vide) mozhet byt' zhelaemaya informaciya?
     - Kto ee mozhet znat' ili dostat'?
     - Kak (i v kakom vide) ee mozhno poluchit'?
     CHetkie otvety   na   nachal'nye   voprosy  obespechivayut  ponimanie
poslednego,  tehnika resheniya  kotorogo  zavisit  kak  ot  sushchestvuyushchih
vneshnih uslovij,  tak i ot vashih znanij,  voli,  opyta, vozmozhnostej i
izobretatel'nosti.
     Poluchiv ishodnuyu fakturu, ee nadobno:
     - ocenit'  (po  stepeni  dostovernosti,  vazhnosti,   sekretnosti,
stykuemosti, vozmozhnosti ispol'zovaniya);
     - interpretirovat' (v svete drugih dannyh i glubinnoj  intuicii),
vyyaviv ee mesto v obshchej mozaike faktov;
     - opredelit', nadobna li (i kakaya) dopolnitel'naya informaciya;
     - effektivno  ispol'zovat' (uchest' v svoih planah,  peredat' komu
sleduet, priderzhat' do nuzhnogo momenta...).



     Nuzhnaya Vam informaciya mozhet byt':
     - otkrytoj (bolee ili menee dostupnoj);
     - poluzakrytoj (ne zasekrechennoj,  no kontroliruemoj  temi,  kogo
ona kasaetsya);
     - sekretnoj (polagaemoj  po  razlichnym  soobrazheniyam  klyuchevoj  v
opredelennyh situaciyah).
     Konfidencial'nuyu informaciyu   udaetsya    poluchat'    iz    ves'ma
raznoobraznyh  istochnikov,  bol'shuyu chast' kotoryh neiskushennyj chelovek
poprostu ne prinimaet vo vnimanie. Sleduet uchityvat' samye neveroyatnye
vozmozhnosti,  kakimi  by  nerealistichnymi  oni  ni  pokazalis',  ibo v
cepochke prohozhdeniya informacii inoj  raz  sluchaetsya  najti  potryasayushche
cennyj istochnik.
     Glavnymi nositelyami perspektivnyh materialov vsegda yavlyayutsya:
     - znayushchie lyudi;
     - dokumenty;
     - sredstva  besprovodnoj i provodnoj svyazi (telefony,  telefaksy,
radiostancii...);
     - elektronnye    sistemy    obrabotki   informacii   (komp'yutery,
elektricheskie pishushchie mashinki...);
     - raznye otslezhivaemye faktory (povedenie,  razgovory, rezul'taty
dejstvij.
     Vyjdya na tot ili inoj istochnik informacii, chetko proschitajte:
     - ego nalichnye i potencial'nye vozmozhnosti,
     - dopustimye predely ispol'zovaniya,
     - stepen' ego nadezhnosti.
     *Znayushchimi licami*,  v  chastnosti,  schitayutsya  te,  kto  bessporno
obladaet (ili mozhet obladat') nuzhnoj informaciej. K nim otnosyatsya:
     - *|kspert*.   |to  -  individ,  ch'i  professional'nye  znaniya  i
kontakty  (kak  rabota,  tak  i  hobbi)   obespechivayut   pervoklassnuyu
orientaciyu  v  razrabatyvaemom  voprose.  On  pozvolit  vam  po novomu
vzglyanut' na sushchestvuyushchuyu problemu,  vydast bazovye materialy, vyvedet
na  neizvestnye istochniki informacii.  Obshchaya nadezhnost' poluchaemyh pri
etom dannyh chashche vsego vysshaya.
     - *Vnutrennij  informator  (osvedomitel')*.  -  |to  - chelovek iz
gruppirovki  protivnika,  zaverbovannyj  i  postavlyayushchij  fakturu   po
material'nym,  moral'nym  i  inym vesomym dlya nego prichinam.  Cennost'
predstavlyaemyh im dannyh sushchestvenno zavisit  ot  ego  vozmozhnostej  i
motivov vydavat' nuzhnye svedeniya, vernost' kakovyh pri sootvetstvuyushchem
kontrole mozhet byt' dovol'no-taki vysokoj.
     - *"Goryachij"   informator*.   |to  -  lyuboj  znayushchij  chelovek  iz
storonnikov protivnika ili ego kontakterov, progovarivayushchij informaciyu
pod   vliyaniem   aktivnyh   metodik   vozdejstviya   v  stile  zhestkogo
forsirovannogo  doprosa,  pytki,  gipnoza,  shantazha  i  t.d.  Tak  kak
istinnost'   soobshchaemogo  v  dannom  sluchae  ne  garantirovana,  takaya
improvizaciya priemlema lish' v period ostroj neobhodimosti,  kogda  net
vremeni, zhelaniya ili vozmozhnostej "nyanchit'sya" s drugimi istochnikami. V
otlichie ot zaverbovannogo informatora lichnostnyj kontakt zdes' glavnym
obrazom odnomomenten.
     - *Vnedrennyj istochnik*. |to - svoj chelovek, tem ili inym manerom
prosochivshijsya  v okruzhenie ob容kta.  Cennost' postavlyaemyh im dannyh v
sushchnosti zavisit ot ego individual'nyh kachestv i  dostignutogo  urovnya
vnedreniya.
     - *Legkomyslennyj   informator   ("boltun")*.   |to   -   chelovek
protivnika,  kontakter ili lyuboe informirovannoe lico, progovarivayushchee
interesnye fakty v  delovoj,  druzheskoj,  kompanejskoj  libo  intimnoj
besede.   Promel'knuvshee  sluchajno  soobshchenie  mozhet  byt'  neobychajno
cennym,  hotya v obshchem-to  ne  isklyucheny  kak  bespechnaya  lozh',  tak  i
namerennaya dezinformaciya.
     - *Kontaktery*.   K   nim   otnosyat   vsyacheskih   lyudej    kak-to
kontaktiruyushchih   ili  nekogda  soprikasavshihsya  s  izuchaemym  ob容ktom
(chelovekom,  gruppoj,  organizaciej...). |to mogut byt' stabil'nye ili
sluchajnye   delovye   partnery,   rodstvenniki  i  priyateli,  sluzhashchie
servisa...  Naryadu  s  soobshcheniem  opredelennyh  faktov,   oni   mogut
sodejstvovat'  v podhode k ob容ktu ili zhe uchastvovat' v pryamom iz座atii
u nego interesuyushchej vas informacii.
     - *Soyuznik*. V dannom sluchae podrazumevaetsya chelovek libo nekaya -
obshchestvennaya,   gosudarstvennaya,    kriminal'naya...    -    struktura,
vystupayushchaya   kak  protivnik  ili  "nadziratel'"  ob容kta.  Uroven'  i
nadezhnost' otdavaemyh zdes' materialov zavisit ot nasushchnyh  interesov,
lichnyh vzaimootnoshenij i poznanij istochnika. Krome sovershenno novoj on
sposoben peredat' i podtverzhdayushchuyu informaciyu.
     - *Sluchajnyj    istochnik*.    Inogda    byvaet,    chto   kakoj-to
podvernuvshijsya  vam  individ   sovershenno   ne   rassmatrivaemyj   kak
potencial'nyj   informator,  vdrug  okazyvaetsya  nositelem  unikal'noj
faktury.  Inoj  raz  tak  mozhet  obnaruzhit'sya  i  dotole   neizvestnyj
kontakter  libo  soyuznik.  Vvidu  yavnoj  nepredskazuemosti  na  takogo
cheloveka ne osobenno rasschityvayut, no sluchajno zacepiv - razrabatyvayut
do predela.
     *V gruppu zafiksirovannyh materialov vhodyat*:
     - *Oficial'nye  dokumenty*.  K  nim  prinadlezhat  lichnye  dela  i
medicinskie karty, dokladnye, ob座asnitel'nye zapiski i pis'ma v raznye
instancii,    vsevozmozhnye   zadokumentirovannye   dannye,   sobrannye
oficial'nymi  (otdel  kadrov,  zhilkontora,  miliciya...)  sluzhbami   ob
interesuyushchem   Vas   lice   ili   organizacii.   Naryadu   s   obzornym
predstavleniem zdes' mozhno  najti  i  prochie  svedeniya,  poleznye  pri
detal'noj   razrabotke  vsyakogo  ob容kta.  Siya  informaciya  pochitaetsya
dostatochno nadezhnoj, hotya ne isklyuchena i namerennaya fal'sifikaciya.
     - *Delovye bumagi i arhivy*.  |to vsevozmozhnye dogovory,  otchety,
faksy,   pis'ma,   metodichki,   vnutrennie   telefonnye   spravochniki,
memorandumy i prochie bumagi,  svyazannye s delovoj aktivnost'yu cheloveka
ili    organizacii.    Oni    predstavlyayut    pervosortnyj    istochnik
konfidencial'noj   informacii,  pozvolyayushchej  orientirovat'sya  v  delah
ob容kta,  proyasnyat' ego  namereniya  i  metody  raboty,  prognozirovat'
postupki i vozmozhnosti, vyyavlyat' funkcionerov i svyazi... Dostovernost'
informacii pri etom preimushchestvenno vysshaya.
     - *Nositeli   mashinnoj   informacii*.   Optimal'nym   istochnikom,
sushchestvuyushchim  vo  mnogih  organizaciyah,  predstavlyaetsya  bank  dannyh,
zanesennyj v |VM. Svedeniya hranimye tam zafiksirovany na neizvlekaemyh
(zhestkih diskah) ili izvlekaemyh (gibkih diskah) magnitnyh nositelyah i
sposobny   vyvodit'sya  na  bumazhnuyu  raspechatku  (listingi).  Vprochem,
osnashchenie firmy komp'yuterami v  obshchem-to  ne  oznachaet,  chto  oni  tam
effektivno pol'zuyutsya ili chto v nih est' cennaya informaciya.
     - *Lichnye bumagi i arhivy*.  V etot zamechatel'nyj  nabor  faktury
vhodyat zapisnye knizhki, raznye pometki na listkah kalendarya, druzheskie
i intimnye pis'ma,  pozdravitel'nye  otkrytki,  fotografii,  audio-  i
videozapisi,  dnevniki  i  t.d.  Takie  dannye  poprostu neocenimy pri
aktivnoj razrabotke vyzvavshego interes ob容kta s tshchatel'nym vyyavleniem
ego   kontaktov   i   polnym   ponimaniem  real'nyh  vozmozhnostej  dlya
posleduyushchego ustraneniya, shantazha, manipulirovaniya ili verbovki.
     - *"Musor"*.   Vybroshennye   razorvannye   chernoviki  i  mashinnye
raspechatki,  sigaretnye korobki i  bumazhnye  obryvki  s  vsevozmozhnymi
pometkami, porchennye    kopii   i   sluchajnye   podkladochnye   listki,
otrabotannaya kopiroval'naya bumaga i ispol'zovannye  lenty  ot  pishushchih
mashinok  -  vse  eto  v  rukah  umelogo  sub容kta mozhet prevratit'sya v
potryasayushchie  dokumenty,  prichem  dobyvat'  takie  materialy  inoj  raz
znachitel'no spodruchnee, chem originaly.
     - *Obnarodovannye  svedeniya*.   K   nim   otnosyatsya   otlovlennye
publikacii v gazetah i zhurnalah,  radio- i telesyuzhety, chitannye gde-to
lekcii  i  vystupleniya...  Takie  istochniki  znakomyat   s   kuluarnymi
materialami,  otkryvayut novyh nositelej informacii i zametno sokrashchayut
trud po razrabatyvaniyu ob容kta.  Kachestvo  faktury  zdes'  znachitel'no
zavisit kak ot kompetentnosti i pobuzhdenij avtora,  tak i ot namerenij
i reputacii teh, kto konkretno predostavil emu slovo.
     - *Podmetnye  pis'ma i samizdat*.  Lyubopytnejshuyu informaciyu mogut
soderzhat' tirazhirovannye tem ili  inym  sposobom  listovki,  obrashcheniya
libo zametki, kakovye ne hotyat, da i ne mogut izdavat' oficial'no. Vse
eto  zabrasyvaetsya  v  narod  s  cel'yu  oporochit'   nekoe   lico   ili
organizaciyu, oznakomit' s polozheniem del v konkretnoj oblasti, vyzvat'
smutu i razbrod v myshlenii obyvatelej.  Teksty podobnogo roda inoj raz
podpisyvayutsya  sushchestvuyushchimi  licami,  gruppirovkami  i organizaciyami,
inogda pripisyvayutsya im,  a chashche vsego  -  figuriruyut  kak  anonimnye.
Fakty, soderzhashchiesya tam proyavlyayutsya na urovnyah pravdy, pravdopodobiya i
yavnoj dezinformacii.  Tak  kak  stepen'  dostovernosti  pervoistochnika
sovershenno   neopredelyaema,   pol'zovat'sya   takimi   dannymi  sleduet
predel'no ostorozhno,  v obshchem-to ne otmetaya, no i ne udelyaya im osobogo
vnimaniya.   Bolee  informativnymi  zdes'  mogut  okazat'sya:  sam  fakt
hozhdeniya podobnyh materialov, otnoshenie k nim razlichnyh lic, gruppovaya
prinadlezhnost' ih rasprostranitelej...
     Unikal'nye vozmozhnosti dlya nezametnogo iz座atiya samyh  raznotipnyh
dannyh   inoj   raz  predostavlyayut  tehnicheskie  sredstva  peredachi  i
obrabotki  informacii,  koi,  obladaya   elektromagnitnoj   specifikoj,
pozvolyayut  provodit' zhelannyj perehvat na ves'ma prilichnom udalenii ot
ob容kta.  Vvidu  yavnoj  perspektivnosti,  absolyutnoj  bezopasnosti   i
otnositel'noj   neslozhnosti,   podklyuchenie  k  takim  kanalam  v  nashe
tehnotronnoe vremya vsegda rassmatrivaetsya kak odin iz samyh  vazhnyh  i
real'nyh putej polucheniya trebuemyh materialov:
     - *Telefon*.  Buduchi  naibolee   rasprostranennym   instrumentom,
obespechivayushchim  chelovecheskoe obshchenie,  telefon sposoben legko vydavat'
sekrety svoego vladel'ca.  Interesno,  chto pri etom mozhno  slushat'  ne
odni  lish'  telefonnye  peregovory,  no  i to,  chto govoryat v zakrytoj
komnate pri polozhennoj na rychag trubke.
     - *Telegraf,  teletajp,  telefaks*.  Po  kanalam  etih  apparatov
cirkuliruet kak graficheskaya tak i znakovaya  informaciya,  vyvodimaya  na
bumazhnye  nositeli,  chto  ves'ma  udobno  v  delovyh vzaimootnosheniyah.
Perehvat podobnyh materialov zaprosto  osushchestvlyaetsya  podklyucheniem  k
provodnym   liniyam   svyazi,   a  poroyu  i  beskontaktno,  opirayas'  na
osobennosti  raboty   specificheskoj   priemno-peredayushchej   apparatury.
Slozhnosti   mogut   vozniknut'   tol'ko  pri  ispol'zovanii  hozyaevami
special'nyh sredstv zashchity prohodyashchej informacii.
     - *Personal'nye   radiostancii*.   Primenyaemye  dlya  sluzhebnoj  i
grazhdanskoj radiosvyazi onye modeli otlichayutsya  efirnoj  obnazhennost'yu.
Pri  neispol'zovanii  ob容ktom  mer zashchity i nalichii u vas podhodyashchego
radiopriemnika,  oni pozvolyayut ochen' legko  i  nezametno  pronikat'  v
poznaniya i namereniya kontroliruemogo ob容kta.
     - *Komp'yuter*.  |tot unikal'nyj elektronnoj mehanizm dlya hraneniya
i  obrabotki  informacii  imeetsya v kazhdoj delovoj organizacii.  Bolee
togo,  komp'yutery otdel'nyh struktur svyazany mezhdu  soboj  posredstvom
telefonnoj  seti,  chto  neredko  pozvolyaet izymat' iz nih fakturu dazhe
prebyvaya v drugom gorode.  V hode vyvoda dannyh na ekran  displeya,  ih
mozhno nezametno schityvat' kak beskontaktno (cherez radioizluchenie), tak
i kontaktno (za  schet  podklyucheniya  k  komp'yuternoj  seti  ili  kabelyu
pitaniya).  Dostovernost'  poluchaemyh pri etom materialov,  razumeetsya,
predel'no vysshaya.
     - *Sotovye i trankovye radiosistemy*. Dannye mobil'nye ustrojstva
dlya slovesnogo (radiotelefon) i  znakovogo  (pejdzher)  obshcheniya  ves'ma
udobny  v  obrashchenii,  no otkryty dlya obychnogo efirnogo radioperehvata
sootvetstvuyushchim skanerom  (esli  net  zashchitnogo  kodirovaniya...)  libo
"dvojnikom" ispol'zuemogo apparata.



     Pod otslezhivaemymi     faktorami    podrazumevayut    akusticheskoe
(podslushivanie), vizual'noe  (slezhka)  i  mental'noe  (analizirovanie)
nablyudenie za ob容ktom.
     - *Podslushivanie*.  Tajno slushat' mozhno kak formal'nye (delovye),
tak  i neformal'nye (druzheskie i intimnye) razgovory.  Blagodarya etomu
udaetsya uznavat' potryasayushchie fakty i  pobochno  vyyavlyat'  perspektivnye
kontakty  cheloveka  (organizacii),  proyasnyat'  ih  celi  i  namereniya,
ponimat' obraz myshleniya dejstvuyushchih lic vkupe s ih obychnymi  reakciyami
na   sobytiya...   Skrytnoe   proslushivanie   prinyato   osushchestvlyat'  s
primeneniem   tehnicheskih   sredstv   ("ozhivlyaemogo"   telefona,   kak
napravlennyh,     tak    i    kontaktnyh    mikrofonov,    raznotipnyh
radiozakladok)...  no  inoj  raz  i  bez  takovyh   (nahodyas'   vblizi
beseduyushchih).
     - *Tajnoe nablyudenie*. Nablyudat' prihoditsya kak za individom, tak
i  za stacionarnym ob容ktom.  Skrytnoe slezhenie za chelovekom pozvolyaet
vyyasnit' ego kontakty,  mesta vstrech,  marshruty, yavnye privychki, obraz
zhizni  i  vse  prochie  aspekty  neobhodimye  pri  detal'noj razrabotke
nekoego lica ili  organizacii.  Nablyudenie  za  stacionarnym  ob容ktom
obespechivaet kontrol' posetitelej i yavlyaetsya standartnym v hode poiska
skryvayushchejsya osoby.
     - *Zasekanie    sluhov*.    |ti    nepodtverzhdaemye    soobshcheniya,
cirkuliruyushchie v  opredelennyh  kontingentah  lyudej  polezny  tem,  chto
namekayut  na predpolagaemye znaniya i ozhidaniya sredy ("sluh snizu"),  a
inoj raz i na igry teh ili inyh sil ("sluh sverhu").  V  sushchnosti  oni
dovol'no dostoverny, hotya chasto v chem-to iskazheny. Koj-kakuyu tshchatel'no
skryvaemuyu informaciyu udaetsya uznavat' tol'ko iz neyasnyh sluhov.
     - *Proyasnenie  obraza  dejstvij*.  Analiziruya  reakcii ob容kta na
slova  i  povedenie  razlichnyh  lyudej,  na  obychnye  i   ekstremal'nye
obstoyatel'stva,  mozhno  dovol'no  tochno  opredelit' ego celi i motivy,
sily   i   slabosti,   uroven'    podverzhennosti    chuzhomu    vliyaniyu,
informirovannost', klyuchevyh partnerov, metody ispol'zuemyh dejstvij...
Vse eto daet vozmozhnost' prognozirovat' fakticheskoe povedenie cheloveka
ili gruppy v samyh raznyh situaciyah,  chto, v konechnom schete, pozvolyaet
effektivno upravlyat' imi.



     V kachestve   ispol'zuemogo   ob容kta   mozhet   vystupat'    lyuboe
perspektivnoe  lico  -  chlen vrazhduyushchej gruppirovki,  edinichnyj igrok,
kontakter, soyuznik... - obladayushchee lyubopytnoj informaciej.



     Tak kak vsyakij individ v demonstriruemom  povedenii  napravlyaetsya
opredelennymi   pobuzhdeniyami,   ponimanie   takovyh  daet  vozmozhnost'
podobrat' k nemu klyuchi i v itoge poluchit' neobhodimye dannye.
     O motivah  nekoego  cheloveka  uznayut  putem ego izucheniya,  prichem
sleduet uchityvat'  i  stepen'  vyrazhennosti  (ochen'  sil'no,  dovol'no
sil'no, slabo) etih pobuzhdenij.
     Harakternye motivy  vydachi  individom  specifichnoj  informacii  i
vozmozhnye puti ih utilizacii takovy:
     1. Alchnost'.  (Obeshchanie  ili  zhe  predostavlenie  deneg  i   inyh
material'nyh cennostej).
     2. Strah za sebya.  (SHantazhirovanie,  a poroyu i ugroza  libo  fakt
grubogo fizicheskogo ili utonchennogo psihologicheskogo vozdejstviya).
     3. Strah za svoih blizkih.  (YAvnaya ugroza libo fakt  raznotipnogo
nasiliya  -  v  duhe  pohishcheniya,  izbieniya,  iznasilovaniya,  kastracii,
"sazhaniya na iglu", polnogo fizicheskogo ustraneniya... )
     4. Faktor  boli.  (Kachestvennaya  pytka  ili  ugroza  intensivnogo
bolevogo vozdejstviya).
     5. Seksual'naya  emocional'nost'.  (Lovkoe  podsovyvanie  polovogo
partnera  i  razlichnoj  pornografii  s  perspektivoj   "rasslableniya",
shantazha ili obmena).
     6. Bezrazlichie.  (CHetkaya  realizaciya  depressii,  voznikayushchej   v
rezul'tate  inspirirovannyh ili spontannyh zhiznennyh obstoyatel'stv,  a
inoj raz i v rezul'tate psihofizicheskoj obrabotki ob容kta).
     7. Vnutrennij  avantyurizm.  (Predostavlenie  shansov  individu dlya
vedeniya im svoej igry).
     8. Schety  s  gossistemoj  ili organizaciej.  (Umnoe ispol'zovanie
ideologicheskih raznoglasij i sushchestvuyushchej neudovletvorennosti  ob容kta
svoim nyneshnim polozheniem libo zavtrashnej perspektivoj).
     9. Schety  s  konkretnymi  licami.  (Razzhiganie  takih  negativnyh
chuvstv kak mest', zavist' i nepriyazn' s nepreodolimym zhelaniem nanesti
"vragu" opredelennyj ushcherb).
     10. Nacionalizm.  (Igra na glubinnom oshchushchenii nekoej nacional'noj
obshchnosti; nenavisti, gordosti, isklyuchitel'nosti).
     11. Religioznye chuvstva. (Probuzhdenie nepriyazni k "inovercam" ili
zhe  privyazyvanie   opredelennoj   situacii   k   izbrannym   doktrinam
ispoveduemoj religii).
     12. Grazhdanskij dolg. (Igra na zakonoposlushnosti).
     13. Obshchechelovecheskaya moral'. (Igra na poryadochnosti).
     14. Podsoznatel'naya potrebnost' v  samouvazhenii.  (Spekulyaciya  na
ideal'nyh predstavleniyah cheloveka o samom sebe).
     15. Korporativnaya (klanovaya) solidarnost'.  (Igra  na  konkretnoj
elitarnosti).
     16. YAvnaya simpatiya k  poluchatelyu  ili  ego  delu.  ("Rezoniruyushchaya
podstrojka k ob容ktu").
     17. Tshcheslavie.   (Provocirovanie   zhelaniya   ob容kta   proizvesti
opredelennoe vpechatlenie, pokazat' svoyu znachimost' i osvedomlennost').
     18. Legkomyslie.  (Privedenie cheloveka v bezzabotnejshee sostoyanie
neosmotritel'nosti   i   boltlivosti.   K   etomu   zhe  mozhno  otnesti
zadejstvovanie "hronotopa" - yavno povyshennoj doverchivosti  cheloveka  v
nekoe vremya i v opredelennom meste ("sluchajnyj poputchik").
     19. Ugodlivost'.  (CHetkaya realizaciya podsoznatel'noj (volevoj)  i
osoznannoj (delovoj i fizicheskoj) zavisimosti ob容kta ot poluchatelya).
     20. "Pomeshatel'stvo"  na  chem-libo.  (Blizkaya   vozmozhnost'   dlya
kollekcionera  priobresti (ili poteryat') strastno zhelaemuyu veshch';  igra
na fobiyah...)
     21. Neskryvaemyj  raschet poluchit' opredelennuyu informaciyu vzamen.
(Tehniki "bash na bash" ili "vozhdenie za nos").
     22. Strastnoe stremlenie ubedit' v chem-libo, izmenit' otnoshenie k
chemu-libo (ili komu-libo),  pobudit' k opredelennym dejstviyam. (Metody
"zaglatyvanie nazhivki" i "obratnoj verbovki").
     Razobravshis' v  psihologii   zondiruemogo   ob容kta   i   otmetiv
upravlyayushchie  im  motivy,  mozhno vyjti na konkretnye priemy i metodiki,
sposobnye "raskolot'" opredelennogo cheloveka.



     Svedeniya u  perspektivnyh  informatorov  udaetsya  poluchat'   libo
razovo, libo provedya ih verbovku, postoyanno.
     |ffektivnymi sredstvami  izvlecheniya   iz   sub容ktov   informacii
yavlyayutsya:
     1. Podkup  (obeshchanie  ili  peredacha  deneg  i  inyh  material'nyh
cennostej, kak, vprochem, i sodejstvie v chem-libo).
     2. SHantazh   (na   real'noe,   na   sfabrikovannoe,   na   ob容kty
uyazvimosti...).
     3. ZHestkaya   ugroza   libo   fakt   kak   fizicheskogo,   tak    i
psihologicheskogo vozdejstviya.
     4. Specificheskij  forsirovannyj  dopros  (posle  predvaritel'nogo
pohishcheniya ili okolpachivaniya):
     - pytkodopros (postepennoe nagnetanie oshchushcheniya i ozhidaniya boli);
     - seksodopros   (obespechivanie   i   ekspluataciya  nepreodolimogo
polovogo zhelaniya);
     - iglodopros   (vyzyvanie   narkoticheskoj  lomki  i  obeshchanie  ee
preryvaniya);
     - narkodopros    (vvod    osobyh   narkoticheskih   preparatov   i
"raskalyvanie" pri pomrachenii soznaniya);
     - gipnodopros     (vvedenie     v     gipnoticheskoe    sostoyanie,
harakterizuemoe ischezaniem samokontrolya).
     5. Seksual'naya    podstavka    (podvedenie   intim-partnera   dlya
vospriyatiya poleznoj informacii,  libo dlya  sodejstviya  drugim  priemam
effektivnogo vliyaniya, vrode shantazha, doprosa, ugovarivaniya...).
     6. Igra  na  emociyah  (razzhiganie  lyubvi,  nenavisti,   revnosti,
tshcheslaviya i prochih osleplyayushchih chuvstv,  pod naporom kakovyh shchekotlivaya
faktura soobshchaetsya "sduru", "sgoryacha" ili "nazlo" komu-libo).
     7. "Vyuzhivanie  vtemnuyu"  (izvlechenie  informacii  v  hode  lovko
provedennogo doprosa ili razgovora):
     - "promezhdu   prochim"   (pooshchrenie   sostoyaniya  estestvennoj  ili
inspirirovannoj boltlivosti);
     - "igra    na   kosvennyh"   (reakciya   ob容kta   na   special'no
podgotovlennye voprosy);
     - "blef"  (sozdanie  vpechatleniya,  chto  vy znaete bol'she,  chem na
samom  dele,  v  rezul'tate   chego   chelovek   ne   vidit   dal'nejshej
neobhodimosti skryvat' chto-libo);
     - "parallel'" (provedenie temy yavno sposobnoj vyzyvat' u  ob容kta
nekie associacii s tem, chto vas interesuet);
     - "konsul'taciya" (pros'ba o sodejstvii sebe ili  komu-libo  posle
privedeniya ob容kta v sostoyanie blagodushiya i druzhelyubiya);
     - "professional'nyj  razgovor"   (vydacha   faktury   po   prichine
vospriyatiya vas kak "kollegi").
     8. Celevoj  obmen  informaciej   (vzaimoobmen   dannymi,   sleduya
kotoromu  nadobno dat' minimum,  a poluchit' maksimum,  prichem otdavat'
zhelatel'no lish' te  fakty,  kakovye  vam  ne  prinesut  potencial'nogo
vreda).
     9. Ubezhdenie (umno skroennaya beseda s emocional'no-logicheskim ili
zhe   inym   obosnovaniem  poleznosti  oznakomleniya  vas  s  nekotorymi
svedeniyami).
     10. Farmakologicheskoe  vozdejstvie (polnost'yu zavualirovannoe,  a
inoj raz i otkrovennoe primenenie himicheskih preparatov, sozdayushchih ili
zhe  usilivayushchih  neobhodimoe  dlya  provedeniya osnovnogo priema fonovoe
sostoyanie  ob容kta,  takovoe  kak  boltlivost',   druzhelyubie,   strah,
bezvolie, seksual'noe vozbuzhdenie...).
     Praktika vseh etih priemov obrisovana v razdelah,  predstavlyayushchih
metodiki vozdejstviya na cheloveka i modeli effektivnogo obshcheniya.



     Naibolee raznostoronnyuyu  i  poleznuyu  informaciyu o delah kakoj-to
gruppirovki udaetsya poluchit',  zaverbovav ee uchastnika  libo  podsadiv
tuda doverennogo cheloveka.
     Razrabatyvaya konkretnogo  individa,  trebuemyj  podhod,  k   nemu
osushchestvlyayut,  privlekaya  cheloveka  iz  ego  blizhajshego okruzheniya libo
podstavlyaya emu svoego agenta.
     Metody verbovki  i  obshcheniya  s  zaverbovannym vklyucheny v razdel o
"privlechenii k sotrudnichestvu",  zdes' zhe my razberem lish' specifichnye
aspekty optimal'nogo vnedreniya.
     Gluboko vnedryat'  mozhno   kak   sotovarishcha,   tak   i   tshchatel'no
podobrannogo  po  razlichnym  (individual'nye  kachestva,  social'nye  i
rodstvennye svyazi,  proshloe,  lichnaya zainteresovannost'...) parametram
naemnogo cheloveka.
     *Sushchestvuyut dva podhoda k ob容ktu*:
     - pod svoim sobstvennym imenem;
     - s  lipovymi  dokumentami   i   legendoj.   (Vvidu   veroyatnosti
sluchajnogo ili namerennogo razoblacheniya,  takovoj agent,  kak pravilo,
ne dolzhen  imet'  obshirnyh  social'nyh,  rodstvennyh  i  ekonomicheskih
svyazej,   byt'   iz   otdalennogo   rajona  i  ne  proyavlyat'  izlishnyuyu
sentimental'nost'...)
     *Razlichayutsya tri urovnya vnedreniya*:
     - tihoe  prisutstvie  na  obshchih  sborah  v  kachestve   storonnego
nablyudatelya;
     - nekoe uchastie v delah razrabatyvaemogo soobshchestva;
     - celevoj prohod v rukovodyashchee zveno vrazheskoj komandy.
     *Pronikaya v razrabatyvaemuyu organizaciyu pribegayut k nizhesleduyushchim
priemam*:
     1. Zavedenie znakomstva s yavnym  ili  predpolagaemym  kontakterom
libo  chlenom  gruppirovki,  kotoryj  po  cepochke  peredaet vnedryaemogo
centrovomu  ob容ktu.  ("Cel'  posledovatel'noj  peredachi"  zavisit  ot
zakrytosti  organizacii  i  obychno  sostoit  iz  odnogo ili neskol'kih
zven'ev,  a sposoby  zavyazyvaniya  znakomstva  predstavleny  v  razdele
povestvuyushchem o verbovke.)
     2. Vhod  v  kontakt  s  funkcionerami  ob容kta  s  vyzyvaniem   u
poslednih  interesa  predlozheniem  perspektivnogo  dela,  obosnovaniem
svoej poleznosti, soobshcheniem vazhnoj informacii...
     3. Pred座avlenie   real'nyh  ili  sfabrikovannyh  rekomendacij  ot
kakih-to lic,  ne sostoyashchih v dannoj komande,  no zametno uvazhaemyh ee
liderami.
     4. Lovkaya podmena nastoyashchego poslanca ot  izvestnoj  parallel'noj
organizacii libo ot otsutstvuyushchego v etot moment chlena komandy.
     5. Vystupanie  v  roli  emissara  nesushchestvuyushchej  ili  special'no
sozdannoj organizacii.
     6. Intensivnoe vozdejstvie  -  shantazh,  podkup,  ubezhdenie  -  na
kakogo-libo  uyazvimogo  uchastnika gruppirovki,  predpisyvaya emu reshit'
vashu problemu.
     7. Afishirovannaya   "izmena"   nekomu   soperniku  ili  protivniku
organizacii.
     8. Ispol'zovanie (ili sozdanie) zatrudnenij v rabote ob容kta, ili
v personal'nyh delah  ego  funkcionerov  s  effektivnym  okazaniem  im
neozhidannoj pomoshchi.
     9. Pobuzhdenie ob容kta samomu iskat' kontaktov s podstavlyaemym emu
chelovekom.  (Probnoe "zabrasyvanie nazhivki" zdes' osushchestvlyaetsya putem
sfabrikovannyh  pisem,  pokaznyh  akcij,  inspirirovannyh  publikacij,
vkupe  s  zapuskom  sluhov  i  "sluchajnyh"  progovarivanij  o kakih-to
vozmozhnostyah i  poznaniyah  vnedryaemogo,  sposobnyh  pomoch'  v  reshenii
konkretnyh problem kak organizacii, tak i ee liderov.)
     10. Opublikovanie stat'i v gazete libo zhurnale (variant -  vypusk
knigi  ili broshyury),  sozvuchnogo,  sochuvstvennogo ili perspektivnogo s
tochki zreniya protivnika soderzhaniya,  i  ispol'zovanie  ee  v  kachestve
propuska dlya proniknoveniya v interesuyushchuyu strukturu.
     *Dlya bystrejshego prodvizheniya vnutri gruppirovki neobhodimo*:
     - proyavit'   aktivnost'   v  gruppovyh  dejstviyah  i  byt'  ochen'
ispolnitel'nym funkcionerom;
     - obratit'  na  sebya  vnimanie  nekoego  cheloveka iz rukovodyashchego
zvena komandy s pomoshch'yu ego druzej i  rodstvennikov,  effektivnosti  i
koloritnosti svoih dejstvij, vernosti, potakaniya ego slabostyam...;
     - derzkimi i krasochnymi akciyami obresti znachitel'nuyu populyarnost'
u svoih "soratnikov";
     - postarat'sya stat'  nezamenimym,  postepenno  skoncentrirovav  v
svoih rukah vazhnye operativnye funkcii;
     - byt' otmenno informirovannym v  samyh  raznyh  voprosah,  chtoby
vsegda predstavit' nuzhnye komu-to svedeniya, libo vyskazat' neobhodimyj
del'nyj sovet;
     - imet'  tochnoe  dos'e na vseh teh,  kto pol'zuetsya v organizacii
opredelennym  avtoritetom  i  pri  neobhodimosti  okazyvat'   na   nih
doziruemoe davlenie;
     - sdelat' stavku na perspektivnogo funkcionera  i,  proyaviv  sebya
neobhodimym  dlya  nego  chelovekom,  sposobstvovat'  ego  vydvizheniyu  v
lidery;
     - vyyavit'  nedobrozhelatelej i horosho osoznav prichiny ih nepriyazni
libo diskreditirovat' sih lic (raspuskaya opredelennye sluhi i  provodya
sootvetstvuyushchie akcii),  libo prevratit' ih v dobrozhelatelej (metodami
"knuta i pryanika").



     Nuzhnuyu fakturu,  obretaemuyu v nekotoryh dokumentah mozhno poluchit'
libo  poluchiv  sam  original  ili ego kopiyu,  libo oznakomivshis' s ego
soderzhaniem po otdel'nym dostovernym svidetel'stvam.



     V hode  dobyvaniya  neobhodimyh  dokumentov  prinyato  ispol'zovat'
takie priemy kak:
     - tajnoe proniknovenie v mesto hraneniya nositelya (po  vozmozhnosti
ne ostavlyaya nikakih sledov libo vynuzhdeno imitiruya zauryadnuyu krazhu);
     - "raspechatyvanie"  mesta  hraneniya   sozdaniem   ili   imitaciej
avarijnogo  (pozhar,  zatoplenie...)  sostoyaniya  s pronikaniem tuda pod
vidom  spasatelej;
     - kratkovremennyj zahvat nuzhnogo pomeshcheniya;
     - perehvat (krazha, vymogatel'stvo, razboj, podkup...) dokumenta v
hode  ego  peresylki  ili  peredachi (tehnika osushchestvleniya perehvata v
sushchnosti zavisit ot ispol'zuemogo dlya akcii zvena na puti  peremeshcheniya
nositelya,   peresylka   kakovogo   mozhet  byt'  kak  planovoj,  tak  i
inspirirovannoj;
     - podklyuchenie   tret'ih  lic  (kontakterov  ili  professionalov),
zainteresovav ih v dostavlenii vam (a vozmozhno chto i v  dobyvanii  dlya
sebya) nekoego dokumenta;
     - moshchnoe davlenie (shantazh,  podkup...) na  cheloveka,  obladayushchego
dostupom k nositelyu informacii libo k mestu ego hraneniya;
     - trebovanie   dokumenta   ili   ego   kopii   s   pravdopodobnym
obosnovaniem - sovmestnoe delo, social'naya bezopasnost', vedomstvennyj
kontrol'... - nuzhnosti sego dlya ego hranitelej.
     CHtoby neskol'ko  sbit'  s  tolku kak vladel'ca,  tak i dobyvatelya
dokumenta,  trebuemuyu fakturu ne meshaet izymat' vmeste s  bespoleznymi
nositelyami.
     Skrytnoe kopirovanie  -  kserografiyu,  fotos容mku...   -   dolzhno
primenyat' esli:
     - vazhno skryt' tot fakt,  chto vpolne opredelennyj  dokument  yavno
zainteresoval kogo-to i teper' okazalsya u drugih;
     - nado obezopasit'  postavshchika  ili  metod  polucheniya  dostupa  k
nositelyu;
     - vazhno tol'ko soderzhanie, a ne sam original.
     Esli vas  interesuet  tol'ko soderzhanie dokumenta ili zhe sam fakt
ego sushchestvovaniya,  mozhno udovletvorit'sya  "mental'nym  kopirovaniem",
poprostu  zapominaya  fakturu nositelya,  a zatem fiksiruya ee na bumage.
Harakternymi priemami pri etom yavlyayutsya:
     - oficial'nyj    vizit   vashego   agenta,   vydayushchego   sebya   za
predstavitelya nekoej obshchestvennoj,  kommercheskoj  ili  gosudarstvennoj
sluzhby    (medika,    reklamnogo   agenta,   sociologa,   kommersanta,
zhurnalista...) s pravomochnoj pros'boj o prosmatrivanii teh bumag sredi
kotoryh soderzhitsya nuzhnyj vam dokument;
     - podklyuchenie sotrudnikov i kontakterov ob容kta (chto  ispol'zuemo
lish'  togda,  kogda  u  nih  otlichnaya  pamyat'  i  net  vidimyh  prichin
"zalozhit'" vas ili perevrat' to, chto oni mogli uvidet').



     Zavladet' chuzhim  pochtovym  otpravleniem  -  pis'mom,  banderol'yu,
posylkoj - mozhno:
     - u    otpravitelya    (krazha    posredstvom    kontakterov    ili
professionalov,  gruboe  razbojnoe napadenie,  izymanie pochty iz yashchika
pri operativnom vizual'nom nablyudenii za ob容ktom, raznotipnye iz座atiya
v pochtovom otdelenii...);
     - v puti (perehvat libo podkup kur'era,  silovoj zahvat ili  ugon
pochtovoj avtomashiny...);
     - u  poluchatelya  (v  mestnom  otdelenii  svyazi,   putem   podkupa
pochtal'ona; iz pochtovogo yashchika, v hode ego postoyannogo prosmatrivaniya;
v dome u adresata, cherez ego kontaktera...).
     *Pri skrytom izvlechenii informacii* iz obychnyh zapechatannyh pisem
(t.e. perlyustracii ih) primenyayutsya takie priemy kak:
     - moshchnoe  prosvechivanie  i fotografirovanie pis'ma bez vskryvaniya
konverta (chtoby chitat' poluchennye takim obrazom kopii nuzhen  nekotoryj
navyk, ibo stroki vyyavlyayutsya chastichno perevernutymi i nalozhennymi drug
na druga);
     - vremennoe   (sekund   na   30)   oprozrachivanie   konverta  pri
obryzgivanii ego special'nym spreem (RK 705, 1A-4...);
     - gruboe  vskrytie s posleduyushchej zamenoj povrezhdennogo konverta i
s fabrikaciej imeyushchihsya na originale pechatej i nadpisej;
     - lovkoe  vytyagivanie  navernutogo na kostyanuyu spicu pis'ma cherez
malen'kuyu shchel' v uglu konverta;
     - ostorozhnoe  vskrytie  i  predel'no osmotritel'noe zapechatyvanie
poslaniya.
     Nezhnoe vskryvanie   konvertov   izdavna  osushchestvlyayut  s  pomoshch'yu
izyashchnyh kostyanyh instrumentov  i  obychnogo  vodyanogo  para.  V  dannom
sluchae  luchshe upotreblyat' ploskuyu podogrevaemuyu snizu poverhnost',  na
kotoroj razmeshchayut uvlazhnennuyu promokatel'nuyu  bumagu,  vydelyayushchuyu  pri
posleduyushchem nagreve razmyagchayushchij klej par. Poverh vsego etogo i kladut
vskryvaemoe pis'mo.
     V parallel'nom variante uvlazhnennye poloski promokatel'noj bumagi
ili  porolona  vozlagayut  tol'ko  na  zakleennye  poverhnosti,  a  dlya
sozdaniya para pribegayut k pomoshchi obychnogo utyuga. Proshche vsego, vprochem,
vospol'zovat'sya struej para ishodyashchego iz nosika kipyashchego chajnika.
     Esli podozrevaetsya,  chto otpravitel' upotrebil nevidimye chernila,
izvlechennoe poslanie tshchatel'no  razmeshchayut  mezhdu  dvumya  podvergshimisya
obrabotke   goryachim   parom   listkami   bumagi,  i  vodvoryayut  dannyj
"buterbrod" pod press  s  tem,  chtoby  chast'  zadejstvovannoj  "himii"
pereneslas' na kopii-podlozhki, s kotorymi mozhno rabotat' dlya vyyavleniya
tajnopisi. Original pri etom vneshne ne menyaetsya.
     Snyav informaciyu    i   skopirovav   pis'mo,   konvert   tshchatel'no
zapechatyvayut,  pri pomoshchi myagkih vatnyh tamponov i prozrachnogo (no  ne
silikatnogo!) kleya.



     K "musoru"  obychno  otnosyat  razlichnye  pometki na ispol'zovannyh
sigaretnyh pachkah i obryvkah gazet, smyatye i razorvannye bumagi, tekst
na  koih  mozhet  byt' zacherknut ili zhe zalit krasitelyami,  raznotipnye
listki,  nenarokom  okazavshiesya  (ili  special'no  pomeshchennye...)  pod
nositelyami pri zapisyah na originalah, otrabotannye "kopirki", listingi
i katushki staryh lent ot pishushchih mashinok..
     Tak kak na banal'nyj "musor" redko obrashchayut pristal'noe vnimanie,
izymanie ego pochti ne zamechaetsya i osushchestvlyaetsya  znachitel'no  proshche,
prichem  kak iz zakrytogo pomeshcheniya (viziterom,  servisnym remontnikom,
uborshchicej,  sotrudnikom...),  tak  i   vne   takovogo   (na   musornoj
svalke...). Dlya chteniya obnaruzhennyh takim obrazom materialov primenyayut
nizhesleduyushchie priemy:
     *Vosstanovlenie razorvannyh dokumentov*:
     - raspryamite i razglad'te vse razorvannye klochki bumagi;
     - tshchatel'no rassortirujte ih po cvetu i tipu nositelya, po okraske
shtrihov i po sposobu pis'ma;
     - otberite raznye obryvki s rovnymi krayami i, udobno razmestiv po
uglam te, chto imeyut uglovye obrezy, vylozhite iz nih ramku;
     - akkuratno  zapolnite  obrazovavsheesya  prostranstvo  podhodyashchimi
chastyami,  orientiruyas' po liniyam sgiba i razryva,  polozheniyu shtrihov i
soderzhaniyu teksta...
     Vsyu etu rabotu horosho by vypolnyat' na kuske stekla,  a  priemlemo
vosstanoviv   dokument,   berezhno   prizhat'   ego   drugim  steklom  i
zafiksirovat' skotchem.
     *Vyyavlenie vdavlennyh sledov na podlozhkah*:
     - razmestite  dokument  tak,  chtoby  vysvechivayushchij  puchok   sveta
okazalsya   sboku,  perpendikulyarno  osnovnym  napravleniyam  vdavlennyh
shtrihov i pod ostrym uglom k fonovoj poverhnosti podlozhki.  Tekst  pri
etom mozhno prosto prochitat', a pri neobhodimosti i sfotografirovat'.
     V parallel'nom variante  primenyayut  medicinskij  poroshok  zheleza,
vosstanovlennogo   vodorodom   i  "magnitnuyu  kist'".  Poroshok  obychno
vysypayut na issleduemuyu poverhnost' i peremeshchayut vdol' nee  s  pomoshch'yu
magnita,   togda  posle  udaleniya  izlishkov  zheleza  tekst  stanovitsya
vidimym.
     *Sposoby chteniya zacherknutyh i zalityh tekstov*:
     - osmotrite dokument pri bokovom osveshchenii s licevoj i  oborotnoj
storony   (eto  celesoobrazno,  esli  shtrihi  teksta  imeyut  nekotoryj
rel'ef);
     - osmotrite dokument na prosvet (eto dejstvenno,  kogda krasitel'
shtrihov teksta rezko kontrastiruet s krasitelem pyatna);
     - osmotrite dokument v otrazhennom ili prohodyashchem svete,  primenyaya
svetofil'tr togo zhe cveta,  chto i  cvet  pyatna  (eto  srabotaet,  esli
shtrihi teksta i pyatno raznogo cveta);
     - popytajtes' udalit' ili oslabit' verhnij sloj krasitelya, horosho
prizhav  k  nemu na korotkoe vremya nekuyu otkopiryvayushchuyu - syroj kauchuk,
vlazhnuyu emul'siyu fotoplenki... - poverhnost' (eto pomogaet, esli tekst
pytalis' zacherknut' grafitnym karandashom);
     - obrabotajte vse peremarannye uchastki  podhodyashchim  rastvoritelem
(acetonom,  benzilovym  spirtom,  efirom) krasitelya (eto perspektivno,
esli  mashinopisnyj  tekst  pod  kopirku  perecherknut   chernoj   pastoj
sharikovyh ruchek).
     *Vosstanovlenie teksta po kopiroval'noj bumage*:
     - pomestite   staruyu   kopirku   na   steklo   i   prochtite  (ili
sfotografirujte) tekst na prosvet;
     - esli  bukvy  na  kopirke  ploho  razlichimy,  primenite  bokovoe
osveshchenie, padayushchee na list pod ostrym uglom;
     - esli  kopirkoj pol'zovalis' neodnokratno,  sdelajte s nee foto-
ili kserokopiyu i zakras'te  chernym  fetrovym  flomasterom  ili  myagkoj
tonkoj kist'yu belye shtrihi vseh zapisej,  yavno ne otnosyashchiesya vvidu ih
raspolozheniya k interesuyushchemu vas tekstu.



     |lektronnye sredstva kommunikacii, takovye kak telefon, telefaks,
telegraf  i  sluzhebno-lichnye  radiostancii na segodnyashnij moment imeyut
povsemestnoe rasprostranenie i dayut vozmozhnost'  poluchit'  potryasayushchij
massiv  delovoj  i  intimnoj  informacii,  otnosyashchejsya  k issleduemomu
ob容ktu.  Razberem nemnogo podrobnee kak vse eto delaetsya,  ostavlyaya v
storone vnedrenie v komp'yuternye seti, provodimye po liniyam telefonnoj
svyazi (to, chem zanimayutsya hakery...).



     Radiochastotnoe obshchenie  proizvoditsya,  kak  pravilo,  s   pomoshch'yu
special'nyh radiostancij i radiotelefonov, dejstvuyushchih preimushchestvenno
v diapazone ul'trakorotkih voln (UKV).
     Pod radiotelefonom podrazumevaetsya radiostanciya,  funkcioniruyushchaya
v pare s telefonnoj liniej,  prichem vsya eta sistema  mozhet  byt'  libo
sugubo  individual'noj  (radioudliniteli),  libo  gruppovoj (sotovoj i
trankovoj).
     Praktika radioobshcheniya   zavisit   ot   konstrukcii  apparatury  i
osushchestvlyaetsya kak na edinoj obshchej  chastote,  tak  i  na  raznyh;  kak
odnovremenno, t.e. dupleksno, bez pereklyucheniya "priem-peredacha", tak i
poocheredno (t.e. simpleksno s takovym pereklyucheniem).
     V nyneshnej Rossii razreshena lichnaya radiosvyaz' v diapazone 27 MGc,
hotya inoj  raz  vstrechayutsya  importnye  radiostancii,  ekspluatiruyushchie
diapazony 49-50  MGc  i 140-170 MGc.  CHto kasaetsya radiotelefonov,  to
obychno sotovaya svyaz' proishodit na chastotah 300,  800  i  450  MGc,  a
trankovaya - 330 i 350 MGc.
     Dlya perehvata  radioperegovorov  nado   znat'   nesushchuyu   chastotu
radioperedachi,  na  kotoruyu  v  hode  proslushivaniya i nastraivayut svoyu
apparaturu.  Esli zhe rabochaya chastota peredatchika sovershenno neizvestna
(nekotoruyu  orientaciyu  zdes'  sposobny  dat'  gabarity  i konstrukciya
primenyaemyh antenn...),  popytajtes' vyyavit'  (ili  sprovocirovat'...)
moment   radiosoobshcheniya  i  vnimatel'no  proskanirujte  ves'  diapazon
shirokovolnovym radiopriemnikom (skanerom),  zasekaya  nuzhnuyu  volnu  po
nyuansam  razgovora  ili  golosu obshchayushchegosya.  Inogda podobnyj perehvat
udaetsya   provesti   posredstvom   televizionnogo   ili   veshchatel'nogo
CHM-priemnika,   libo   zapadnogo   "sekond-hendovogo"   radiotelefona.
Unikal'nymi  vozmozhnostyami  dlya  podslushivaniya  obladaet  radiotelefon
"Altaj", vypuskaemyj mestnym zavodom v belorusskom gorode Molodechno.
     Znaya, chto priem  i  peredacha  zachastuyu  proishodyat  na  razlichnyh
chastotah,  celesoobrazno imet' pod rukoj dva radiopriemnika, kazhdyj iz
kotoryh nadziraet za otdel'noj polosoj kontroliruemogo diapazona.
     Tak kak   fakt  radioperehvata  ne  zasekaem,  dlya  nejtralizacii
podobnoj nepriyatnosti razrabotany aktivnye ulovki,  vrode  kodirovaniya
radiosignalov  ili  rezko  "prygayushchej" chastoty.  Vstretivshis' s takimi
izoshchreniyami, proshche budet ne preodolevat' ih, a perehodit' na inye puti
dobychi potrebnoj informacii.
     Nekotorye tryuki,  vprochem,  mozhno  popytat'sya  i   obojti.   Tak,
ispol'zovanie  dvojnoj  modulyacii  chastoty,  kogda  informaciya snachala
moduliruetsya na dovol'no nizkoj (skazhem,  90 kGc) chastote, a zatem eshche
raz  moduliruetsya na zametno bolee vysokoj (skazhem,  150 MGc) chastote,
porozhdaet signal,  ne rasshifrovyvaemyj ni priemnikom,  nastroennym  na
150 MGc,  ni priemnikom, orientirovannym na 90 kGc. No problema prosto
reshaetsya pri zadejstvovanii dvuh priemnikom odnovremenno.



     Buduchi samym  ispol'zuemym  instrumentom  v  hode   chelovecheskogo
obshcheniya,  telefon predostavlyaet unikal'nye vozmozhnosti dlya nezametnogo
proniknoveniya v lichnuyu i delovuyu zhizn' svoego vladel'ca.
     Slushat' udaetsya kak vedushchiesya telefonnye peregovory (priemy 1-3),
tak i vse besedy v komnate pri  polozhennoj  na  rychag  trubke  (priemy
4-7).  Zdes'  mozhet  potrebovat'sya  nekotoraya  "dorabotka" telefonnogo
apparata (priemy 6 i 7),  hotya zachastuyu uhitryayutsya  obhodit'sya  i  bez
takovoj (priemy 1-5).
     Dorabotka perspektivnogo   telefona    vypolnyaetsya    posredstvom
imitirovaniya  ego polomki ("igra na linii") i dal'nejshej peredelki pod
prikrytiem "remonta",  libo pri nelegal'nom poseshchenii  kontroliruemogo
pomeshcheniya.
     Registrirovat' peregovory  mozhno  kak  "na   sluh",   tak   i   s
primeneniem  avtomaticheskoj  zapisi na magnitnuyu lentu,  kogda pishushchij
magnitofon nachinaet dejstvovat' lish' s momenta snyatiya trubki (reagiruya
na  to,  chto  fiksiruemoe  napryazhenie  v linii snizhaetsya s ishodnyh 60
vol't do rabochih 5-20  vol't),  libo  posle  poyavleniya  zvukov  golosa
(specifichnaya   sistema   VOX,  realizuemaya  v  nekotoryh  promyshlennyh
diktofonah).  Samodel'nye   konstrukcii   podobnyh   ustrojstv   mozhno
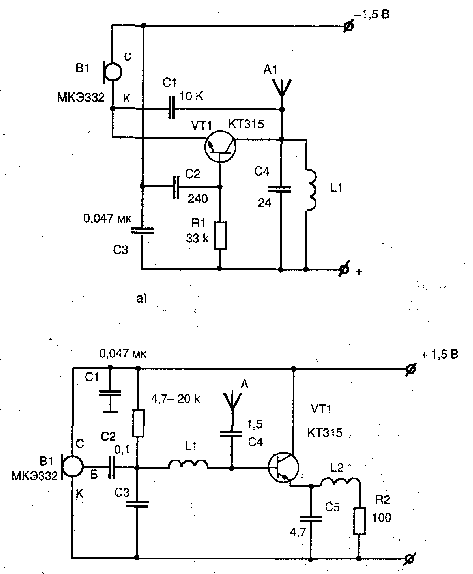
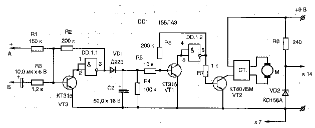
vypolnit' po shemam, privedennym v prilozhenii na ris. 14 i 15.
     *Obshcheprinyatye varianty  podslushivaniya  kontroliruemogo   telefona
takovy*:
     1. Neposredstvennoe podklyuchenie k telefonnoj linii:
     - pryamo na ATS, podkupiv ee sotrudnika;
     - gde-nibud' na linii,  v  proizvol'nom  meste  mezhdu  telefonnym
apparatom i ATS.
     2. Indukcionnoe (t.e.  beskontaktnoe)  podklyuchenie  k  telefonnoj
linii.
     3. Pomeshchenie radiozhuchka na telefonnoj linii, podsoedinyaya ego:
     - v razryv cepi;
     - parallel'no cepi.
     4. Slushanie cherez zvonkovuyu cep'.
     5. Vnutrikomnatnoe proslushivanie  s  primeneniem  vysokochastotnoj
nakachki.
     6. Vstraivanie v apparat zhuchka,  aktiviziruemogo  po  kodu  cherez
lyuboj dal'nij telefon. Kod pri etom mozhet byt' libo chastotnym (vneshnij
zvukogenerator...), libo impul'snym (parakratnyj nabor nomera ili plyus
eshche odnoj cifry...).
     7. Vstraivanie  v  apparat  zhuchka,  vremenno  blokiruyushchego  rychag
trubki v hode opuskaniya ee posle otveta na obychnyj telefonnyj zvonok.



     *1. Neposredstvennoe  podklyuchenie  k  telefonnoj linii*.  Takovoe
podklyuchenie  osushchestvlyaetsya  na  telefonnoj  stancii,  libo  na  lyubom
uchastke   linii   ot   telefona   do   ATS,   prichem   chashche   vsego  v
raspredelitel'noj  korobke  v  zone  doma,  gde  obychno   proizvoditsya
razvodka  kabelya.  CHtoby  obnaruzhit' nuzhnye vam provoda,  podsoedinite
perenosnuyu telefon-trubku  k  lyuboj  pare  promezhutochnyh  kontaktov  i
nabrav  nomer  ob容kta,  proskol'zite konchikami pal'cev,  zavalyavshejsya
monetkoj ili zhe neonovoj lampoj i svetodiodnym  probnikom  (ris.  9  v
prilozhenii) po otdel'nym klemmam,  otmechaya (cherez udar tokom,  sil'noe
iskrenie,  vspyhivanie svetodioda) yavno povyshennoe  (do  100  vol't  i
bolee) napryazhenie vyzova. Otyskav podobnym obrazom trebuemuyu liniyu, ot
nee   probrasyvayut   k   blizlezhashchemu   postu    proslushivaniya    libo
ustanovlennomu  nevdaleke  magnitofonu  neprimetnuyu otvodku,  prichem v
kachestve poslednej  mozhno  zadejstvovat'  vsegda  imeyushchiesya  v  kabele
neispol'zovannye provoda.
     Tak kak ATS pereklyuchaet liniyu na  razgovor  pri  shuntirovanii  ee
soprotivleniem   poryadka   1000   Om,   primenenie  dlya  podslushivaniya
apparatury s nizkoomnym vhodom vyzyvaet peregruzku telefonnoj  seti  i
padenie   napryazheniya  s  veroyatnost'yu  obnaruzheniya  vashego  vnedreniya.
Ponimaya  eto,  parallel'nyj   telefon   sleduet   podsoedinyat'   cherez
soprotivlenie   nominalom   v  600-1000  Om.  Zauryadnye  demaskiruyushchie
priznaki ploho vypolnennogo podklyucheniya  proyavlyayutsya  prezhde  vsego  v
shchelchkah   i   perepadah   gromkosti,   voznikayushchih   pri  razgovore  v
kontroliruemom telefone.
     *2. Indukcionnoe  podsoedinenie  k  telefonnoj  linii*.  V dannom
variante uklonyayutsya ot neposredstvennogo kontakta s telefonnoj  set'yu,
poetomu ego dovol'no trudno obnaruzhit'. Princip dejstviya takoj otvodki
stroitsya na tom,  chto vokrug  obychnyh  provodov  pri  prohode  po  nim
elektricheskogo   toka   voznikaet   elektromagnitnoe  pole,  navodyashchee
indukcionnyj tok v raspolozhennom poblizosti provodnike. Dlya realizacii
sego  effekta  nadobno odin iz provodov naruzhnoj linii obmotat' vokrug
miniatyurnoj mnogovitkovoj katushki s  ferromagnitnym  serdechnikom  libo
razmestit'  ego vblizi podobnoj zhe katushki v bronevom serdechnike (ris.
10   v   prilozhenii).   Vyvody    improvizirovannogo    transformatora
podsoedinyayut    k    usilitelyu    nizkoj    chastoty,   diktofonu   ili
mikroperedatchiku.  Nedostatok podobnogo priema zaklyuchaetsya v  dovol'no
neznachitel'noj   velichine   zasekaemogo   signala,  trebuyushchego  obychno
dopolnitel'nogo  usileniya,  i  v  yavnoj  sklonnosti   takogo   datchika
reagirovat' na postoronnie elektromagnitnye vliyaniya.
     Pri nalichii  horoshego  elektromagnitnogo  detektora,  optimal'nyj
perehvat inoj raz udaetsya vypolnyat' na rasstoyanii 10-80 santimetrov ot
telefonnoj linii,  razmestivshis' po sosedstvu (v ofise,  za stenoj,  u
telefonnoj budki..) s kontroliruemym apparatom.
     *3. Radioperedayushchee podklyuchenie k telefonnoj linii*. Ves'ma chasto
primenenie  demaskiruyushchih  otvodok  vyzyvaet  nekotorye  zatrudneniya i
togda    imeet    smysl    pol'zovat'sya    radiozhuchkom,    prevoshodno
retransliruyushchim  cirkuliruyushchuyu  informaciyu v podhodyashchee dlya vas mesto.
Razlichayut   dva   sposoba   takogo    podklyucheniya,    izvestnye    kak
posledovatel'noe i parallel'noe.
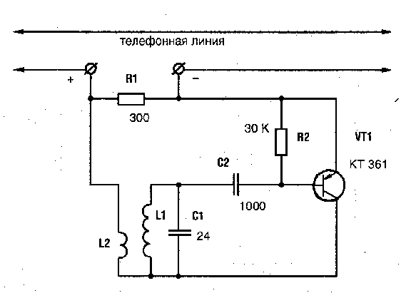
     V pervom sluchae  miniatyurnyj  peredatchik  "vklinivayut"  v  razryv
linii i pitayut ego ee elektroenergiej (ris.  1).  |to pozvolyaet vashemu
zhuchku dejstvovat'  neogranichenno  dolgo,  no  vot  napryazhenie  v  seti
neskol'ko snizhaetsya, chto mozhet privesti k ego obnaruzheniyu.
     Vo vtorom standartnom variante  peredatchik  obespechivaetsya  svoim
pitaniem i podsoedinyaetsya parallel'no linii (ris.  2).  Dannyj obrazec
slozhnee obnaruzhit' (peredaetsya brosok toka v  linii  tol'ko  v  moment
podsoedineniya...),   no  period  ego  avtonomnoj  raboty  ogranichivaet
emkost' primenyaemyh batarej (kakovaya, vprochem, tratitsya lish' v periody
zadejstvovaniya telefona).
     V konstruktivnom  ispolnenii  vse  eti  ustrojstva   predstavlyayut
malomoshchnye,  preimushchestvenno  tranzistornye  generatory ul'trakorotkih
voln (27-900 MGc),  modulirovannye  perepadami  toka,  voznikayushchimi  v
linii  pri  telefonnom  razgovore.  Dejstvuyut  oni neredko na chastotah
radioveshchatel'nogo  diapazona  (66-74  MGc  i  88-108  MGc),  chto  daet
vozmozhnost'  prinimat'  ih  peredachi  na obychnyj UKV-radiopriemnik,  v
radiuse desyatkov-soten metrov,  hotya v etom  sluchae  vse  peredavaemoe
mogut  slushat'  i  drugie.  Prosten'kie  shemy samodel'nyh radiozhuchkov
pokazany v prilozhenii na ris. 11 i 12.
     Pri vozmozhnosti  imeet  smysl vmontirovat' miniatyurnyj peredatchik
pryamo v telefonnyj apparat s tem,  chtoby on naglo perehvatyval ne odni
lish' telefonnye peregovory, no i prochie besedy v dannoj komnate.
     Ne meshaet znat',  chto mnogochislennye telefony s knopochnym naborom
nomera  sami  yavlyayutsya istochnikami parazitnyh radioizluchenij,  tak chto
razgovory provodimye,  k primeru,  s primeneniem  apparata  V|F  TA-12
mozhno probovat'  zasech'  na  chastote  DV-diapazona  (okolo  150 kGc) i
distancii v sotnyu-druguyu metrov.
     Razlichnye peredayushchie   podsoedineniya   obychno  ishchut  po  zametnym
perepadam napryazheniya v telefonnoj  linii,  po  otrazheniyu  zondiruyushchego
signala  ot  neodnorodnostej  v  mestah vnedreniya ili zhe skanirovaniem
UKV-diapazona.  Sposobom profilaktiki sluzhit podavanie v izolirovannuyu
telefonnuyu   cep'  moshchnogo  vysokovol'tnogo  impul'sa,  "podryvayushchego"
vsyacheskie inorodnye podsoedineniya.  |ffektivnym metodom zashchity prinyato
schitat'  i  uprezhdayushchuyu  postanovku  ul'trazvukovoj ili nizkochastotnoj
pomehi, no sie nejtralizuet lish' posledovatel'nye peredatchiki plyus vse
te, chto primenyayut kak antennu zhilu linii.
     *4. Slushan'e cherez  zvonkovuyu  cep'*.  Pri  polozhennoj  na  rychag
telefonnoj  trubke  s  liniej  soedinen elektricheskij zvonok,  kakovoj
byvaet  elektromagnitnym  libo  kapsyul'nym   (p'ezoelektricheskim   ili
elektrodinamicheskim).  Pervyj  iz  nih  podklyuchen  k  linii fakticheski
napryamuyu, togda kak vtoroj - cherez radioshemu. Neposredstvennoe (cherez
kondensator)    podklyuchenie    elektromagnitnogo    zvonka   pozvolyaet
realizovat'  ego   obratimost',   ili   "mikrofonnyj   effekt",   t.e.
vozniknovenie  v nem elektricheskogo toka pri razlichnyh mehanicheskih (v
tom chisle i ot zvukov golosa) vibraciyah podvizhnyh chastej  konstrukcii.
Amplituda  voznikayushchego signala dostigaet neskol'kih millivol't,  koih
hvataet dlya ego dal'nejshej obrabotki,  provodimoj, vprochem, ne slishkom
daleko ot ispol'zuemogo apparata (ris. 3).
     Nedostatok sego metoda sostoit v tom,  chto predstavlennyj  effekt
ochen' prosto nejtralizovat',  esli vklyuchit' posledovatel'no so zvonkom
(a  prakticheski  -  na  vhode  telefona)  parochku  zaparallelennyh  vo
vstrechnom napravlenii kremnievyh diodov, obladayushchih dlya neznachitel'nyh
napryazhenij slishkom bol'shim soprotivleniem.  Shodnuyu  zashchitu  inoj  raz
ispol'zuyut v otdel'nyh obrazcah promyshlennoj apparatury.
     *5. Vnutrikomnatnoe proslushivanie s  primeneniem  vysokochastotnoj
nakachki*.  |to  eshche odin original'nyj variant pozvolyayushchij uslyshat' to,
chto proishodit v komnate pri polozhennoj na rychag trubke.  Dejstvuya  po
dannoj  metodike,  k  odnomu iz provodov linii podklyuchayut otnositel'no
kakoj-to obshchej massy  (trub  kanalizacii  i  otopleniya,  metallicheskih
fragmentov  oformleniya  i  fundamenta stroeniya) reguliruemyj (ot 50 do
300 kGc) vysokochastotnyj generator i  vrashchaya  ruchku  nastrojki  lovyat,
orientiruyas'   po  skachku  toka,  tochku  ego  rezonansa  s  telefonom.
Obnaruzhennaya chastota zdes' i  budet  rabochej.  Hotya  trubka  vrode  by
otklyuchena   ot   apparata,  vneshnie  vysokochastotnye  kolebaniya  cherez
vsyacheskie konstruktivnye elementy pronikayut  v  ego  shemu  i  aktivno
moduliruyutsya mikrofonom,  reagiruyushchim na zvuki v komnate.  Napolnennyj
informaciej signal cherez parnyj provod linii postupaet na  standartnyj
amplitudnyj  detektor,  a  zatem  usilivaetsya  i  peredaetsya  na  post
proslushivaniya libo k pishushchemu vhodu diktofona (ris. 4). Dlya normal'noj
raboty privedennogo ustrojstva ego trebuetsya podklyuchat' po vozmozhnosti
blizhe  (gde-to  v  radiuse  desyatkov  metrov...)   k   podkontrol'nomu
apparatu,  a  neobhodimye  podsoedineniya vypolnyat' lish' ekranirovannym
provodom, izbegaya takim obrazom nezhelatel'noj vzaimoindukcii.
     Shodnym obrazom   snimayut   informaciyu  i  s  bytovoj  apparatury
(radiotochki,  elektricheskih chasov,  protivopozharnoj  signalizacii...),
pri nalichii u nee provodnogo vyhoda iz pomeshcheniya.
     Tak kak vysheprivedennaya sistema v sushchnosti  passivna,  obnaruzhit'
ee vne momenta ispol'zovaniya trudno, no vot obojti ne ochen'-to slozhno,
podklyuchaya parallel'no  mikrofonu   sootvetstvuyushchij   (0,01-0,05   mkF)
kondensator,   zakorachivayushchij  na  sebya  vsevozmozhnye  vysokochastotnye
kolebaniya.
     *6. ZHuchok s kodovym vklyucheniem cherez lyuboj telefon*. V uproshchennom
variante v shemu telefonnogo  apparata  vvodyat  nebol'shoe  rezonansnoe
rele,   tshchatel'no   nastroennoe   na   opredelennuyu  chastotu.  Nabiraya
abonentskij nomer na lyubom  drugom  telefone,  vy  podnosite  k  svoej
trubke   portativnyj   zvukoizluchatel'  (biper),  ton  kotorogo  zdes'
sootvetstvuet  chastote  srabatyvaniya   rele,   tak   chto   ono   chetko
pereklyuchitsya  prezhde  chem  proyavitsya  zvonok,  kakovoj budet totchas zhe
otsoedinen ot linii,  a trubka perevedena v  polozhenie  dlya  razgovora
(ris. 5).
     |ta shema imeet neskol'ko urovnej izoshchrennosti:  ot klassicheskogo
uslozhneniya  zapuskayushchego koda (chto obychno zatrudnyaet obnaruzhenie),  do
ispol'zovaniya special'nogo usilitelya i  mikrofona  (dlya  znachitel'nogo
uluchsheniya  kachestva zvuchaniya).  Sleduet skazat',  chto inoj raz telefon
uspevaet vse zhe prozvenet' do togo kak pereklyuchitsya rezonansnoe  rele,
i  takoj  podsokrashchennyj  zvonok  namekaet  umnomu  hozyainu,  chto  ego
vozmozhno   podslushivayut.   Dopolnitel'nym   nastorazhivayushchim   momentom
vystupaet  zanyatost' rabochej linii v te dolgovremennye periody,  v koi
ona v obshchem-to dolzhna byt' svobodnoj.
     Populyarnyj variant  so  vklyucheniem  dopolnitel'nogo  mikrofona na
proslushivanie   pomeshcheniya   cherez   parnyj   nabor   nomera    trebuet
zadejstvovaniya  neskol'ko  bolee slozhnoj,  no vpolne izgotovlyaemoj pri
neobhodimosti apparatury.
     *7. ZHuchok  s  blokirovkoj  rychaga  trubki  posle kratkovremennogo
snyatiya ee dlya otveta na obychnyj telefonnyj zvonok*. Dannoe montiruemoe
v  telefon  prisposoblenie  obespechivaet ostavlenie mikrofona na linii
posle togo kak hozyain,  sdelav otvet na  vyzov,  vozvrashchaet  na  rychag
trubku.  No  poslednyaya  pri  etom  ne  otsoedinyaetsya do teh por,  poka
slushayushchij na protivopolozhnom konce ne polozhit na rychag i svoyu  trubku,
tak   chto   s   ATS  pojdut  svoeobraznye  signaly  otboya,  zasekaemye
vmontirovannoj v kontroliruemyj apparat radioshemoj, kotoraya, nakonec,
vozvrashchaet  telefon  v  ishodnoe  sostoyanie.  Nedostatok  sego  metoda
sostoit v tom,  chto ego vpolne sluchajno mozhet obnaruzhit'  vsyakij,  kto
pozvonit  po tomu zhe nomeru,  a takzhe "zagadochnaya" zanyatost' linii dlya
vseh prochih abonentov.



     Pri aktivnoj razrabotke izuchaemogo  ob容kta  nevozmozhno  obojtis'
bez skrytnogo nablyudeniya za ego lichnoj i delovoj zhizn'yu,  vypolnyaemogo
chashche  vsego  vizual'nymi  (slezhka)  i  akusticheskimi   (podslushivanie)
metodami.  Takovoe  otslezhivanie  proizvodyat kak epizodicheski (s cel'yu
vyyasneniya opredelennogo fakta),  tak i  postoyanno  (dlya  orientacii  v
tekushchej situacii i ee real'nyh izmeneniyah).



     K nablyudeniyu  za  kakim-libo  stacionarom - nekotorym pomeshcheniem,
stroeniem, otkrytoj ploshchadkoj - pribegayut, chtoby:
     - vyyavit' ego posetitelej;
     - perehvatit' razyskivaemogo cheloveka;
     - "razrabotat'" sej ob容kt dlya provedeniya konkretnoj akcii.
     Tshchatel'noe kontrolirovanie  posetitelej  nado   osushchestvlyat'   iz
udachno  vybrannogo  mesta,  s  kakovogo  prevoshodno  nablyudayutsya  vse
vozmozhnye podhody k ob容ktu i gde  dlitel'noe  prebyvanie  neznakomogo
individa  ne  sposobno  vyzvat'  nezhelatel'nogo  podozreniya  (stolik v
kafeterii  naprotiv,  ostanovka  gorodskogo  transporta,   imitiruemaya
rabochaya ili torgovaya tochka..,  a inoj raz i vsecelo nezametno (cherdak,
krysha ili kvartira v podhodyashchem dome...).  Esli zhe  tajnoe  razmeshchenie
svyazano   s   opredelennymi   zatrudneniyami,   sleduet  pochashche  menyat'
privlechennyh k delu  lyudej,  pribegat'  k  slezhke  iz  avtomobilya  ili
imitirovat' ego polomku s posleduyushchim remontom.
     Buduchi v rabochem pomeshchenii, zanaves'te okna legkimi zanaveskami i
smotrite  iz  glubiny  komnaty,  a  chtoby  ne  obnaruzhit' sebya rezkimi
demaskiruyushchimi blikami primenyaemoj optiki, pol'zujtes' tak nazyvaemymi
"svetovymi tunnelyami".
     Dolzhnuyu fiksaciyu  posetitelej  v   sluchae   neobhodimosti   mozhno
osushchestvlyat'  putem  foto-  i  videos容mki,  prichem nezametnost' takih
dejstvij   obespechivaetsya    primeneniem    portativnoj    apparatury,
dlinnofokusnyh  ob容ktivov i razlichnyh (v tom chisle improvizirovannyh)
pristavok bokovogo obzora (ris. 6).
     Pri fotografirovanii   v  sumerkah  primenyayut  infrahromaticheskie
materialy  vkupe  s  fotovspyshkoj  s  chernym  svetofil'trom,  ili   zhe
ispol'zuyut      razlichnye      metodiki,      rezko      uvelichivayushchie
svetochuvstvitel'nost' obychnyh plenok do neobhodimyh  2000-4000  edinic
GOSTa.
     *Zdes' mozhno ispol'zovat' takie sposoby, kak*:
     - promyvanie   plenki   v  holodnoj  vode  pered  eksponirovaniem
(povyshenie chuvstvitel'nosti v 2 raza);
     - promyvanie    plenki    v   slabom   rastvore   ammiaka   pered
eksponirovaniem (povyshenie v 3 raza);
     - legkoe zasvechivanie uzhe otsnyatoj plenki putem perekruchivaniya ee
v fotoapparate pri otkrytom zatvore v polutemnoj komnate (povyshenie  v
5-6 raz);
     - osnovatel'noe uvelichenie (do 10-13  minut)  vremeni  proyavki  v
fenidon-gidrohimonovom proyavitele (povyshenie v 4-6 raz);
     - ispol'zovanie  special'nogo   proyavitelya   -   sul'fit   natriya
bezvodnyj (100 g),  gidrohinon (5 g),  bura (3 g), bornaya kislota (3,5
g),  bromistyj kalij  (1  g),  femidon  (0,2  g),  voda  (do  1  l)  -
pozvolyayushchego  regulirovat'  stepen' usileniya chuvstvitel'nosti plenki v
sootvetstvii so vremenem proyavleniya (do 10-15 raz pri 20-30 minutah).
     *Razrabatyvaya stacionarnyj ob容kt dlya konkretnoj akcii vyyasnyayut*:
     - vse puti podhoda k nemu;
     - perspektivnye puti uskol'zaniya i pryatan'ya;
     - vremennoj rasporyadok  ego  obitatelej i sosedej;
     - grafik dvizheniya prohodyashchego ryadom transporta;
     - vremennye   momenty   zvukovogo   prikrytiya   (shum   standartno
prohodyashchego  poezda ili zvonki v shkole,  zvon cerkovnyh kolokolov...);
     - sistemu ohrany;
     - vnutrennyuyu planirovku ob容kta.
     *Vnutrennyuyu planirovku ob容kta s dolzhnoj tochnost'yu opredelyayut*:
     - poprostu zaglyadyvaya v okna;
     - pronikaya v pomeshchenie ili na zhelaemuyu ploshchadku,  maskiruyas'  pod
kakogo-libo posetitelya,  cheloveka iz obslugi, vyzvannogo remontnika, i
lyubogo prochego ne privlekayushchego pristal'nogo vnimaniya personazha;
     - orientiruyas'   po  raznym  shodnym  ob容ktam,  vhod  v  kotorye
dostupen;
     - stolov   znayushchih   lyudej   (obitatelej,   stroitelej,  obslugi,
kontakterov...);
     - po   rabochim   chertezham   iz   arhivov   (iz  byuro  tehnicheskoj
inventarizacii, ili        mestnogo        arhitekturno-planirovochnogo
upravleniya...).



     Tshchatel'no sledit' za lyud'mi prihoditsya s konkretnoj cel'yu:
     - ih detal'noj razrabotki dlya predpolagaemoj verbovki, pohishcheniya,
shantazha, razoblacheniya ili likvidacii;
     - vyhoda na razyskivaemoe  lico,  kakovoe  veroyatno  kontaktiruet
(ili mozhet kontaktirovat') s ob容ktom;
     - vyyasneniya mesta sbora vyyavlyaemoj gruppirovki;
     - zasekaniya edinomyshlennikov ob容kta.
     CHelovek, osushchestvlyayushchij nablyudenie dolzhen po  vozmozhnosti  imet':
neprimetnuyu  vneshnost',  otlichnuyu  pamyat',  optimal'nuyu  vynoslivost',
zheleznoe   terpenie,   mgnovennuyu   reakciyu,    polnocennoe    zrenie,
prevoshodnyj   sluh,   yarko   vyrazhennoe   umenie   improvizirovat'  i
orientirovat'sya v situacii.
     Uchityvaya, chto periodicheskoe poyavlenie odnih i teh zhe lic sposobno
nastorozhit' ob容kt,  nado  peremezhat'  sredstva  lichnoj  maskirovki  -
lozhnye   ochki,   vyvorachivaemye  kurtki,  ubiraemye  sumki  i  pakety,
obnovlyaemye golovnye ubory - i vremya ot vremeni podmenyat' drug  druga.
Sleduet  pomnit',  chto  inoj  raz  luchshe  poteryat'  ob容kt,  chem  byt'
obnaruzhennym.
     V pervoklassnom  nablyudenii  uchastvuyut  kak  pravilo  ot  3  do 8
chelovek i neskol'ko avtomobilej.  V kazhdoj iz mashin tasuyutsya obychno po
3 cheloveka,  v tom chisle hotya by odna zhenshchina. Agentura obshchaetsya mezhdu
soboj posredstvom radiosvyazi (chto inoj raz zatrudnitel'no  na  lyudyah),
prosten'kogo  teleupravleniya  lokal'nymi elektricheskimi udarami,  nu i
razumeetsya, putem obgovorennogo zaranee special'nogo vizual'nogo koda.
     Vse znaki   ispol'zuemogo   v   slezhenii   koda  orientiruemy  na
estestvennost' i  v  odnom  iz  afishirovannyh  variantov  vyglyadyat,  k
primeru, tak:
     - "ob容kt stoit" - ruki perekreshcheny za spinoj;
     - "ob容kt povernul nalevo" - levaya ruka upiraetsya v levoe bedro;
     - "ob容kt povernul napravo" -  pravaya  ruka  upiraetsya  v  pravoe
bedro;
     - "ob容kt peresekaet ulicu" - poluoborot v storonu  so  sgibaniem
odnoj ruki u grudi;
     - "ob容kt razvernulsya i idet v obratnom napravlenii" - odna  ruka
podnositsya k golove;
     - "ob容kt ushel iz-pod kontrolya" - obe ruki podnimayutsya k golove;
     - "menya  nado  smenit'"  - pristal'nyj vzglyad na chasy s imitaciej
udivleniya.
     Vsyakie popolznoveniya  ob容kta i ego kontakty (nomera avtomobilej,
marshrut,  raspisanie poezdov...) nadiktovyvayutsya,  esli  vozmozhno,  na
karmannyj  diktofon,  a  po zavershenii nablyudeniya tochno fiksiruyutsya na
bumage.
     CHeloveku provodyashchemu  slezhenie  nado umet' zasekat' svoj ob容kt v
tolpe  naroda  i,  orientiruyas'  po   sobrannoj   dotole   informacii,
prevoshodno  znat'  ego  obychnyj garderob,  pohodku,  predpochtitel'nye
marshruty,  mesta   zhitel'stva   (dacha,   rodstvenniki,   znakomye...):
harakternyj rasporyadok dnya,  chastyh kontakterov,  tipy,  cvet i nomera
ispol'zuemyh avtomobilej...
     Slezhku za  interesuyushchim vas chelovekom nado vypolnyat' nastraivayas'
na opredelennuyu zadachu, ibo obshchaya ustanovka na nablyudenie vsegda menee
produktivna,  chem  konkretnaya.  Metod vizual'nogo kontrolya sushchestvenno
zavisit kak ot vashih sobstvennyh vozmozhnostej i imeyushchejsya celi,  tak i
ot soputstvuyushchih  uslovij,  v  tom  chisle  ot  stepeni nastorozhennosti
(izoshchrennosti) ob容kta.
     *Pri slezhenii  za  peshehodom  primenyayutsya takie formy nablyudeniya,
kak*:
     1. "Cepochkoj".  Neposredstvenno  za  ob容ktom nadziraet lish' odin
chelovek,  a vse prochie rastyanutoj cepochkoj razmeshchayutsya pozadi,  prichem
kazhdyj  iz  posleduyushchih orientiruetsya po predydushchemu.  Kontaktirovanie
mezhdu  zven'yami  osushchestvlyaetsya  po  racii  ili  vizual'nomu  kodu,  a
rasstoyanie  mezhdu nimi zavisit ot konkretnyh vneshnih obstoyatel'stv (na
zapustelyh ulicah - pobol'she,  na dovol'no mnogolyudnyh - pomen'she...).
Pri  sluchajnom vyyavlenii osnovnogo agenta,  on sejchas zhe ustupaet svoe
mesto vtoromu i,  uhodya ot vizual'nogo  kontakta,  primenyaet  sredstva
lichnoj maskirovki.
     2. "Dvojnoj cepochkoj". Dannyj variant prokruchivayut na mnogolyudnyh
ulicah,  i  on  harakterizuetsya  tem,  chto nablyudayushchie shagayut po obeim
storonam glavnoj trassy,  vremya ot vremeni perehodya s odnoj ee storony
na  druguyu.  Inoj  raz oni mogut idti po parallel'nym ulicam,  otmechaya
svoj ob容kt na perekrestkah i podderzhivaya svyaz' s osnovnym agentom  po
racii.
     3. "S  operezheniem".   Zdes'   sledyashchie   periodicheski   obgonyayut
podkontrol'nogo klienta, kakovoj takim obrazom okazyvaetsya mezhdu nimi,
chto daet  predel'no  plotnyj,  a  sledovatel'no  i  bolee  effektivnyj
kontrol'.
     4. "S   podklyucheniem".   Nablyudayushchie   zanimayut   (kak   pravilo,
perebrasyvayutsya  transportom) podhodyashchie mesta na puti predpolagaemogo
peremeshcheniya ob容kta i aktivno podklyuchayutsya k slezheniyu v raznyh  tochkah
ego  dvizheniya.  |to  perspektivno tam,  gde ochen' trudno ne privlech' k
sebe chuzhogo vnimaniya.
     5. "Set'yu". V nepriyatnye momenty neozhidannoj utraty ob容kta, ves'
blizhajshij rajon ohvatyvaetsya kak by szhimayushchimsya kol'com, kakovoe posle
nahozhdeniya  zavetnoj  celi  postepenno  vnov'  rastyagivaetsya v prezhnyuyu
standartnuyu cepochku.
     6. "Vplotnuyu  s podstrahovkoj".  Prebyvaya v mestah s maksimal'noj
koncentraciej lyudej (na vokzalah,  v magazinah,  v metro...) mozhno  ne
izbegat'  sblizheniya  s  ob容ktom  vplotnuyu,  chto obychno osushchestvlyaetsya
odnim-dvumya nablyudatelyami,  v  tot  moment  kak  ostal'nye  obretayutsya
snaruzhi  i passivno kontroliruyut vse imeyushchiesya vhody i vyhody.  Zdes',
kak vprochem i  vsegda,  ne  rekomenduetsya  vstrechat'sya  s  nablyudaemym
glazami.
     7. "Razovoe  s  peredachej".  V  kafe,  "zabegalovku"  i  restoran
chelovek  iz  gruppy  slezheniya  vhodit  vmeste s ob容ktom,  razmeshchaetsya
nepodaleku ot nego i,  obychno ne vstupaya v nikakie razgovory, pokidaet
zavedenie  neposredstvenno  za  nim.  Posle vyhoda klient "peredaetsya"
ostal'nym,  a zasvetivshijsya tut kontroler po vozmozhnosti  snimaetsya  s
posleduyushchego nablyudeniya.
     Inogda sluchaetsya,  chto iskushennyj chelovek probuet  "proverit'sya",
stremyas'   vyyavit'   vblizi   sebya  postoyanno  poyavlyayushchihsya  lic  libo
obnaruzhit' v  dejstviyah  otdel'nyh  okruzhayushchih  nekotorye  strannosti.
Vstrechnoe  otslezhivanie osushchestvlyaetsya s privlecheniem drugogo individa
ili zhe samostoyatel'no,  s primeneniem otrazhayushchih poverhnostej  (vitrin
magazinov...),  nablyudeniya iz zdanij (iz okna kvartiry libo lestnichnoj
ploshchadki...), i prosto cherez obosnovannoe povorachivanie golovy (osmotr
tovarov na lotke,  imitaciya poteri nekogo predmeta...).  Neobychnosti v
sosedskom povedenii inoj raz  vysvechivayut  rezkimi  "zigzagami"  svoih
peremeshchenij  (neozhidannymi  izmeneniyami  tempa i napravleniya dvizheniya;
pokidaniem kinoteatra pri nachale seansa...) s otmechaniem  reagirovaniya
na eto okruzhayushchih.
     Slezhka za  peremeshchayushchimsya  avtomobilem,  v  sushchnosti   napominaet
nablyudenie  za peshehodom.  Zdes' obychno primenyayut neskol'ko avtomashin,
raznogo cveta i nebroskogo tipa,  chast' koih dvizhetsya po  parallel'nym
ulicam i podklyuchaetsya k rabochej situacii s pomoshch'yu radiosvyazi. "Sidet'
na hvoste" u edushchego vperedi  ob容kta  dopustimo  lish'  na  protyazhenii
soten,  ot sily - pary tysyach metrov, posle chego trebuetsya obyazatel'nyj
otryv s podklyucheniem k slezheniyu ocherednogo avtomobilya.  CHtoby izbezhat'
dosadnyh  neozhidannostej,  sleduet  otlichno  znat'  vse tehvozmozhnosti
(bystrotu nabora skorosti,  radius povorota...),  dorozhnye osobennosti
rajona, uroven' masterstva i privychki voditelya.
     Kogda opytnyj ob容kt izlishne nastorozhen ili chego-to opasaetsya, on
mozhet popytat'sya  uskol'znut'  ot  ozhidaemogo kontrolya,  pol'zuyas' dlya
etogo shablonnymi priemami,  opirayushchimisya  chashche  vsego  na:  *izmenenie
ritma,  napravleniya i tipa dvizheniya; sozdanie pozadi sebya opredelennyh
bar'erov;  usyplenie bditel'nosti soprovozhdayushchih...* Ochen'  chasto  pri
etom realizuyut takie tryuki, kak:
     1. Prodolzhitel'noe petlyanie v mnogolyudnyh (metro,  veshchevye rynki,
vokzaly...) mestah.
     2. Ispol'zovanie prohodnyh pod容zdov,  kvartir ili dvorov i  vseh
prochih "chernyh" hodov.
     3. CHastaya smena transporta.
     4. Perehody v metro s odnoj linii na druguyu.
     5. Primenenie labirintnyh marshrutov.
     6. Neozhidannoe  uskorenie  posle  povorota  za  ugol s namereniem
proskochit' zametno dal'she, chem mozhno bylo ozhidat' pri obychnoj skorosti
dvizheniya.
     7. Pokidanie mchashchegosya transporta v kratkovremennye  momenty  ego
yavnogo uhoda iz-pod kontrolya.
     8. Neozhidannyj proezd na krasnyj svet  ili  zhe  pod  opuskayushchimsya
shlagbaumom.
     9. Sozdanie  u  soprovozhdayushchih  vpechatleniya  dvizheniya  v   horosho
izvestnom  napravlenii  i  neozhidannoe  uskol'zanie  s predpolagaemogo
marshruta.
     10. Vhod  i  vyhod  iz  obshchestvennogo transporta pri zakrytii ego
dverej.
     11. Izmenenie   vneshnego  oblika  i  pohodki  v  kratkie  periody
obosnovannogo  uskol'zaniya  ot  vizual'nogo  kontrolya  (v  tualete,  v
pod容zde, u druzej...).
     12. YAvnaya agressiya  po  otnosheniyu  k  vyyavlennomu  nablyudatelyu  s
perspektivoj razzhiganiya skandala.
     Pri vnezapnom ischeznovenii ob容kta predpochtitel'no  ne  dergat'sya
naobum,  a  nemnogo perezhdav,  vzyat' pod tshchatel'nyj kontrol' vse mesta
ego vozmozhnogo poyavleniya.



     Slushat' postoronnie peregovory mozhno libo neposredstvenno, buduchi
nepodaleku  ot  beseduyushchih,  libo  primenyaya  tehsredstva i prebyvaya na
prilichnom udalenii ot ob容ktov.
     Esli interesuyushchaya  vas  beseda  protekaet  na  otkrytom  vozduhe,
pribegayut k sleduyushchim vozmozhnostyam:
     1. Nenavyazchivoe  flanirovanie,  s  periodicheskoj rotaciej,  okolo
beseduyushchih parochki bezlichnyh "toptunov",  kak  by  zanimayushchihsya  svoim
delom, no fiksiruyushchih chuzhie slova sluhom, radiomikrofonami, a inoj raz
i na portativnye diktofony.  Polnyj razgovor pri etom sostavlyaetsya  iz
zapisej etih neskol'kih chelovek.
     2. Primenenie ostronapravlennyh - parabolicheskih (ris.  7) ili zhe
organnyh (ris.  8) - mikrofonov. Dannye ustrojstva prosto izgotovit' i
samomu (skleiv, k primeru, dlinnuyu - okolo 2 m - trubku iz "barhatnoj"
bumagi i  pomestiv  v  ee  torec  diametrom  10-15  sm  lyuboj  v  meru
chuvstvitel'nyj  mikrofon...).  Oni  pozvolyat  slushat'   razgovory   na
rasstoyanii do polutora soten metrov. CHtoby povysit' "dal'nobojnost'" v
sheme  posleduyushchego  usilitelya  mozhno  ispol'zovat'   tak   nazyvaemye
selektivnye  fil'try,  a  proshche  -  bytovye ekvalajzery (mnogopolosnye
regulyatory  tembra),   aktivno   vydelyayushchie   uzkie   polosy   chastot.
Nedostatkom zdes' yavlyaetsya neobhodimost' nahozhdeniya ukromnoj i udobnoj
tochki,  v koej  mozhno  bylo  by  bez  podozrenij  razmestit'  dovol'no
specifichnuyu i gabaritnuyu apparaturu.
     3. Oborudovanie predpolagaemogo mesta besedy  radiozakladkoj  ili
portativnym diktofonom.
     4. Privlechenie  trenirovannyh  i  upravlyaemyh   po   radio   (ili
posredstvom ul'trazvukovyh svistkov) zhivotnyh,  preimushchestvenno sobak,
s zakreplennymi na nih mikroperedatchikami.
     5. Schityvanie  s  gub.  |tot  variant prohodit tol'ko pri nalichii
neobhodimoj  optiki,  podhodyashchego  raspolozheniya  celevyh  ob容ktov  i,
konechno,  cheloveka,  dolzhnym  obrazom  vladeyushchego  dannym  masterstvom
gluhonemyh.  Vypolnenie rasshifrovki zdes', kak pravilo, osushchestvlyaetsya
libo napryamuyu, libo s predvaritel'noj videozapisi.
     *Dlya proslushivaniya besed v publichnom  meste  -  kafe,  restorane,
kazino, teatre... - horosho srabatyvayut nizhesleduyushchie priemy*:
     1. Primitivnoe podslushivanie,  s razmeshcheniem vozle beseduyushchih (za
blizhajshim   stolikom,   shirmoj,   oknom,  stenkoj...).  Dlya  uluchsheniya
vospriyatiya rechi v takih usloviyah rekomenduetsya prinyat' pered  podobnoj
akciej tabletku (0,2 g) barbamila.
     2. Primenenie  ostronapravlennogo  mikrofona,  zakamuflirovannogo
pod vpisyvayushchiesya v oblik i situaciyu trost' ili zontik.
     3. Tajnoe podbrasyvanie v rajon besedy mikroperedatchika.
     4. Predvaritel'noe    oborudovanie   nekoego   mesta   provodnymi
mikrofonami libo neshumyashchim diktofonom,  a luchshe  -  radiozakladkoj,  s
hitroumnym   obespechivaniem  togo,  chtoby  interesuyushchij  vas  razgovor
proishodil imenno tam.
     5. Privlechenie zhivotnyh s zakreplennymi na nih radiozhuchkami.
     6. Schityvanie s gub,  raspolozhivshis'  v  vizual'noj  blizosti  ot
razgovarivayushchih.
     7. Podkup  oficiantov  ili  prochego   obsluzhivayushchego   personala,
kakovye  mogut:  ulovit'  otdel'nye  fragmenty  razgovora,  obespechit'
posadku  ob容ktov  na  special'no  podgotovlennoe  libo  udobnoe   dlya
proslushivaniya mesto, podlozhit' klientam mikroperedatchik...
     *Kogda nadobno uznat' o soderzhanii besed v  zakrytom  pomeshchenii*,
celesoobrazno  osnastit'  ispol'zuemuyu komnatu special'noj apparaturoj
(varianty 1- 4), hotya zachastuyu udaetsya obhodit'sya i bez nego (varianty
5-8). Obshcheprinyatymi i dovol'no effektivnymi sredstvami zdes' yavlyayutsya:
     *1. Stacionarnye  mikrofony*.  Takovye  mikrofony  maskiruyutsya  v
samyh  neozhidannyh  mestah  kontroliruemogo prostranstva i soedinyayutsya
tonchajshimi   provodnikami    s    sozdavaemym    nepodaleku    punktom
proslushivaniya.  Otlichnymi  mikrofonami mogut sluzhit' DSP-plity stolov,
shkafov i knizhnyh polok s zhestko prikleennymi k  nim  p'ezokristallami.
Tonen'kie provoda protyagivayutsya pod oboyami,  libo v plintusah i obychno
pokidayut komnatu vmeste s telefonnoj ili  radiotranslyacionnoj  liniej.
YAvnym   nedostatkom   tut   yavlyaetsya   neobhodimost'  predvaritel'nogo
proniknoveniya v namechaemoe pomeshchenie pri dovol'no dolgom -  vplot'  do
neskol'kih  chasov  -  prebyvanii  tam,  hotya inoj raz podobnoe udaetsya
obespechit' pod prikrytiem zhilishchnogo remonta.
     *2. Radiozhuchki*.  |to  mikroperedatchiki UKV-diapazona,  koi mogut
byt' stacionarnymi i podbrasyvaemymi.  Stacionarnye modeli pitayutsya ot
elektricheskoj  seti  i  obychno  razmeshchayutsya  v torsherah,  televizorah,
elektrorozetkah,  lyustrah i drugih standartnyh  elementah  obstanovki.
Vse  podbrasyvaemye  obrazcy  zakladyvayutsya  pri  tajnom ili legal'nom
poseshchenii celevogo pomeshcheniya (posetitelyami,  uborshchicami, podsobnikami,
vsevozmozhnymi   kontrol'nymi  libo  remontnymi  sluzhbami...)  v  samye
ukromnye ego mestechki (za knigi,  sredi bizhuterii, v obivke mebeli...)
i   neredko  maskiruyutsya  pod  sharikovye  ruchki,  korobki  ot  spichek,
bezdelushki i prochie neprityazatel'nye veshchicy. Oni mogut podnosit'sya kak
obydennye   suveniry   (mikrokal'kulyatory,   zazhigalki...),  podmenyat'
nalichnye obrazcy (kancprinadlezhnosti...),  a inoj raz zabrasyvat'sya  v
priotkrytuyu fortochku.
     Glavnym nedostatkom  bol'shinstva  dannyh   konstrukcij   yavlyaetsya
ogranichennyj  -  ot  desyatkov  do  neskol'kih  soten chasov - period ih
avtonomnoj raboty,  v chastnosti zavisyashchij ot izluchaemoj v prostranstvo
moshchnosti  (ot  dolej  do  soten  mvt...) i elektroemkosti ispol'zuemyh
batarej.  Sami razgovory perehvatyvayutsya na  rasstoyanii  ot  5  do  30
metrov,  togda kak radius peredachi informacii sostavlyaet ot desyatkov i
do  soten  metrov,   prichem   dlya   uvelicheniya   dal'nosti   primenyayut
promezhutochnye   retranslyatory,  a  zhuchki  inoj  raz  ustanavlivayut  na
metallicheskie predmety -  truby  vodosnabzheniya,  radiatory  otopleniya,
bytovye  elektropribory  -  kakovye  sluzhat  dopolnitel'noj peredayushchej
antennoj.
     Firmennye radiozakladki  rabotayut  na  samyh raznyh chastotah,  ot
desyatka i do tysyachi MGc, no dlya importnyh obrazcov naibolee harakterno
vklinivanie  v  diapazony  20-25  MGc,  130-174  MGc,  400-512  MGc...
Povyshenie rabochej chastoty uvelichivaet dal'nost'  dejstviya  v  betonnyh
zdaniyah,   no   zdes'   trebuyutsya   special'nye   radiopriemniki  libo
preobrazuyushchie  pristavki  (konvertery)   k   bytovym   UKV-priemnikam.
Podstrahovyvayas'  ot  sluchajnogo  obnaruzheniya,  professionaly inoj raz
zadejstvuyut  takie  ulovki   kak:   neobychnoe   rastyagivanie   spektra
peredavaemogo signala, sdvoennuyu modulyaciyu nesushchej chastoty, umen'shenie
ishodnoj  moshchnosti   s   primeneniem   promezhutochnogo   retranslyatora,
prygayushchie izmeneniya nesushchej...
     Ochen' effektivnym  i  prostym  priemom  obespecheniya  bezopasnosti
predstavlyaetsya  rabota  v  radioveshchatel'nom  diapazone  (66-74 MGc ili
88-108 MGc) v neposredstvennoj blizosti ot volny moshchnoj  radiostancii.
V   etom  sluchae  radiopriemniki,  imeyushchie  avtomaticheskuyu  podstrojku
chastoty (APCH),  obychno ne reagiruyut na slabyj signal iz-za sil'nogo, a
u    priemnika    podslushivayushchego    dlya    znachitel'nogo   obostreniya
izbiratel'nosti dannaya sistema APCH otklyuchaetsya.
     Sleduet uchityvat',   chto  obnaruzhiv  radiozhuchok,  opytnyj  ob容kt
vozmozhno budet gnat'  po  vyyavlennomu  kanalu  dezinformaciyu  ili  zhe,
prikinuv   ego   nebol'shuyu   dal'nobojnost',  vyjdet  na  zapisyvayushchuyu
apparaturu  i  ustroit  tam  zasadu,   ozhidaya   vyemku   libo   zamenu
narabotannoj   kassety.  Esli  zhe  vzamen  magnitofona  obnaruzhivaetsya
retranslyator,  ryadom s nim inoj raz  razmeshchayut  generator  radiopomeh,
moshchnost'   izlucheniya   kakovogo  postepenno  uvelichivayut,  porozhdaya  u
podslushivayushchego vpechatlenie   o   "sdyhanii"   batarej    ili    nekih
neispravnostyah  v ego pribore.  Zdes' rasschityvayut na to,  chto hozyaeva
vozmozhno yavyatsya, chtoby ustranit' nepoladku.
     Prosten'kie radiozakladki     mozhno    izgotovit'    i    samomu,
orientiruyas',  k  primeru,  na  prakticheskie  shemy,  predlagaemye   v
prilozhenii na ris. 13.
     *3. Setevye peredatchiki*. Oni dejstvuyut v nizkochastotnom (50-3000
kGc)  volnovom diapazone,  vstraivayutsya v elektropribory,  a kak liniyu
aktivnoj   svyazi   ispol'zuyut   provoda   elektroprovodki.    Otlovit'
peredavaemyj  signal  mozhno  iz lyuboj sosednej elektrorozetki,  odnako
lish' do  silovogo  transformatora,  kakovoj  nadezhno  zablokiruet  vsyu
posleduyushchuyu peredachu.
     *4. Telefonnye  zhuchki*.  |ti  vstroennye  v  telefon   ustrojstva
prednaznacheny  peredavat'  besedy  provodimye  v  zakrytoj komnate pri
polozhennoj na rychag trubke cherez telefonnuyu  liniyu.  To  kak  oni  eto
mogut delat',  my uzhe upominali, nu a nejtralizovat' ih ves'ma prosto:
nado lish' vynut' vilku telefona iz ego rozetki.  Vprochem,  sleduet  ne
zabyvat',  chto  vo vsyakij telefon mozhet byt' vmontirovan i radiozhuchok,
dejstvuyushchij vne zavisimosti ot telefonnoj linii.
     *5. Podvedennye  mikrofony*.  Vse  eti podsoedinyaemye k usilitelyu
mikrofony mogut imet' samuyu raznoobraznuyu konstrukciyu, sootvetstvuyushchuyu
"akusticheskim  shchelyam",  obnaruzhennym  v  interesuyushchem  vas  pomeshchenii.
Dinamicheskij   tyazhelyj   kapsyul',   naprimer,   mozhno    opustit'    v
ventilyacionnuyu  trubu  s  kryshi,  a ploskij kristallicheskij mikrofon -
podvesti pod dver' snizu. Pri otsutstvii podobnyh lazeek nado obratit'
vnimanie na elektricheskie rozetki, kakovye v smezhnyh komnatah inoj raz
byvayut spareny.  Snyav zashchitnuyu korobku s odnoj iz nih,  vy  tem  samym
otkryvaete  dostup  k  drugoj,  a cherez nee i v blizlezhashchee pomeshchenie.
Inogda  imeet  smysl  prosverlit'  v  stene  malyusen'koe  (1,5-3   mm)
otverstie  v  neprimetnom  dlya chuzhogo glaza (gde-nibud' v uglu libo na
urovne plintusov...) meste ili vospol'zovat'sya zamochnoj skvazhinoj. Dlya
takih izoshchrennyh variantov sushchestvuet specifichnyj tonkotrubkovyj,  ili
"igol'chatyj" mikrofon,  zvuk  k  kotoromu  podvoditsya  cherez  dovol'no
tonkuyu trubku, dlinoj santimetrov v tridcat'. Dannyj mikrofon neslozhno
sdelat' samomu (ris.  17 v  prilozhenii),  soznavaya,  chto  pri  tverdoj
trubke obychno poluchaetsya luchshij zvuk, togda kak gibkuyu udobno zavodit'
za vsyakie ugly i propuskat' cherez zamochnye skvazhiny.
     *6. Kontaktnyj   mikrofon*.   V   kachestve  podobnogo  ustrojstva
prevoshodno rabotaet zauryadnyj medicinskij stetoskop, sparennyj, chtoby
povysit' vospriimchivost',  s podhodyashchim mikrofonnym kapsyulem,  kotoryj
podsoedinen k chuvstvitel'nomu usilitelyu (v prostyh  sluchayah,  konechno,
mozhno obojtis' i odnim stetoskopom bez kakoj-libo elektroniki).
     Ochen' kachestvennye    kontaktnye    datchiki     poluchayutsya     iz
p'ezokeramicheskih   golovok  ot  proigryvatelej  libo  iz  standartnyh
p'ezoizluchatelej elektricheskih chasov,  zvukovyh igrushek,  suvenirov  i
telefonov.   Tak   kak   dannye   ustrojstva  zasekayut  mikrokolebaniya
kontaktnyh peregorodok,  trebuetsya ves'ma tshchatel'no vybirat' mesto  ih
prilozheniya,   zavisyashchee   ot  konstruktivnyh  osobennostej  (sploshnaya,
pustotelaya...) konkretnoj  steny.  V  nekotoryh  sluchayah  imeet  smysl
nakrepko  prikleit'  p'ezoelement  k  dostupnoj  storone  steny  ili k
naruzhnomu steklu (u ego kraya...) pust' dazhe parnoj ramy.  Prevoshodnyj
akusticheskij  signal  inoj  raz udaetsya snimat' s trub vodosnabzheniya i
batarei otopleniya.
     *7. Improvizirovannye  rezonatory*.  Perehvatyvat'  peregovory  v
smezhnom pomeshchenii chasto  udaetsya  i  bez  specapparatury,  pribegaya  k
pomoshchi sluchajno  okazavshegosya  pod rukoj pitejnogo bokala (ili ryumki),
obodok kotorogo plotno prizhimaetsya k stene,  a donyshko (torec nozhki) -
vplotnuyu  k  uhu.  Voznikaemyj  pri  etom  zvuk  sil'no zavisit kak ot
sostoyaniya i struktury steny,  tak  i  ot  konfiguracii  pribora  da  i
materiala (luchshee - hrustal'), iz kotorogo on izgotovlen.
     *8. Telefony pri naruzhnoj aktivacii*.  V  otlichie  ot  telefonnyh
zhuchkov  vstraivaemyh v apparat,  k kontroliruemomu telefonu zdes' dazhe
ne prikasayutsya rukami.  Informaciya snimaetsya s  telefonnoj  linii  pri
pokoyashchejsya  na  rychage trubke putem vneshnej aktivacii vysokochastotnymi
kolebaniyami  ee  mikrofona,  a  poroj  i  cherez  perehvat   mikrotokov
poyavlyayushchihsya  v  elektromagnitnom zvonke pri legchajshih sotryaseniyah ego
podvizhnyh chastej (ris.  3 i 4).  Sleduet skazat',  chto shodnym obrazom
mozhno perehvatyvat' poleznye mikroelektrotoki ne tol'ko s telefonnogo,
no i s kvartirnogo zvonka.
     Naryadu s    vysheukazannymi    sushchestvuyut    i   drugie   varianty
podslushivaniya,  primenyayushchie,  k primeru,  posylaemye dal'nim vystrelom
"radiopuli", modulyaciyu lazernogo lucha mikrovibraciyami okonnogo stekla,
perehvat pobochnyh elektromagnitnyh izluchenij bytovoj  radioapparatury,
beskontaktnuyu aktivaciyu passivnyh mikrovolnovyh izluchatelej... Vse eti
metodiki,  vprochem,  professional'no slozhny  i  ne  rekomenduyutsya  dlya
improvizirovannogo primeneniya.



     Sluhi mozhno opredelit' kak oficial'no nepodtverzhdaemye soobshcheniya,
cirkuliruyushchie po mezhlichnostnym gorizontal'nym kanalam.  Mnogie iz  nih
kak pravilo,  pravdopodobny, a neredko i dostoverny, prichem peredayut i
rasprostranyayut ih dazhe te, kto etomu ni kapel'ki ne verit.
     Otnosit'sya k lyubym sluham sleduet predel'no ostorozhno, nikogda ne
zabyvaya o stremlenii lyudej vydavat' predpolagaemoe za dejstvitel'noe i
o veroyatnosti zabrasyvaniya kem-to celevoj dezinformacii.
     *Pri vedenii aktivnoj  igry  tshchatel'no  podobrannye  sluhi  chasto
zapuskayutsya dlya*:
     - optimal'nogo rasprostraneniya pravdy;
     - sozdaniya opredelennogo mneniya o sobytii, situacii ili cheloveke;
     - podgotovki  okruzhayushchih  (putem  pritupleniya   ih   reakcii)   k
namechaemomu deyaniyu;
     - obhozhdeniya oficial'noj cenzury;
     - vyyasneniya otnosheniya lyudej k soobshchaemomu;
     - razzhiganiya smuty, straha i neuverennosti.
     Zauryadnyj komprometiruyushchij  sluh  "rastvoryaetsya"  za  dve nedeli,
hotya dejstvie ego obychno prodolzhaetsya i dal'she.
     CHelovek peredaet  podhvachennye  sluhi  iz-za  svojstvennogo  vsem
zhelaniya pohvastat'sya,  a poetomu perehvatit' ih mozhno gde ugodno i  ot
kogo ugodno. Ochen' aktivny v etom otnoshenii vse kommunikabel'nye lyudi,
vsegda imeyushchie samye obshirnye social'nye i delovye kontakty.
     CHtoby vyjti  na imeyushchiesya sluhi v sushchnosti ne trebuetsya prilagat'
osobennyh usilij; nado poprostu vrashchat'sya v podhodyashchem obshchestve, chutko
slushat'  okruzhayushchih  i  vesti  neprinuzhdennye  besedy,  pohodya kasayas'
razrabatyvaemoj tematiki i vremya ot vremeni vyskazyvaya legkoe somnenie
soobshchaemomu.



     Poluchennye raznoobraznymi  putyami  dannye  stanut  poleznymi lish'
posle togo,  kak vse oni podvergnutsya neobhodimomu analizu i predel'no
tochnomu istolkovaniyu. Podopleka mnogih delovyh neudach zaklyuchaetsya ne v
ignorirovanii informacii, a v ee oshibochnom analize.
     Svedeniya, kak  pravilo,  ocenivayut po dostovernosti,  znachimosti,
soglasovannosti, polnote, vozmozhnosti ispol'zovaniya.



     Lyubaya postupayushchaya izvne informaciya  harakterizuetsya  opredelennoj
stepen'yu  dostovernosti,  v  chastnosti zavisyashchej ot stepeni nadezhnosti
istochnika i togo, otkuda on ee poluchil.
     CHtoby vysvetit'  takie  pokazateli,  kazhdyj  registriruemyj  fakt
polezno dopolnyat' special'noj bukvo-cifrovoj otmetkoj,  prichem bukvami
oboznachayut  uroven' nadezhnosti istochnika,  a ciframi - otkuda tot vzyal
svedeniya.
     *Uroven' nadezhnosti istochnika prinyato kodirovat' tak*:
     A - absolyutno nadezhnyj i kompetentnyj;
     B - obychno nadezhnyj;
     V - ne slishkom nadezhnyj;
     G - nenadezhnyj;
     D - neopredelennyj.
     *To, kak  sej  istochnik  poluchil predstavlyaemye dannye,  otmechayut
sleduyushchim obrazom*:
     1 - sam videl;
     2 - slyshal ot togo, komu mozhno verit';
     3 - sluhi.
     Nikogda ne stoit zabyvat',  chto ne vyzyvayushchij  somnenij  istochnik
(A)  inoj  raz  sposoben  peredat'  yavnuyu dezinformaciyu,  a sovershenno
nenadezhnyj tip (G) -  soobshchit'  cennejshie  dannye.  Pamyatuya  ob  etom,
dvuhznachkovyj  indeks  inogda  dopolnyayut rimskoj cifroj,  ukazuyushchej na
predpolagaemuyu  dostovernost'  fakta:
     I - podtverzhdaetsya  drugimi faktami;
     II - veroyatno pravdiv (3 k 1);
     III - vozmozhno pravdiv (1 k 1);
     IV - somnitelen (3 protiv 1);
     V - nepravdopodoben;
     VI - neopredelyaem.
     Markirovka III-B2, k primeru, oznachaet, chto faktura predostavlena
dovol'no nadezhnym informatorom (B) so slov  znayushchego  cheloveka  (2)  i
vozmozhno - "50 na 50" - pravdiva (III).
     Pri nalichii kakih-libo somnenij v dostovernosti doshedshih  do  vas
dannyh, ih polezno otlozhit' pro zapas v ozhidanii drugih podtverzhdayushchih
ili oprovergayushchih faktov.



     Sleduet uchityvat', chto postupayushchaya k vam faktura mozhet byt':
     - podsunuta istochniku kak dezinformaciya;
     - iskazhena im prednamerenno;
     - izmenena - proizvol'no ili neproizvol'no - v hode ee peredachi.
     Ustnye soobshcheniya cirkuliruyushchie po gorizontal'nym  i  neformal'nym
kanalam,  menee  podverzheny iskazheniyam,  a vot informaciya postavlyaemaya
naverh chashche priukrashivaetsya (vvidu yavnogo  zhelaniya  ugodit',  poluchit'
voznagrazhdenie, izbezhat' nakazaniya...), chem naoborot.
     Pri namerennoj dezinformacii primenyayut kak zavedomuyu lozh',  tak i
utonchennuyu   polupravdu,  ispodvol'  podtalkivayushchuyu  vosprinimayushchih  k
lozhnym suzhdeniyam. Naibolee rasprostranennymi priemami zdes' yavlyayutsya:
     - pryamoe sokrytie faktov;
     - tendencioznyj podbor dannyh;
     - narushenie logicheskih i vremennyh svyazej mezhdu sobytiyami;
     - podavanie pravdy v takom kontekste (dobavleniem  lozhnogo  fakta
ili nameka...), chtoby ona vosprinimalas' kak lozh';
     - izlozhenie vazhnejshih dannyh na yarkom fone  otvlekayushchih  vnimanie
svedenij;
     - smeshivanie raznorodnyh mnenij i faktov;
     - soobshchenie    informacii    takimi    slovami,   kotorye   mozhno
istolkovyvat' po-raznomu;
     - neupominanie klyuchevyh detalej fakta.
     *Iskazheniya, voznikayushchie v processe retranslyacii ishodnyh  dannyh,
chashche vsego proishodyat iz-za*:
     - peredachi tol'ko chasti soobshcheniya;
     - pereskaza uslyshannogo svoimi slovami ("isporchennyj telefon");
     - propuska faktury cherez prizmu sub容ktivno-lichnostnyh otnoshenij.
     *Dlya uspeshnosti bor'by s veroyatnoj dezinformaciej sleduet*:
     - razlichat' fakty i mneniya;
     - ponimat',  sposoben  li  informator  po  svoemu polozheniyu imet'
dostup k soobshchaemym faktam;
     - uchityvat'     sub容ktivnye    (samomnenie,    fantazijnost'...)
harakteristiki istochnika i ego predpolagaemoe otnoshenie k  vydavaemomu
soobshcheniyu;
     - primenyat' dubliruyushchie kanaly informacii;
     - isklyuchat' vse lishnie promezhutochnye zven'ya;
     - pomnit',  chto osobenno legko vosprinimaetsya  ta  dezinformaciya,
kotoruyu vy predpolagaete, ili zhelaete uslyshat'.



     Pol'za ot   nalichestvuyushchih   materialov  rezko  vozrastaet,  esli
proyasneny ih  znacheniya;  istina  obychno  raskryvaetsya  ne  v  ishodnyh
dannyh,  a v ih tochnom istolkovanii, ibo konkretnyj fakt mozhno uyasnit'
lish' v sochetanii s drugimi faktami.
     Pererabotka informacii posle predvaritel'nogo sobiraniya faktury i
konkretnoj postanovki problemy podrazumevaet:
     a) sistematizaciyu   faktov,   kotorye  sortiruyut  po  stepeni  ih
otnosheniya k tomu ili inomu voprosu;
     b) vyyavlenie, osnovyvayas' na intuicii, klyuchevyh momentov;
     v) postroenie predpolozhenij, ob座asnyayushchih osnovnye fakty;
     g) poluchenie, pri neobhodimosti, dopolnitel'nyh dannyh;
     d) oformlenie  vyvodov  i  ih  proverka  na  sootvetstvie  drugim
faktam.
     Na otdel'nye voprosy  chasto  udaetsya  poluchit'  pryamoj  i  vpolne
opredelennyj  otvet,  a  v  otnoshenii drugih vynuzhdenno ogranichivayutsya
odnimi predpolozheniyami.
     Nado intuitivno    ponimat',   kakovye   iz   momentov   yavlyayutsya
vazhnejshimi,  a  ne  koncentrirovat'  vnimanie  srazu  na  mnogih,  chto
sposobno zablokirovat' rabotu chelovecheskogo mozga.
     Inoj raz  polezno  prokrutit'  poluchennuyu  informaciyu  sredi  lic
imeyushchih  k  nej  nekotoroe otnoshenie,  polagaya chto oni pomogut vyyavit'
kakie-libo svyazi s nekoej pobochnoj informaciej.
     Vyskazav opredelennoe  predpolozhenie,  ego tshchatel'no proveryayut na
stykuemost' so vsemi dannymi i kogda  zdes'  obnaruzhitsya  znachitel'naya
neuvyazka, a fakty yavno pravdivy, - trebuetsya izmenit' suzhdenie.
     *Lozhnaya interpretaciya faktury veroyatna, esli*:
     - predstavleny ne vse materialy,
     - nekotorye iz imeyushchihsya pod rukoj faktov somnitel'ny,
     - vse  vnimanie  sosredotachivaetsya  lish'  na teh soobshcheniyah,  koi
podtverzhdayut ozhidaniya i predpolozheniya analitika.
     *CHtoby vyyavit'  vozmozhnye  puti razvitiya ishodnoj situacii,  nado
ochen' chetko predstavlyat'*:
     - klyuchevyh person protivnika;
     - to,  k chemu on v sushchnosti stremitsya (kak po maksimumu, tak i po
minimumu);
     - est' li nekaya sistema v ego dejstviyah;
     - chego v nih bol'she: logiki, emocij, tradicij ili sluchajnostej;
     - sushchestvuet li takoj soyuznik s kotorym protivnik ne porvet;
     - yavnye granicy dopustimosti v ego deyaniyah;
     - uyazvimye mesta protivnika;
     - to, kak on ocenivaet situaciyu;
     - veroyatnye reakcii na dejstviya s kazhdoj storony.
     V nekotoryh  sluchayah  perspektivno idti ne ot faktov k postroeniyu
gipotezy, a ot vydvigaemoj gipotezy k imeyushchimsya faktam.  Tak,  otlichno
znaya klyuchevoe lico protivnika,  myslenno postav'te sebya na ego mesto i
prikin'te,  chto za "hitruyu" igru on mog  by  vesti.  Ishodya  iz  etogo
vyvedite  ryad  predpolozhenij  o  ego namereniyah i opredelite dejstviya,
dolzhnye posledovat' pri kazhdom iz nih. Sopostaviv myslennye situacii i
nalichnye   realii,   otberite   tu   gipotezu,  kakovaya  sootvetstvuet
bol'shinstvu imeyushchihsya faktov.
     Optimal'nuyu pomoshch'  v  obrabotke  vsej  podobnoj informacii mozhet
okazat'  lyubaya  prosten'kaya  |VM,  ne  stradayushchaya  sub容ktivnost'yu   i
ogranichennost'yu uma cheloveka.







     Dlya vedeniya  aktivnoj  vazhnoj  igry  trebuyutsya svoi lyudi v stavke
protivnika.
     Svoi lyudi    mogut    byt'    kak   vnedreny   (vozmozhno,   posle
predvaritel'noj verbovki) v nuzhnuyu gruppu,  tak i  zaverbovany  iz  ee
chlenov.
     *Uroven', zanimaemyj svoim chelovekom (ili lyud'mi) v gruppe  mozhet
byt'*:
     - vysshim   (chelovek   iz    rukovodyashchego    zvena,    prinimayushchij
neposredstvennoe uchastie v vyrabotke vazhnyh reshenij);
     - srednim (lica,  imeyushchie dostup k ustnoj ili zadokumentirovannoj
informacii);
     - nizhnim (lyudi,  poseshchayushchie te mesta,  gde obshchayutsya chleny  gruppy
ili nahodyatsya dokumenty, no ne dopushchennye k samim dokumentam);
     - vspomogatel'nym  (kadry,  ne   imeyushchie   otnosheniya   k   dannoj
strukture, no sposobnye okazyvat' nekotoroe sodejstvie).
     YAsno, chto chem vyshe  uroven'  svoego  cheloveka  v  razrabatyvaemoj
gruppe,  tem  shire  u  nego  vozmozhnosti,  i  tem  bol'shuyu cennost' on
predstavlyaet dlya Vas.
     Svoih lyudej  berezhno  ispol'zuyut  dlya resheniya samyh raznoobraznyh
zadach,  s  uchetom  ih   vozmozhnostej,   soobrazhenij   bezopasnosti   i
potrebnostej momenta:
     - dlya polucheniya informacii;
     - dlya  smeshcheniya  akcenta  v deyatel'nosti organizacii v nuzhnom dlya
Vas napravlenii;
     - dlya  sodejstviya  v  osushchestvlenii  opredelennyh  akcij s cel'yu:
diskreditacii gruppy (namerennye oshibki...),  polnogo  ili  chastichnogo
razvala  gruppy  (razzhiganie  rozni  i frakcionnosti...),  vnedreniya i
provedeniya na  nuzhnyj  uroven'  v  gruppe  svoih  lyudej  (pererozhdenie
gruppy...);
     - dlya  ustanovleniya  podslushivayushchih   ustrojstv   ili   dobyvaniya
dokumentov putem ih sokrytogo kopirovaniya (kserografiya, peres容mka...)
libo neposredstvennogo pohishcheniya;
     - dlya  pomoshchi v reshenii nekotoryh promezhutochnyh zadach (propuska v
nuzhnoe  pomeshchenie,  svedenie   s   neobhodimym   chelovekom,   peredacha
konfidencial'nogo paketa...).
     *Sleduet otchetlivo razlichat' i  ne  putat'  dve  kategorii  svoih
lyudej*:
     - soratnikov (chlenov vashej komandy);
     - agentov (ispol'zuemyh).
     V zavisimosti ot togo,  k kakovoj iz kategorij prichislyaetsya  svoj
chelovek, vybiraetsya taktika vzaimodejstviya s nim.
     Kachestvennaya verbovka  podrazumevaet  sleduyushchie  posledovatel'nye
etapy raboty s ob容ktom:
     - vyyavlenie;
     - razrabotka;
     - ocenka;
     - privlechenie;
     - proverka;
     - napravlenie deyatel'nosti;
     - uderzhanie;
     - preryvanie kontakta.
     Luchshe, esli na razlichnyh etapah raboty ob容ktom budut  zanimat'sya
raznye lyudi,  vrode kak by ne svyazannye drug s drugom. Pri standartnom
trehstupenchatom podhode eto:
     - *navodchik*  (akcentiruetsya na predvaritel'nom izuchenii ob容kta,
posle chego ustanavlivaet lichnyj kontakt s nim, vypolnyaya dopolnitel'nuyu
razrabotku  s  testirovaniem  i  vydaet  zaklyuchenie o celesoobraznosti
ispol'zovaniya dannogo cheloveka a takzhe  o  perspektivnyh  napravleniyah
celevogo vozdejstviya na nego);
     - *verbovshchik* (ustanavlivaet novyj kontakt s ob容ktom, chashche vsego
ne svyazannyj s predydushchim; v podhodyashchee dlya etogo vremya on otkryvaetsya
i zhdet reakcii sobesednika,  predvaritel'no obespechivaya  sebe  put'  k
otstupleniyu);
     - *vedushchij* (proizvodit instruktazh i osushchestvlyaet vse  dal'nejshee
rukovodstvo, napravlyayushchee deyatel'nost' ob容kta).
     Privedennaya zdes'   shema   ne   yavlyaetsya   zhestkoj,   tak    chto
predvaritel'noj  razrabotkoj (testirovaniem) individa mozhet zanimat'sya
tot zhe samyj chelovek,  kakovoj vposledstvii osushchestvlyaet ego  verbovku
(privlechenie).  V svoyu ochered' tot,  kto verboval mozhet,  prodolzhat' i
dal'she  kontaktirovat'  s  zaverbovannym,   orientiruya   ego   tekushchuyu
deyatel'nost'. Dopustimy razumeetsya i vse prochie varianty.



     *Nekoego konkretnogo cheloveka namechayut verbovat' v silu*:
     - ego lichnyh kachestv;
     - yavnoj operativnoj neobhodimosti;
     - dal'novidnogo zhelaniya imet' rezerv.
     *Vybiraya podhodyashchij  ob容kt (kandidata na verbovku) prorabatyvayut
dva napravleniya*:
     - tshchatel'no   vyiskivaetsya  poleznyj  po  informirovannosti  (ili
drugim svoim vozmozhnostyam) chelovek,  a potom uzh namechayutsya  podhody  k
nemu;
     - obstoyatel'no rassmatrivaetsya opredelennyj  kontingent  lyudej  i
ottuda   otbiraetsya   naibolee  dostupnoe  po  uyazvimosti  ili  lichnym
kontaktam lico.
     *Pervuyu privlekayushchuyu k kandidatu vnimanie informaciyu poluchayut*:
     - ot ego druzej i znakomyh;
     - v hode neposredstvennogo obshcheniya;
     - nablyudaya za ego dejstviyami i postupkami;
     - po opublikovannym (ego ili o nem) stat'yam, pis'mam, dokladam...
     *Obratit' na cheloveka vnimanie zastavlyayut*:
     - ego malen'kie i bol'shie neudachi;
     - politicheskie simpatii;
     - informirovannost';
     - obronennye zamechaniya i vyskazyvaniya;
     - proyavlyaemaya ekzal'taciya (uvlechennost');
     - nedovol'stvo;
     - neobychnoe povedenie (zatormozhennost', razgul'nost', specifichnoe
seksual'noe obshchenie...);
     - nacional'nost';
     - religioznost';
     - mesto postoyannoj ili vremennoj raboty i opredelennye svyazi...
     *Naibolee prigodny dlya verbovki te, kto*:
     - obladayut  nekimi  moral'nymi  iz座anami  (strast'yu  k  alkogolyu,
seksual'nym  razvlecheniyam,  narkotikam...)  ili  zhe   "zapyatnannost'yu"
biografii;
     - imeyut dolgi;
     - sil'no privyazany k komu-libo (chemu-libo);
     - po kakim-to prichinam (zatrudneniya v kar'ere, slozhnosti v lichnoj
zhizni, vzglyady na provodimuyu politiku...) ochen' sil'no razdrazheny.



     Na etom   etape   proizvoditsya   tshchatel'noe  izuchenie  vybrannogo
cheloveka,  doskonal'naya proverka  ego  individual'nyh  sposobnostej  i
vozmozhnostej.
     Razrabotka kandidata proizvoditsya dvumya putyami:
     - ochno (pri lichnom obshchenii);
     - zaochno (bez pryamogo kontakta).
     Vsya poluchaemaya  informaciya  vnositsya  v  formalizirovannoe dos'e,
dannye iz koego ispol'zuyutsya dlya:
     - verbovki ob容kta;
     - predskazaniya dejstvij ob容kta;
     - psihologicheskoj i fizicheskoj nejtralizacii ob容kta.



     Dlya nachala,  po  vozmozhnosti,  sobirayut  svedeniya bez vhozhdeniya v
neposredstvennoe snoshenie s ob容ktom.  Harakternymi istochnikami  takoj
informacii mogut sluzhit':
     - vsevozmozhnye  oficial'nye  bumagi  i  dokumenty  (lichnye  dela,
trudovye knizhki,  arhivy,  avtobiografii, domovye knigi, medicinskie i
prochie uchetnye kartochki,  obnarodovannye  (im  ili  o  nem)  stat'i  i
upominaniya...);
     - intimnaya korrespondenciya;
     - sluchajno  ili special'no perehvachennye telefonnye (i prochie...)
razgovory;
     - skrytnoe naruzhnoe nablyudenie, videos容mka i fotografirovanie;
     - kontaktery (lyudi iz kruga obshcheniya ob容kta).
     *Pri ocenke cheloveka po slovam ego znakomyh sleduet uchityvat'*:
     - v kakoj stepeni uvedomitel' znaet togo,  o  kom  on  otzyvaetsya
(t.e. kak dolgo, intensivno i gluboko oni obshchalis');
     - v kakih otnosheniyah prebyvayut attestuyushchij  s  attestuemym  (esli
otnosheniya  plohie  -  harakteristika budet s negativnym uklonom,  esli
druzhelyubnye - priukrashennaya);
     - situaciyu,   v   kotoryh   nablyudalis'   soobshchaemye  osobennosti
(ekstremal'nye, v soprikosnovenii s podchinennymi, s vyshestoyashchimi...);
     - kak  u  informatora razvito to kachestvo,  o kotorom on soobshchaet
(chashche vsego za etalon chelovek beret samogo sebya,  i kogda  upominaemaya
cherta  u  nego  yarko  vyrazhena  - privodimaya ocenka budet zanizhena i -
naoborot).
     Sobrav i  proanalizirovav  dannye  o  kandidate  iz raznoobraznyh
dostupnyh istochnikov, mozhno perehodit' k sleduyushchemu etapu: *razrabotke
dannogo ob容kta pri pryamom obshchenii. Syuda vhodit*:
     - ustanovlenie kontakta (zavyazyvanie znakomstva);
     - uglublenie kontakta (podgotovka pochvy);
     - testirovanie (uglublenie dos'e);
     - ocenka (perspektivnost' verbovki).



     Obretenie znakomstva  svyazano s sozdaniem blagopriyatnyh situacij,
mnogie iz koih mogut voznikat' sovershenno sluchajno,  i zdes' glavnoe -
ne upustit' podhodyashchego momenta.
     Optimal'nye varianty  znakomstva  po  svoej   suti   zavisyat   ot
professii,  pola,  vozrasta,  nacional'nosti,  social'nogo  polozheniya,
kul'turnogo urovnya,  haraktera,  privychek i vseh prochih individual'nyh
osobennostej cheloveka, a krome togo ot ego nastroeniya, mesta dejstviya,
okruzhayushchej obstanovki i inyh v razlichnoj stepeni vliyayushchih faktorov.
     Pri znakomstve    srazu    zhe   vybiraetsya   programma   obshcheniya:
simmetrichnaya ili  dopolnitel'naya.  Simmetrichnaya  model'  podrazumevaet
ravenstvo - vozrastnoe,  intellektual'noe,  social'noe... - obshchayushchihsya
storon,  fakt kotorogo chetko ustanavlivaetsya, i v dal'nejshem uchastniki
r'yano sledyat za ego soblyudeniem (chto pozvoleno odnomu,  to dozvoleno i
drugomu...).  Dopolnitel'naya  programma   utverzhdaet   neravenstvo   i
fiksiruet distanciyu obshcheniya,  kakovoj zatem strogo priderzhivayutsya. Pri
znakomstve  sootvetstvuyushchaya   programma   ustanavlivaetsya   mgnovenno,
peremenit' ee potom dovol'no trudno.
     Tak kak  bol'shinstvo  lyudej  sostavlyaet  mnenie  o  svoih   novyh
znakomyh po nachal'nomu,  no ochen' zhivuchemu vpechatleniyu,  optimal'noj i
vazhnejshej  ustanovkoj   yavlyaetsya   obespechenie   nuzhnogo   vospriyatiya.
Trebuemyj  effekt  dostigaetsya  produmannym  vyborom  (orientiruyas' na
simpatii  i   antipatii   ob容kta   i   vse   prochie   psihologicheskie
zakonomernosti)  svoego  vneshnego  vida,  osnovnoj  manery  povedeniya,
situacii znakomstva.  Sleduet  uchityvat',  chto  pervoe  vpechatlenie  o
cheloveke na 55%  zavisit ot vizual'nyh vpechatlenij,  na 38%  ot manery
govorit', i tol'ko na 7% - ot togo, chto on govorit.
     *Sredi psihologicheskih  nyuansov,  sushchestvenno  vliyayushchih na pervoe
vpechatlenie, ne meshaet znat' sleduyushchie*:
     - blagodarya  "effektu  oreola"  (okrashivaniya odnim kachestvom vseh
ostal'nyh) obshchee blagopriyatnoe  vpechatlenie  o  cheloveke  obespechivaet
pozitivnye  ocenki  ego  poka  eshche neizvestnyh (v chastnosti moral'nyh)
kachestv; i - naoborot;
     - yavnaya   fizicheskaya   privlekatel'nost'  uluchshaet  polozhitel'nuyu
ocenku  kak  chert  lichnosti,  tak  i  otdel'nogo   postupka   ("effekt
krasoty");
     - esli muzhchinu soprovozhdaet horosho odetaya zhenshchina  s  simpatichnoj
vneshnost'yu,  on  ocenivaetsya  vyshe,  chem  v soprovozhdenii nekrasivoj i
neakkuratno odetoj zhenshchiny;
     - muzhchiny  nizhe,  chem  polagayut  zhenshchiny,  ocenivayut ih delovye i
intellektual'nye kachestva,  a  zhenshchiny  nizhe,  chem  polagayut  muzhchiny,
ocenivayut ih fizicheskuyu privlekatel'nost';
     - kogda vstrechayutsya muzhchina i zhenshchina, ih vzaimoocenki proishodyat
v  eroticheskih terminah,  hotya horosho vospitannye lyudi ne obnaruzhivayut
svoih emocij;
     - slegka  proglyadyvayushchaya zastenchivost' neredko vosprinimaetsya kak
privlekatel'naya i dazhe seksual'no vozbuzhdayushchaya;
     - privetlivaya  dobrozhelatel'naya ulybka sposobstvuet vozniknoveniyu
doveritel'nosti, smetaya nedoverie i nedoponimanie;
     - chestnoe, tverdoe, muzhestvennoe rukopozhatie v sochetanii s pryamym
vzglyadom v glaza nravitsya pochti vsem;
     - energichnaya  vyrazitel'naya  zhestikulyaciya  otrazhaet polozhitel'nye
emocii i  vosprinimaetsya  poetomu  kak  priznak  zainteresovannosti  i
druzhelyubiya;
     - sobesednik,  kotoryj  smotrit  v  glaza,   simpatichen,   odnako
pristal'nyj  ili  neumestnyj  vzglyad  v  glaza sozdaet neblagopriyatnoe
vpechatlenie, ibo vosprinimaetsya kak priznak vrazhdebnosti;
     - lyudi,  otklonyayushchie pri razgovore korpus nazad ili razvalivshiesya
v kresle,  nravyatsya zametno menee,  chem te,  kto  naklonyaet  korpus  k
sobesedniku, ibo poslednee vosprinimaetsya kak zainteresovannost';
     - zhenshchina obychno nravitsya sil'nee,  kogda ona sidit  v  spokojnoj
poze s neperesekayushchimisya rukami i nogami;
     - skreshchivanie ruk na grudi  chasto  razrushaet  uzhe  obrazovavshijsya
kontakt i ottalkivaet sobesednika;
     - vyrazhennye  krajnosti  v  odezhde  (ochen'  modnyj  ili   slishkom
ustarelyj   kostyum...)   kak   i   chrezmernaya   bezvkusica   porozhdayut
otricatel'noe vpechatlenie;  osobenno brosayutsya v glaza stoptannaya  ili
gryaznaya obuv' i pomyatyj golovnoj ubor;
     - zhenshchiny ocenivayut muzhchinu za 45-60  sekund,  obrashchaya  pri  etom
osoboe vnimanie na ego rech',  glaza,  prichesku,  ruki,  obuv',  odezhdu
(imenno v takoj posledovatel'nosti);
     - "po odezhke" obychno ne tol'ko vstrechayut, no i doveryayut;
     - druzheskaya   obstanovka,   vkusnaya   pishcha,   priyatnaya    muzyka,
neozhidannoe  vezenie  i  vse  prochie  momenty  privodyashchie  sub容kta  v
blagodushnoe nastroenie vsegda sposobstvuyut  blagopriyatnomu  vospriyatiyu
im novogo znakomogo ("effekt perenosa chuvstv");
     - isklyuchitel'nuyu  silu  v  sozdanii   horoshego   nastroeniya,   i,
sootvetstvenno, raspolozheniya sobesednika k vam imeet kompliment, bolee
effektnyj kstati, na otsvechivayushchem fone antikomplimenta sebe.
     *Osnovopolagayushchee vpechatlenie  o  Vas  skladyvaetsya u vizavi i po
vashim pervym frazam*;  imenno nachal'nye  predlozheniya  rozhdayut  u  nego
zhelanie  ili  nezhelanie  prodolzhat'  ishodnyj  razgovor.  Postarajtes'
izbegat':
     - izvinenij  i   vykazyvanij   priznakov   neuverennosti   (krome
special'nyh priemov);
     - dazhe malyh proyavlenij neuvazheniya i prenebrezheniya k sobesedniku;
     - vsyakogo  davleniya  na   vizavi,   vynuzhdayushchego   ego   zanimat'
oboronitel'nuyu poziciyu.
     Optimal'nuyu maneru obshcheniya luchshe vybirat'  soobrazuyas'  s  horosho
izvestnymi   (ili   predpolagaemymi)   individual'nymi   osobennostyami
ob容kta, prichem mozhno rekomendovat':
     - s osobo chuvstvitel'nymi i boleznenno ranimymi - izbegat' vsego,
chto nepriyatno im, soblyudaya, vprochem, meru, inache oni stanut tiranami;
     - s nedoverchivymi i podozritel'nymi - byt' predel'no ostorozhnym i
terpelivym;
     - so  svarlivymi - byt' tverdym i reshitel'nym,  a esli nuzhno,  to
dat' otpor;
     - s  temi,  kto  kaprizen  -  razgovarivat'  spokojnym tonom i ne
obrashchat' vnimanie na ih kaprizy;
     - s donel'zya hvastlivymi i samouverennymi pribegat' k ironii;
     - s  licami  zastenchivymi  ili  bez  chuvstva  yumora  -   izbegat'
kakoj-libo ironii.
     Ne meshaet pomnit',  chto lyubomu cheloveku nravitsya,  esli taktichnyj
vizavi:
     - soperezhivayushche vyslushivaet i voodushevlyaet ego vesti rech' o  sebe
(nichto bolee ne l'stit partneru, kak vnimanie...);
     - nachinaet razgovor na interesuyushchuyu ego temu (ili zadaet voprosy,
na kotorye priyatno otvechat'...);
     - yavno daet pochuvstvovat' ego znachitel'nost'  i  prevoshodstvo  v
nekoj  oblasti,  prichem delaet sie predel'no iskrenne (fal'sh' dovol'no
redko udaetsya skryt', i ona vosprinimaetsya kak oskorblenie...);
     - proyavlyaet   k   nemu   nepoddel'nyj  interes  (a  ne  staraetsya
zainteresovat' soboj);
     - vsegda pomnit ego imya;
     - ne zloupotreblyaet neznakomymi slovami;
     - izlagaet mnenie, podobnoe ego sobstvennomu.
     Psihologicheskim priemom,  oblegchayushchim nachal'nyj kontakt, yavlyaetsya
*obshchenie s  ob容ktom  kak  so  svoim  starym  znakomym*.  |tu  ulovku,
vprochem,  mozhno ispol'zovat'  tol'ko  pri  sootvetstvuyushchej  psihologii
cheloveka i podhodyashchej situacii.
     V teh sluchayah,  kogda  na  predvaritel'nuyu  (zaochnuyu)  razrabotku
cheloveka  sovsem  net vremeni,  neobhodimo bystro proanalizirovat' vse
ego vneshnie dannye (lico,  figuru,  odezhdu...) i emocional'nye (maneru
govorit',  zhestikulyaciyu...)  priznaki  i  dejstvovat'  soobrazuyas'  so
svoimi predpolozheniyami.
     *Priemy znakomstva*,   obespechivayushchie   optimal'nyj   povod   dlya
nachal'nogo obmena frazami mogut byt', skazhem, takimi:
     1. Provocirovanie ob容kta na okazanie pomoshchi Vam:
     - simulirovanie padeniya na ulice, vyviha nogi, vnezapnoj slabosti
i inyh simptomov, svyazannyh so zdorov'em;
     - imitaciya nelovkosti,  vyroniv v udobnyj moment chto-libo iz ruk;
     - "zabyvanie" svoej veshchi ryadom s ob容ktom;
     - obrashchenie s pros'boj dat'  zakurit'  ili  podskazat'  neslozhnuyu
(ulicu, magazin, vremya...) informaciyu;
     - vyzov  sochuvstviya  svoej  bespomoshchnost'yu   (slomannaya   mashina,
tyazhelye veshchi, rasteryannost' na ulice...); eto - zhenskij variant.
     2. Pribeganie k pomoshchi, kotoruyu okazyvaete ob容ktu Vy:
     - chetkoe  ispol'zovanie sluchajnoj (ili organizovannoj) nelovkosti
ob容kta  v  svyazi  s  nedostatkom  informacii  o  chem-libo   (pokazat'
opredelennoe mesto, ob座asnit' kak chto-to sdelat'...);
     - lovkoe zadejstvovanie sluchajnoj (a  to  i  predusmotrennoj  ili
sozdannoj)  potrebnosti  dlya  ob容kta  v kakoj-libo usluge (posobit' v
naladke mashiny, predlozhit' lishnij biletik, podvezti kuda-libo...);
     - predlozhenie  sebya  ob容ktu v kachestve neobhodimogo emu v dannyj
moment kompan'ona (dlya raspitiya alkogol'nyh napitkov, igry v karty ili
shahmaty, "izlivaniya dushi"...);
     - podklyuchenie k situaciyam,  obuslovlivayushchim  narusheniya  dorozhnogo
dvizheniya ("spasenie" ob容kta...);
     - imitirovanie  napadeniya  na  ob容kt  kriminal'nyh  elementov  i
"spasenie" ego v etoj situacii.
     3. Znakomstvo cherez obshchih znakomyh:
     - vyverennye  po  vremeni vizity k opredelennym licam,  u kotoryh
chasto byvaet ob容kt;
     - neposredstvennaya pros'ba k obshchemu znakomomu poznakomit' vas;
     - podvedenie obshchego znakomogo k mysli  svesti  vas  kak  lyudej  s
obshchim  uvlecheniem  (hobbi)  ili  sposobnyh  byt'  poleznymi drug drugu
(pryamoj pros'by pri etom net);
     - zainteresovyvanie  obshchego  znakomogo ego lichnoj vygodoj v vashem
znakomstve s ob容ktom.
     4. Znakomstvo na razlichnyh kul'turnyh ili sportivnyh meropriyatiyah
(v kino,  teatre,  na koncerte,  lekcii,  stadione...), obespechiv sebe
sosedstvo  s  ob容ktom  posredstvom  "lishnego"  biletika,  biletami ot
obshchego znakomogo ili kakim-libo inym tryukom:
     - podklyuchenie k emocional'nomu reagirovaniyu ob容kta na zrelishche;
     - inscenirovanie   roli   "novichka",   interesuyushchegosya    mneniem
"specialista";
     - vydacha bezadresnyh zamechanij, mogushchih zainteresovat' ob容kt;
     - kratkovremennoe  ostavlenie svoego mesta s pros'boj prismotret'
za nim.
     5. Znakomstvo v ocheredyah (za konkretnym tovarom, teatral'nymi ili
transportnymi biletami,  v OVIR,  k vrachu...),  uchityvaya, chto obshchnost'
situacii v kakoj-to mere sblizhaet lyudej:
     - organizaciya obshchego  razgovora  na  kakuyu-libo  aktual'nuyu  temu
(putem podachi bezadresnyh replik ili reagirovaniya na takovye);
     - kratkovremennoe pokidanie ocheredi  s  pros'boj  prismotret'  za
ostavlyaemoj veshch'yu i mestom.
     6. Znakomstvo na osnove hobbi:
     - odnovremennoe  otkrovennoe  zanyatie odnim delom s ob容ktom (beg
po utram, igra v futbol ili volejbol, trening v ushu...);
     - periodicheskoe      poseshchenie      mest      sbora     hobbistov
(specializirovannye    vystavki,    lokal'nye    kluby,     konkretnye
"pyatachki"...);
     - celevoe obrashchenie k nuzhnomu cheloveku  po  ch'ej-to  rekomendacii
(predlozhenie   o   pokupke   ili   obmene,  sluchka  sobak,  pros'ba  o
konsul'tacii...).
     7. Znakomstvo  cherez  detej  (v poezdah,  parkah,  detskih sadah,
kafe...):
     - kontakt "svoego" maloletka s rebenkom ob容kta (igra,  ugoshchenie,
podarok...), kotoryj i "znakomit" s roditelyami;
     - okazanie  emu  na  glazah  u  roditelya  melkoj  pomoshchi (podnyat'
upavshego, otognat' sobaku...);
     - inscenirovanie   propazhi   rebenka   i  razygryvanie  roli  ego
spasitelya.
     8. Vyzov  interesa  k  sebe  (iniciativa  znakomstva zdes' dolzhna
ishodit' ot ob容kta):
     - znaya   nuzhdy  i  slabosti  dannogo  cheloveka,  privlechenie  ego
aktivnogo vnimaniya s pomoshch'yu odezhdy, shutok, anekdotov, fokusov, sluhov
i    spleten,    original'nyh    suzhdenij,    interesnoj   informacii,
prityagatel'nyh namekov o  svoih  vozmozhnostyah  chto-to  dostat',  nechto
uznat', kuda-to ustroit'...
     - proflanirovat' neskol'ko raz pod vzglyadom  ob容kta,  ne  buduchi
odnako navyazchivym, a kogda on vzglyanet na Vas, spokojno posmotret' emu
v perenosicu i myslenno prikazat': "Vy hotite so mnoj poznakomit'sya, ya
zhdu Vas!".
     9. Obnarodovanie  nekoego  ob座avleniya  (v  gazete,  pod容zde,  na
ulice,  t.e. tam, gde ego obyazatel'no uvidyat), mogushchego zainteresovat'
nuzhnogo Vam cheloveka:
     - o prodazhe;
     - o pokupke;
     - o rabote;
     - o neobhodimosti v pomoshchi;
     - o predlozhenii uslug.
     10. Otsylka  pis'ma,  kakovoe,  ishodya   iz   lichnosti   ob容kta,
obyazatel'no zainteresuet ego i vyzovet zhelanie otvetit' ili vstupit' v
pryamoj kontakt s Vami (inoj raz  perspektivno  postepennoe  nagnetanie
zaintrigovannosti seriej special'nyh poslanij...). Svoj obratnyj adres
(pryamoj libo promezhutochnyj) mozhno davat' srazu ili zhe posle neskol'kih
pisem. Glavnoe v etom prieme - ne pereigrat'.
     Dlya dobrotnogo zavyazyvaniya znakomstva otbirayut neskol'ko  udobnyh
priemov - osnovnoj i dva-tri zapasnyh.
     YAvno vyrazhennaya nepriyazn' cheloveka  chasto  ob座asnyaetsya  tem,  chto
sobesednik  (libo situaciya) napominaet emu kogo-to (libo chto-to) s kem
(libo  s  chem)  u  nego  svyazany  negativnye   emocii   ili   ozhidaniya
(nacional'naya nepriyazn', religioznye predrassudki, lichnaya vrazhda...).
     Pervyj kontakt  chashche  vsego   zakanchivaetsya   vezhlivoj,   no   ne
obyazyvayushchej   dogovorennost'yu  "kak-nibud'  sozvonit'sya".  Sleduet  ne
proyavlyat' izlishnej zainteresovannosti v novyh vstrechah s ob容ktom.



     V etoj faze razrabotki znakomstva trebuetsya sozdavat' povody  dlya
povtornyh  vstrech,  ibo chem bol'she svidanij,  tem sil'nee veroyatnost',
chto obshchayushchiesya ponravyatsya drug drugu.  Nadobno,  odnako,  stremit'sya k
tomu, chtoby iniciativa dal'nejshih vstrech ishodila ot ob容kta.
     Esli ob容kt sochtet,  chto poziciya vizavi sootvetstvuet  ozhidaemoj,
znakomstvo   uglublyaetsya,   poyavlyayutsya   obshchie  temy  dlya  razgovorov,
voznikaet   obshchnost'   na   osnove   individual'nyh   predpochtenij   i
emocional'nyh soperezhivanij;  u ob容kta poyavlyaetsya aktivnaya simpatiya k
partneru.
     Osnovnymi pobuzhdeniyami   k  bolee  chastomu  obshcheniyu  zdes'  mogut
sluzhit':
     - potrebnost' v dominirovanii;
     - potrebnost' vo vnutrennem komforte (bezopasnosti);
     - potrebnost' v samoutverzhdenii;
     - potrebnost' v sochuvstvii i ponimanii;
     - potrebnost' v "gide po razvlecheniyam";
     - davlenie so storony drugih;
     - zhelanie kooperacii (delovogo sotrudnichestva).
     Tochnaya konkretika motivacij yavno zavisit  ot  zhiznennyh  situacij
cheloveka i psihologicheskih svojstv ego lichnosti.
     *Sposoby uglubleniya   znakomstva   chashche   vsego    osnovany    na
podygryvanii   dejstvuyushchim  na  dannyj  moment  pobuzhdeniyam  i  byvayut
takimi*:
     1. Organizaciya "sluchajnyh" vstrech v kinoteatre, teatre, na ulice,
vecherinke, brifinge i t.d....
     2. Znaya   vkusy,   nuzhdy  i  "slabinki"  ob容kta,  ugozhdat'  emu,
predlagaya:  den'gi v dolg,  bilety v  teatr,  kartridzhi,  videozapisi,
modnye knigi i speczhurnaly, yavno prestizhnuyu informaciyu...
     3. Obespechenie (ili ispol'zovanie) nepriyatnostej i zatrudnenij  v
delovoj libo lichnoj zhizni ob容kta s nenavyazchivym predlozheniem pomoshchi v
ih preodolenii. (Sleduet znat', chto aktivnye lyudi v situaciyah neuspeha
sklonny k rasshireniyu kruga obshcheniya, a passivnye - k suzheniyu).
     4. Razzhiganie v ob容kte postoyannogo interesa  k  sebe  i  zhelaniya
obshchat'sya,    ispol'zuya    ego    manii   (kollekcionnuyu,   rybolovnuyu,
kinologicheskuyu,  kartezhnuyu,   shahmatnuyu,   komp'yuternuyu,   sportivnuyu,
muzykal'nuyu, eroticheskuyu, literaturnuyu...). Manii zadejstvuyut:
     - pokazyvaya zhivejshij interes k obsuzhdaemoj teme;
     - prepodnosya  ob容ktu melkie,  no lyubopytnye manijnye podarki ili
davaya emu poleznuyu specinformaciyu;
     - podygryvaya   ego   samolyubiyu   utverzhdeniem  ego  znachimosti  i
pervenstva v dannoj oblasti (proigrysh tennisnoj  partii,  isprashivanie
tematicheskogo soveta...).
     5. Ispol'zovanie   kogo-libo   tret'ego    (blizkogo    cheloveka,
rodstvennika,    kollegi    ili    priyatelya   ob容kta),   sdelav   ego
zainteresovannym v vashih dal'nejshih vstrechah s nuzhnym individom.
     *Esli neobhodimo  rezko sokratit' distanciyu obshcheniya* (a eto imeet
smysl pri ustanovke  kontrolya  nad  volej  ob容kta  i  odnostupenchatoj
verbovke)  chasto  pribegayut  k  forsirovannym  tryukam,  sleduya kotorym
nuzhno:
     1. Raskryvat'sya  pered  ob容ktom  so  storony  vyzyvayushchej  u nego
blagogovejnoe voshishchenie:
     - vykazyvaniem  potryasayushchego  umeniya i hrabrosti pri inscenirovke
kriminal'nogo napadeniya;
     - demonstraciej svoih osobyh "talantov" i intellekta na lyudyah ili
(v zavisimosti ot psihologii ob容kta) naedine.
     2. Vozbuzhdat' u kontroliruemogo cheloveka uglublennoe sochuvstvie i
soperezhivanie:
     - obmenom   avtobiograficheskimi   izliyaniyami  (doverie  porozhdaet
otvetnoe doverie...);
     - inscenirovaniem  bolezni  (bol'  i vyzvannye eyu stradaniya chasto
sposobstvuyut simpatii k strazhdushchim i chuvstvu obshchnosti s nimi);
     - imitirovaniem nepriyatnostej (poplakat'sya, no ne pereborshchit').
     3. Vyzyvat' u individa ostruyu neobhodimost' v vashej pomoshchi:
     - privedeniem   cheloveka   v   raznotipnye  i  vrode  beznadezhnye
polozheniya s vnedreniem emu mysli,  chto tol'ko Vy mozhete ego spasti (i,
konechno, delaete eto...).
     Vybor sootvetstvuyushchej ulovki  obuslovlivaetsya  tonkim  ponimaniem
psihologii  ob容kta  v  sochetanii  s  vashimi vozmozhnostyami i voznikshej
situaciej.
     Tshchatel'naya ochnaya   razrabotka  ob容kta  podrazumevaet  postoyannye
kontakty  s  nim,   oblegchit'   kotorye   pomozhet   znanie   koe-kakih
psihologicheskih nyuansov, privedennyh v chasti tret'ej.



     V hode   lichnogo   obshcheniya   i   special'no   sozdannyh  situacij
malo-pomalu  osushchestvlyaetsya  raspoznavanie   vzglyadov   ob容kta,   ego
vozmozhnostej,    slabostej,    sklonnostej,   cennostej,   pobuzhdenij,
sposobnostej,  psihofizicheskih i intellektual'nyh kachestv...  To,  chto
konkretno   nado   uznat',   opredelyaetsya  cel'yu  razrabotki  cheloveka
(verbovka,  manipulirovanie,   ustranenie...)   i   orientiruetsya   na
unificirovannuyu tablicu dos'e.
     Vsestoronnee prosvechivanie ob容kta  luchshe  vsego  proizvodit'  po
     
opredelennoj sheme  (r79.tif),  sleduya  kotoroj  namechayut  i realizuyut
nekuyu zondiruyushchuyu akciyu, otslezhivayut reakciyu na nee, delayut vyvod i na
osnove etogo vyvoda vypolnyayut proverochnoe testirovanie.
     Pered osnovnym  zondirovaniem  sleduet  provesti predvaritel'noe,
proyasnyayushchee  individual'nye  osobennosti  reagirovaniya   cheloveka   na
znachimuyu dlya nego informaciyu.
     Vypolnyaya testirovanie,    sostavlyayut    chetyrehzvennuyu    tablicu
("akciya",  "reakciya ob容kta",  "vyvod",  "primechanie"), v pervuyu grafu
kotoroj ("akciya") vnosyat temy namechaemyh razgovorov ili zhe proverochnyh
tryukov.  Vse posleduyushchie stolbcy zapolnyayut po mere provedeniya celevogo
zondirovaniya,  prichem v grafe  "primechaniya"  registriruyut  te  vneshnie
usloviya, kotorye mogli povliyat' na rezul'taty nablyudeniya.
     *Gotovyas' k provedeniyu testirovaniya, nado*:
     - opredelit'  mesto  i v sootvetstvii s nim - cel',  temu i metod
(razgovor ili tryuk) zondazha;
     - podobrat' zondiruyushchuyu informaciyu;
     - vybrat' stil' i taktiku (poryadok i  sposob)  pred座avleniya  etoj
informacii;
     - produmat' nachal'nuyu i zavershayushchuyu fazy obshcheniya (eto neobhodimo,
chtoby zalozhit' v soznanie ob容kta nuzhnuyu Vam versiyu razgovora, a takzhe
stimulirovat' dal'nejshie kontakty s nim).
     *V hode nablyudeniya otslezhivayut*:
     - neverbal'noe povedenie (mimiku,  obmen vzglyadami,  vse dvizheniya
tela, zhesty...);
     - paralingvisticheskoe povedenie (ton  i  tembr  golosa,  pauzy  v
rechi...);
     - lingvisticheskoe povedenie (slova,  sintaksis);
     - peremeshcheniya v prostranstve.
     Osnovnoe pravilo testirovaniya glasit:  "Bol'she nablyudatel'nosti -
i men'she predubezhdenij".
     Stepen' grubosti  zondazha  (plavnoe  vpletenie  v  nit'   besedy,
rezkost'  fakta...)  soglasuetsya  s  soobrazitel'nost'yu  ob容kta,  ego
lichnostnoj chuvstvitel'nost'yu i  situaciej.  Otnoshenie  testiruyushchego  k
osnovnoj teme zondirovaniya dolzhno byt' dostatochno nejtral'nym, chtoby v
sluchae rezko otricatel'noj reakcii mozhno bylo  podygrat'  ob容ktu  ili
bez ushcherba dlya sebya perejti na druguyu temu.
     Zapolnyaya dannuyu tablicu,  nikogda  ne  toropites'  s  vyvodami  i
vsegda predel'no chetko registrirujte te aspekty ("reakciyu ob容kta") na
osnove kotoryh oni sdelany.
     *Provodya testirovanie sleduet uchityvat', chto*:
     - deklariruemye ustanovki lyudej malo svyazany  s  ih  neverbal'nym
povedeniem (govoryat odno, a delayut drugoe...);
     - emocii,  vyzvannye zaochnoj  ocenkoj  situacii,  neredko  byvayut
sil'nee, chem voznikayushchie pri real'nom kontakte s takoj situaciej;
     - chelovek bystryj,  smelyj i reaktivnyj v besede mozhet  okazat'sya
sovershenno inym v kriticheskoj situacii;
     - chelovek vol'no ili nevol'no raskryvaetsya govorya o sebe;
     - sobesednik poznaetsya v spore;
     - "ni v chem tak ne proyavlyaetsya harakter lyudej kak v tom,  chto oni
nahodyat smeshnym";
     - "manera smeyat'sya yavlyaetsya samym horoshim  pokazatelem  haraktera
cheloveka";
     - razgovory na otvlechennuyu temu pozvolyayut  opredelit'  intellekt,
smetlivost', lovkost', reakciyu sobesednika;
     - chtoby ponyat' simpatii i antipatii ob容kta,  oblasti priemlemogo
dlya nego i opredelyayushchie motivacii, ne meshaet proyasnit' ego otnoshenie k
razlichnym istoricheskim i literaturnym lichnostyam;
     - chem zhestche stereotip, tem bol'shuyu emociyu vyzyvaet lyubaya popytka
podvergnut' ego somneniyu;
     - otvetnaya   reakciya   na   utverzhdenie  vsegda  soderzhit  bol'she
informacii, chem otvet na tochno sformulirovannyj vopros;
     - peremena   (uhudshenie)   pogody   zachastuyu  vyzyvaet  apatiyu  i
zamedlenie reakcii;
     - ne  sleduet  prinimat'  molchanie  za  vnimanie;  eto mozhet byt'
pogruzhennost' v sobstvennye mysli;
     - kogda  process  ponimaniya  idet  slishkom  uzh  gladko,  est' vse
osnovaniya ne doveryat' takomu ponimaniyu;
     - harakternoj   oshibkoj   nablyudayushchih  yavlyaetsya  mnenie  o  yakoby
sushchestvuyushchej vzaimosvyazi nekotoryh (chem vyshe agressivnost' - tem bolee
energichnost'...) sovershenno razlichnyh kachestv;
     - cheloveku  svojstvenno  preuvelichivat'  informacionnuyu  cennost'
sobytij   podtverzhdayushchih  ego  gipotezu  i  nedoocenivat'  informaciyu,
zaklyuchayushchuyusya v protivorechashchih ej faktah;
     - trevozhnyj chelovek ohotnee obsuzhdaet svoi slabosti i nedostatki,
chem netrevozhnyj;  trevozhnost' zhe obychno proyavlyaetsya v takom povedenii,
kotoroe mozhno nazvat' chrezmernoj chuvstvitel'nost'yu k razdrazhitelyam;
     - ploho sformulirovannyj vopros mozhet nastorozhit' sobesednika;
     - sleduet pomnit', chto vizavi "slyshit" i ponimaet namnogo men'she,
chem hochet pokazat';
     - stoit individu v chem-to proyavit' sebya liderom,  kak na nego i v
drugih situaciyah budut smotret' kak na lidera;
     - vse  obshchitel'nye  i  zhivye  lyudi  predpochitayut  ustnuyu rech',  a
sosredotochennye v sebe, stesnitel'nye i zastenchivye - pis'mennuyu;
     - esli   povedenie   partnera   strogo   fiksirovano   pravilami,
avtoritetami  ili  drugimi  istochnikami,   to   sub容kt   ne   slishkom
vospriimchiv  k  ego  pozicii  i  ne pytaetsya predstavit' sebya v luchshem
svete;  kogda  povedenie  partnera  kazhetsya   svobodnym,   to   obychno
nablyudaetsya protivopolozhnyj effekt;
     - lyudi s sil'nym samouvazheniem vedut sebya nezavisimo po otnosheniyu
k  svoej  "reputacii",  hotya  neskol'ko  orientiruyutsya na nee;  lyudi s
nizkim samouvazheniem sleduyut svoej "reputacii";
     - individy  mogut  byt'  samimi  soboj  lish' v sostave nebol'shih,
poddayushchihsya ih ponimaniyu grupp;
     - povedenie  cheloveka chashche vsego menyaetsya na publike po sravneniyu
s povedeniem v odinochestve;  ono takzhe  izmenyaetsya  v  zavisimosti  ot
auditorii.  |to  svyazano  s  tem,  chto *lyuboj chelovek zainteresovan vo
vpechatlenii, proizvodimom na okruzhayushchih i zadejstvuet pri etom odnu iz
dvuh sushchestvuyushchih strategij*:
     - "ublazhayushchuyu" (podstraivayas' k auditorii);
     - "samoutverzhdayushchuyu"  (podkreplyaya  svoe  "YA" i pytayas' proizvesti
horoshee vpechatlenie za schet kachestv, vhodyashchih v ideal'noe "YA");
     - zhenshchiny i mnogie nacmeny obychno bolee konformny.
     Naryadu s ocenkoj  povedeniya  ob容kta  pri  personal'nom  obshchenii,
*sleduet  proanalizirovat'  ego  dejstviya  v samyh razlichnyh sozdannyh
(tryuki) i samoproizvol'nyh (zhizn') situaciyah*.  Delaya  eto  uchityvayut,
chto:
     - bolee legko proyavlyayut harakter v privychnyh situaciyah;
     - o  konkretnom  svojstve  temperamenta  dovol'no  tochno  govorit
otslezhivanie ego v naibolee trudnyh dlya vykazyvaniya usloviyah;
     - stalkivayas'  s  trudnostyami,  chelovek otkrovennee vyrazhaet svoi
chuvstva;
     - iz  togo,  v  kakih  konkretnyh  obstoyatel'stvah izuchaemoe lico
teryaet samokontrol' i zdravyj smysl,  mozhno uznat' znachimost' dlya nego
etih obstoyatel'stv, podlinnye interesy, temperament, privychki...;
     - esli individ dovol'no chetko vypolnyaet trebovaniya  razygryvaemoj
im roli,  eto nichego ne govorit o ego lichnostnyh harakteristikah; esli
on otklonyaetsya ot roli - eto harakterizuet ego.
     Zamechatel'nuyu informaciyu mozhet dat' analiz pisem ob容kta, tak kak
oni risuyut cheloveka v otnoshenii k drugomu cheloveku,  t.e.  v nekotoroj
konkretnoj  situacii.  Pri  etom  neobhodimo  znat',  koimi  usloviyami
vyzvana prosmatrivaemaya perepiska i kakovy otnosheniya  mezhdu  avtorami.
Ves'ma  informativny  razlichiya  v  perepiske  odnogo  i togo zhe lica s
raznymi adresatami.
     Dopolnitel'nye svedeniya    ob   emocional'no-volevyh   i   drugih
kachestvah  ob容kta   mozhno   pocherpnut'   iz   analiza   ego   pocherka
(grafologiya...),  hotya pri ispol'zovanii sharikovyh ruchek mnogie nyuansy
dannoj informacii v obshchem-to teryayutsya. Ne meshaet, vprochem, znat', chto:
     - esli   polya  pis'ma  sleva  bol'she,  chem  sprava,  to  pisavshij
druzhelyuben k adresatu, i na ego psihiku nichego ne davit;
     - esli  polya  pis'ma sprava bol'she,  chem sleva - eto poslanie dlya
nego lish' pustaya formal'nost';
     - esli   levoe   pole   knizu   rasshiryaetsya,  pis'mo  pisalos'  v
napryazhennoj obstanovke,  vozmozhno pri ogranichenii  vo  vremeni  ili  s
vnutrennim zhelaniem skryt' real'noe polozhenie veshchej;
     - stroki  uhodyashchie  zametno  vverh   otmechayut   yavno   povyshennoe
nastroenie pishushchego, a napravlennye vniz - ponizhennoe;
     - haoticheskoe izmenenie velichiny bukv soobshchaet o nervoznosti;
     - lichnaya podpis' posle priyatnyh sobytij vsegda krupnee, chem posle
nepriyatnyh.
     Opredelennuyu prognosticheskuyu  cennost'  (osobenno  esli  ne  bylo
zaochnoj  razrabotki  ob容kta)  mogut  imet'  ego   fizicheskie   (rost,
teloslozhenie,  volosy,  glaza...)  dannye.  Polagat'sya  tol'ko na nih,
vprochem, bylo by ser'eznoj oshibkoj.
     Tak kak   vsyakoe   povedenie   cheloveka  napravlyaetsya  odnim  ili
neskol'kimi motivami (pobuzhdeniyami),  kakovye  ne  vsegda  osoznayutsya,
ochen' vazhno raspoznat' istinnye motivacii ob容kta.
     Sleduet uchityvat',  chto motivy obladayut  vyrazhennoj  ierarhiej  i
byvayut   inoj  raz  polyarno  protivopolozhnymi  ("bor'ba  motivov"...).
Predskazat' postupki cheloveka tol'ko po odnomu iz  motivov  ne  vsegda
vozmozhno. *Demonstriruemoe povedenie individa opredelyaetsya*:
     - tem, chto by on hotel sdelat' (zhelaniyami);
     - tem,  chto  on  schitaet  nuzhnym  sdelat'  (social'nymi  normami,
rolevym povedeniem);
     - tem, chto on obychno delaet (privychkami);
     - ozhidaemymi posledstviyami povedeniya (plyusami i minusami);
     - raznymi osobennostyami situacii (vneshnimi obstoyatel'stvami).
     *Vyyavlyaya motivacii, uchityvayut*:
     - zayavleniya ob容kta (pomnya, vprochem, chto vozmozhna kak namerennaya,
tak  i  neproizvol'naya  -  v  raschete  na   social'noe   odobrenie   -
dezinformaciya);
     - vse obmolvki i ogovorki ob容kta;
     - voznikayushchie u nego associacii;
     - predpochtitel'nye temy dlya razgovora;
     - znaniya o nerealizovannyh dejstviyah (namereniyah) ob容kta;
     - povedenie ob容kta v konkretnyh situaciyah;
     - uroven'   ego   nastojchivosti   pri  stolknovenii  s  pregradoj
(velichinu prilagaemyh usilij po ee preodoleniyu);
     - summu  vremeni zatrachivaemogo ob容ktom na opredelennye dejstviya
ili razgovory;
     - akcentirovanie ego vnimaniya na konkretnyh faktorah situacii;
     - tip i intensivnost' emocional'nyh reakcij.



     Dobytuyu v  hode  razrabotki  cheloveka   informaciyu   pomeshchayut   v
formalizirovannoe  dos'e,  zapolnyaemoe  radi  udobstva po opredelennoj
sheme, sochetayushchej dva osnovnyh razdela:
     - personograficheskie dannye i fakty iz zhizni,
     - harakternye osobennosti lichnosti  (fizicheskie,  funkcional'nye,
obshchie, psihicheskie i intellektual'nye).
     Predstavlyaemaya v dos'e faktura dopolnyaetsya,  kak  pravilo,  dvumya
poyasneniyami:
     - otkuda  vzyata  eta   informaciya   (i,   konechno,   stepen'   ee
nadezhnosti),
     - kak konkretno ee mozhno ispol'zovat'.
     V utonchennoe   dos'e   inoj   raz  vklyuchayut  special'nyj  razdel,
koncentriruyushchij   svedeniya,   obespechivayushchie   okazanie   optimal'nogo
davleniya na ob容kt v nuzhnyj moment.
     Tipovoj variant rabochego dos'e formiruetsya obychno tak:



     I. Personograficheskie dannye i fakty iz zhizni
     (Dlya orientacii  k  kazhdomu fragmentu zdes' prilozhen kommentarij,
otmechayushchij (A) - gde eti svedeniya mozhno poluchit',  i  (B)  -  chem  oni
mogut byt' polezny).
     *1. Familiya, imya, otchestvo*
     (A) lichnye  dokumenty,  delovye  i  personal'nye  bumagi,  pochta,
kontaktery...
     (B) orientirovanie  v  nacional'nosti,  rodstvennikah  i predkah,
predstavlenie o pretencioznosti i vzglyadah roditelej,  sodejstvie  pri
kontaktah...
     *2. Parallel'nye  imena,  klichki,  prozvishcha,  psevdonimy   i   ih
ispol'zovanie* (kogda, gde, pochemu, stepen' ih skryvaemosti...)
     (A) pis'ma,  lichnye  bumagi,  telefonnye  i  obychnye   razgovory,
kontaktery...
     (B) dlya  opredelennogo  vozdejstviya  (porazit'  osvedomlennost'yu,
zapugat'...), dlya ishodnogo kontakta (parol'-podtverzhdenie...), v hode
vyyavleniya kontakterov...
     *3. Data   rozhdeniya,  znak  zodiaka  i  vozrast*  (po  imeyushchemusya
pasportu, fakticheski, stepen' skryvaemosti, prichiny...)
     (A) lichnye    dokumenty,   uchetnye   kartochki   (na   rabote,   v
domoupravlenii,  pasportnom stole,  voenkomate,  bol'nice, biblioteke,
institute, part座achejke...); kontaktery, podarki i pozdravleniya;
     (B) veroyatnye vzglyady (konservatizm starosti,  romantizm  yunosti,
racionalizm   zrelosti...)   i   motivacii   (seks,  kar'era,  zhelanie
pokoya...),  fiziologicheskie vozmozhnosti  organizma  (fizicheskaya  sila,
obonyanie,   sluh,   pamyat',   vynoslivost'...),   vremya   optimal'nogo
vozdejstviya (bioritmika...), povod dlya sblizheniya (vizit, pozdravlenie,
podarok...).
     *4. Mesto   rozhdeniya*   (strana,   naselennyj   punkt,    klimat,
prichiny...)
     (A) lichnye dokumenty i uchetnye kartochki, kontaktery, sam...
     (B) predstavlenie    o    nekotoryh     osobennostyah     lichnosti
(seksual'nosti, agressivnosti, sklonnosti k opredelennym boleznyam...),
povod dlya sblizheniya (zemlyaki...), poisk zhiznennyh peripetij...
     *5. Nacional'nost'* (po imeyushchemusya pasportu,  fakticheski, stepen'
skryvaemosti, prichina, chuvstvo obshchnosti...)
     (A) lichnye dokumenty i uchetnye kartochki, kontaktery, "ekster'er",
sam...
     (B) predstavlenie o nekotoryh osobennostyah lichnosti (i  vozmozhnyh
motivaciyah)   (konformizm,   predpriimchivost',   "dikost'"...  chuvstvo
elitarnosti,  lokal'naya vrazhdebnost'...), dlya zadejstvovaniya ob容kta i
manipulyacii...
     *6. Roditeli* (F.I.O., daty, adres, familii do braka, mikrosreda,
zanyatiya, stepen' blizosti, avtoritetnost'...)
     (A) lichnye dokumenty  (svidetel'stvo  o  rozhdenii),  lichnoe  delo
(avtobiografiya),  domovye  knigi,  uchetnye kartochki (voenkomat,  vuz),
razlichnye ankety, kontaktery, sam...
     (B) ponimanie  opredelennyh  osobennostej  lichnosti (vospitanie),
sredstvo  vozdejstviya  na  ob容kt  (shantazh,   vliyanie...),   istochniki
informacii.
     *7. Semejnost'*   (sostav,   s   kem   zhivet,    data    svad'by,
nacional'nost'    zheny    (muzha),   kratkie   dannye   chlenov   sem'i,
vzaimootnosheniya,  ton obshcheniya (avtoritarnost',  ravnopravie...), obshchaya
atmosfera...)
     (A) lichnye  dokumenty  i  bumagi,   pis'ma,   uchetnye   kartochki,
kontaktery     (rodstvenniki,    znakomye,    roditeli,    sosedi...),
perehvachennye razgovory, nablyudenie, sam...
     (B) sredstva  dlya vozdejstviya na ob容kt (shantazh,  zavualirovannoe
vliyanie...),  vyyavlenie  motivacij  (seksual'naya  neudovletvorennost',
lyubov' k detyam...), tochnye istochniki informacii, nekie vozmozhnosti dlya
sblizheniya (posredniki)...
     *8. Rodstvennye svyazi i znakomstva* (byvshie zheny i lyubovnicy,  ne
zhivushchie vmeste deti,  druz'ya detstva,  kollegi po rabote,  znakomye po
uvlecheniyu,  "nuzhnye znakomye", rodstvenniki s toj i drugoj storony...,
ih F.I.O.,  adresa, telefony, vozrast, obrazovanie, zanyatiya, stepen' i
prichina blizosti...)
     (A) perehvachennye pis'ma  i  razgovory,  nablyudenie,  kontaktery,
lichnye  upominaniya,  chastnye bumagi (zapisnye knizhki,  starye pis'ma i
otkrytki,  obryvki   zapisej   i   nomera   telefonov   na   razlichnyh
nositelyah)...
     (B) novye istochniki informacii,  ponimanie  nekotoryh  motivacij,
faktory vozdejstviya (cherez nih,  cherez ugrozu im...),  sredstva vyhoda
na ob容kt i vozmozhnosti sblizheniya  s  nim,  v  hode  poiskov  ob容kta,
lozhnyj sled pri nejtralizacii...
     *9. Partijnost'   i   religioznost'*    (chlenstvo,    aktivnost',
iskrennost',  uroven'  prityazanij i avtoritetnost',  "smena loshadok" i
prichiny etogo, otnoshenie k drugim partiyam i ih lideram...)
     (A) lichnye dokumenty i uchetnye kartochki,  otlovlennye razgovory i
sluchajnye nablyudeniya, kontaktery i sam, sluhi i pressa...
     (B) ponimanie  nekotoryh  motivacij  i  chert haraktera (idealizm,
kar'erizm,  nacionalizm...),  sredstva dlya vozdejstviya (shantazhirovanie
diskreditaciej,  podavlenie  avtoritetom...),  nekie  vozmozhnosti  dlya
sblizheniya,  povod  dlya  zadejstvovaniya  v  igre,   lozhnyj   sled   pri
nejtralizacii...
     *10. Obrazovanie  i  special'nost'  po  obrazovaniyu*  (chto,  gde,
kogda,  s kem,  otnoshenie k etomu,  podlinnost' diploma, rabotal li po
etoj special'nosti, pochemu net, hochet li rabotat'...)
     (A) lichnye   dela,   uchetnye   kartochki   (voenkomat,  pasportnyj
stol...), trudovaya knizhka, kontaktery, sluhi i spletni, sam...
     (B) predstavlenie  o  vozmozhnostyah kar'ery i tipichnyh vzglyadah na
zhizn',  vyhod na veroyatnyh kontakterov (sokursniki, prepodavateli...),
dlya ispol'zovaniya ih kak informatorov ili sredstv sblizheniya, vyyavlenie
pokrovitelej, povody dlya privlecheniya k igre...
     *11. Ucheba v nastoyashchee vremya* (gde,  kak, zachem, v kakoe vremya, s
kem)
     (A) lichnye dela, kontaktery, sluhi, sam...
     (B) ponimanie  nekotoryh  ustanovok  i  chert   haraktera,   nekie
vozmozhnosti  dlya  sblizheniya,  obosnovannost'  dlya  podklyucheniya k igre,
podbiranie momentov dlya konkretnyh akcij...
     *12. Znanie yazykov* (kakie,  kak,  gde,  stepen' skryvaemosti ili
gordosti)
     (A) lichnye   dela   (anketa,   avtobiografiya),   mesta   prezhnego
zhitel'stva,  uchetnye kartochki bibliotek,  poluchaemaya  i  priobretaemaya
pressa, nablyudenie, kontaktery, sam...
     (B) kakie  vozmozhnosti  dlya   sblizheniya   (delovoe   predlozhenie,
sodejstvie v izuchenii...), neplohaya zacepka dlya privlecheniya k igre...
     *13. Professiya, mesto raboty, sluzhebnye obyazannosti* (v nastoyashchee
vremya,   v   proshlom,  skol'ko  rabotal,  kogda  ushel,  prichiny  uhoda
(oficial'nye   i   real'nye),   otnosheniya   s    kollegami,    uroven'
professionalizma,   svyazana   li  rabota  s  poluchennym  obrazovaniem,
otnoshenie k rabote,  grafik raboty,  uroven' dopuska,  nomera  rabochih
telefonov, adres...)
     (A) lichnye dela,  uchetnye kartochki,  trudovaya knizhka,  kontaktery
(rodstvenniki,  znakomye,  kollegi po rabote...),  sluhi,  nablyudenie,
sam...
     (B) ponimanie  nekotoryh motivacij,  chert haraktera,  vzglyadov na
zhizn',  ustremlenij,  uyazvimostej; vyyavlenie kontakterov dlya polucheniya
informacii  (kollegi po rabote),  vyyavlenie putej sblizheniya,  sredstva
dlya  vozdejstviya,  nekie  vozmozhnosti  dlya  ustraneniya,   povody   dlya
privlecheniya k igre, lozhnyj sled pri nejtralizacii...
     *14. Perspektivy kar'ery* (professionalizm,  lichnostnye kachestva,
ch'ya-to podderzhka...)
     (A) kontaktery (kollegi po rabote i uchebe,  rodstvenniki,  starye
znakomye,   blizkie   priyateli,  eksperty,  sluhi,  tshchatel'nyj  analiz
deyatel'nosti i lichnosti.
     (B) sredstva  dlya vozdejstviya na ob容kt,  horoshie vozmozhnosti dlya
sblizheniya, lozhnyj sled pri nejtralizacii...
     *15. Perelomnye   etapy   v   biografii*   (kogda,   pochemu,  kak
povliyali...)
     (A) lichnoe   delo  (avtobiografiya),  trudovaya  knizhka  (posluzhnoj
spisok), personal'nye dokumenty (propiski v pasporte, shtampy v voennom
bilete...),   sobstvennye   arhivy   (starye  pis'ma,  fotografii...),
kontaktery, sluhi, sam...
     (B) ponimanie nekotoryh chert haraktera, aspekty uyazvimosti...
     *16. SHCHekotlivye  momenty  biografii*  (kogda,   chto,   uchastniki,
posledstviya,  afishiruemost'  v  svoe  vremya,  kto  eshche znaet,  kto "ne
dolzhen" znat', uroven' skryvaemosti...)
     (A) tajnoe   proslushivanie   telefonnyh   i  obychnyh  razgovorov,
perehvat  pisem,  izuchenie  pressy,  sluhi,  proniknovenie  s  obyskom
(naudachu),  mnenie kontakterov, izuchenie belyh pyaten v avtobiografii i
trudovoj knizhke, lovkoe vyyavlenie pri doprose...
     (B) sredstva sil'nogo vozdejstviya, variant nejtralizacii...
     *17. Zdorov'e i bolezni* (kogda, chem, ne hronik li, sostoit li na
uchete,  sootvetstvuet li vozrastu,  gde i u kogo lechitsya,  otnoshenie k
netradicionnoj medicine...)
     (A) medicinskie  karty,  kontaktery,  sam,  vneshnij vid,  lechashchij
vrach.
     (B) predstavlenie o chertah haraktera, sredstva vozdejstviya, nekie
vozmozhnosti sblizheniya  (obshchnost',  novye  lekarstva,  luchshee  lechenie,
svyazi   s   modnymi   vrachami   i   celitelyami,   put'   dlya   "tihoj"
nejtralizacii...
     *18. Mesta zhitel'stva* (sejchas,  v proshlom,  prichiny smeny, zhivet
li tam gde propisan,  a  esli  net  -  to  gde,  motivy  etogo,  mesta
vremennogo obitaniya (druz'ya, rodstvenniki, snimaemye kvartiry...)
     (A) lichnye  dokumenty,   uchetnye   kartochki,   pasportnyj   stol,
kontaktery, sam, ATS (po nomeru telefony), otslezhivanie...
     (B) sredstva  vozdejstviya  (lokal'nyj  terror...),  uchet  v  igre
(poyavlenie vozle...), vozmozhnosti dlya sblizheniya (vygul sobak...), uchet
pri nejtralizacii (tip napadeniya...), poisk pri neobhodimosti...
     *19. Bytovye usloviya i ih ocenka* (kolichestvo komnat, metrazh, tip
kvartiry,  skol'ko chelovek zhivet (po dokumentam  i  fakticheski),  komu
prinadlezhit,  kak  dostalas',  obstanovka  i udobstva,  prestizhnost' i
obzhitost' rajona...)
     (A) uchetnye   kartochki   zhilotdelov,  domovye  knigi,  kontaktery
(sosedi,  znakomye,  rabotniki kommunal'nyh sluzhb i servisa,  deti...)
sam, analogiya (standartnost' kvartir...), zaslannyj viziter.
     (B) ponimanie otdel'nyh chert haraktera (obstanovka)  i  motivacij
(raspolozhenie),  pomoshch'  v  pronikanii  v  pomeshchenie  s raznymi celyami
(iz座at' ili podlozhit'  chto-libo,  ustanovit'  "zhuchki",  nejtralizovat'
cheloveka...)
     *20. Nalichie dachi* (rajon, uchastok, tip stroeniya, sosedi, kuplena
ili  postroena,  na  kakie  sredstva,  kto i kogda pol'zuetsya,  u kogo
klyuchi, kak dobirayutsya...)
     (A) otdel registracii, kontaktery, sam, otslezhivanie...
     (B) uchet v  igre,  oblegchenie  kontrolya,  povod  dlya  znakomstva,
variant nejtralizacii...
     *21. Material'nye  usloviya*   (zarplata,   nasledstvo,   pobochnye
istochniki dohoda,  skol'ko i kogda poluchaet,  skol'ko i komu dolzhen, u
kogo obychno beret v dolg...)
     (A) raschetnyj otdel, kontaktery, sam, otslezhivanie...
     (B) ponimanie  vozmozhnyh  motivacij  (dobyvanie  deneg,   zhelanie
skryt'  realii  i  kontakty...),  sredstvo  dlya  vozdejstviya na ob容kt
(shantazh, podkup...).
     *22. Obladanie   avtomashinoj*   (tip,  nomer,  mesto  registracii
(gorod),  na kogo oformlena,  kto i kak vodit,  kto pol'zuetsya,  kogda
kuplena,  skol'ko  zaplacheno,  otkuda  den'gi,  est'  li  trudnosti  s
remontom i zapchastyami, gde stoit, est' li garazh, proverena li na ugon,
tip signalizacii, podvozit li drugih...)
     (A) kontaktery    (rodstvenniki     i     znakomye,     rabotniki
avtoservisa)... otslezhivanie, GAI, sam...
     (B) sredstvo davleniya,  oblegchenie vizual'nogo kontrolya,  uchet  v
igre, nekie vozmozhnosti dlya sblizheniya, variant nejtralizacii...
     *23. Telefon* nomera domashnego,  sluzhebnogo i v mestah, gde chasto
byvaet,  tip (knopochnyj,  diskovyj, sotovyj, radio-...), nalichie AONa,
"anti-AONa" i "anti-anti-AONa", dostup k mestu nahozhdeniya)
     (A) kontaktery   (druz'ya,   rodstvenniki  i  znakomye,  rabotniki
servisa,  kollegi po rabote i uvlecheniyam,  zaslannyj viziter...), sam,
kontrol' na linii, ATS...
     (B) dlya sugubo  anonimnogo  obshcheniya,  pri  ustanovlenii  priborov
proslushivaniya, dlya pressinga znaniem, v tehnikah nejtralizacii...
     *24. Raznoe*   (veroyatnoe   uchastie   v   osobyh    meropriyatiyah,
pravitel'stvennye  nagrady,  mesto voinskoj sluzhby,  voinskoe zvanie i
professiya,  svyazi s  kriminalami,  obladanie  sobakoj  i  komp'yuterom,
detali poezdok za granicu...



     Znanie fizicheskih  kachestv  oblegchaet  vzaimodejstvie s ob容ktom,
namekaet na ego predraspolozhennosti (k boleznyam, boli, aktivnosti...),
utochnyaet   varianty   ispol'zovaniya...   Tshchatel'noe   oznakomlenie   s
funkcional'nymi kachestvami poprostu neocenimo dlya ustanovleniya reakcii
ob容kta na soobshchenie ili sobytie (izmenenie pohodki,  golosa, rechi...)
Obshchie nyuansy obespechivayut optimal'noe ponimanie ob容kta i  vysvechivayut
psihointellektual'nyj    razdel,   na   osnove   koego   vystraivaetsya
"psihologicheskij portret" individa - istochnik svedenij dlya ottachivaniya
besproigryshnyh shem verbovki,  manipulirovaniya, fizicheskoj ili delovoj
nejtralizacii...)



     1. Rost (nizkij - srednij (165-175) - vysokij).
     2. Teloslozhenie   (atleticheskoe,   korenastoe,  srednee,  slaboe,
ryhloe).
     3. Ves ili upitannost' (malaya, srednyaya, bol'shaya).
     4. Glaza (cvet, razmer, defekty, osobennosti).
     5. Volosy (cvet, tip, oblysenie, osobennosti).
     6. Zuby (razmer, cvet, nalichie defektov, tip iskusstvennyh...).
     7. Osobye  primety  (neproporcional'nost'  otdel'nyh chastej tela,
shramy i tatuirovki, harakternye mozoli, neestestvennyj cvet kozhi).



     1. Pohodka (temp, dvizheniya ruk, osobennosti).
     2. ZHestikulyaciya (intensivnost', napravlenie zhestov, osobennosti).
     3. Mimika (bogatstvo, bednost', risovannost', konkretika).
     4. Ulybka    (povody   sposobstvuyushchie   poyavleniyu,   vpechatlenie,
osobennosti).
     5. Golos (tembr, sila, chistota, osobennosti).
     6. Rech' (temp, akcent, zhargon, mat, osobennosti).
     7. Dinamika kozhi (izmenenie cveta, potlivost'...).



     1. ZHiznennye  privychki (uvazhaemaya muzyka i literatura,  obozhaemye
napitki i kushan'ya,  tip ispol'zuemyh sigaret, dominiruyushchee nastroenie,
rezhim sna,  chitaemye gazety i zhurnaly,  temy razgovora,  sposoby traty
svobodnogo vremeni,  izlyublennye marshruty,  naibolee poseshchaemye mesta,
izbegaemye  mesta,  predpochitaemaya odezhda,  obychnaya pricheska,  noshenie
borody i usov,  ispol'zovanie glaznyh linz i ochkov, nosimye ukrasheniya,
tip lyudej s kotorymi predpochitaet vstrechat'sya, provedenie otpuska)...
     2. Vzglyady i ih ustojchivost' (politicheskie, moral'nye, zhitejskie,
esteticheskie...;  raznyatsya  li vyskazyvaniya v oficial'noj obstanovke i
lichnom krugu);
     3. Otnoshenie  k  proishodyashchim sobytiyam (bezrazlichnoe,  ironichnoe,
ekstremistskoe...);
     4. Nacionalizm  (skryvanie  nacional'nosti,  prevoznesenie  svoej
nacii,  soblyudenie   nacional'nyh   tradicij,   otnoshenie   k   drugim
nacional'nostyam...);
     5. Otnoshenie k rodnym i blizkim (stepen' privyazannosti, chastota i
tip kontaktov...);
     6. Otnoshenie   k   sebe    (trebovatel'nost',    popustitel'stvo,
ironichnost', mnenie o sebe (adekvatnoe, povyshennoe, nizkoe);
     7. Vozmozhnosti   (vneshnie:   po   prichine   delovogo   polozheniya,
znakomstv,  rodstvennyh  svyazej...  i  vnutrennie:  v  silu lichnostnyh
kachestv, obrazovaniya, trenirovki...);
     8. Uvlecheniya,  s  uchetom  ih  professionalizma i prityagatel'nosti
(zhenshchiny,    alkogol',    kuhnya,    den'gi,    puteshestviya,     sport,
kollekcionirovanie,  pornografiya, muzyka, teatr, televizor, komp'yuter,
hristianstvo,  yazychestvo,  vostochnye   religii,   aziatskoe   voinskoe
iskusstvo,  netradicionnaya medicina,  okkul'tizm, istoriya, astrologiya,
joga,   ohota,   sobaki,   shahmaty,   azartnye    igry,    avtomobil',
radiolyubitel'stvo, narodnye promysly...);
     9. Vsevozmozhnye   umeniya   (vodit'   mashinu,    chinit'    mashinu,
pilotirovat'  samolet,  remontirovat'  televizor,  drat'sya,  strelyat',
plavat',  soblaznyat' zhenshchin, klast' pechi, orientirovat'sya na mestnosti
i t.d. i t.p.
     10. Strannosti (vera v primety,  osobye  ritualy,  neobychnost'  v
manerah, odezhde, pricheske...);
     11. Otnoshenie k raznym  aspektam  zhizni  (k  zhenshchinam,  alkogolyu,
den'gam, priklyucheniyam,   literature   i   iskusstvu,  mode,  torgovle,
material'noj   vygode,   prostitucii,   gomoseksualizmu,   narkomanii,
terrorizmu,   cenam,   akciyam,   privatizacii,   religii,   partiyam  i
politicheskim deyatelyam...);
     12. Motivacii i ierarhiya (potrebnost' v bezopasnosti i ponimanii,
lyubov' k detyam, seksual'naya neudovletvorennost'...);
     14. Slabosti   i   uyazvimosti  (vnutrennie:  slabosti  haraktera,
fizicheskie nedostatki,  nekotorye privychki, "melkie" radosti i poroki,
sil'nye  privyazannosti...  i  vneshnie:  shchekotlivye  momenty biografii,
tshchatel'no skryvaemye aspekty lichnoj i delovoj zhizni...);
     15. Zatrudneniya (denezhnye, seksual'nye, informacionnye...);
     16. CHestolyubivye zamysly (stremlenie k delovoj  ili  politicheskoj
kar'ere, tajnoj ili yavnoj vlasti, vsyacheskoj izvestnosti...);
     17. Vrazhdebnost' (k cheloveku,  organizacii, strane, nacii, obrazu
myslej, opredelennomu povedeniyu...);
     18. Neudachi  (semejnye,  professional'nye,   delovye,   lyubovnye,
prestizhnye...);
     19. Metody dejstvij (slovom,  delom,  pryamoj  atakoj,  hitrost'yu,
kompromissom, chuzhimi rukami...);
     20. Povedenie  v  p'yanom  vide  (kontroliruemost',   slezlivost',
dobrodushie, agressivnost'...);
     21. Povedenie  v  ekstremal'noj  situacii  ("brosaetsya  v   boj",
ubegaet, vyzhidaet, zamiraet...);
     22. Povedenie  v  gruppe  (stremlenie  k  liderstvu,  podchineniyu,
anarhii, ravnopraviyu, izolirovannosti...);
     23. |mocional'noe  reagirovanie   (rechevoe   povedenie,   uroven'
skryvaemosti  chuvstv,  harakternye  dlya  opredelennoj  emocii  zhesty i
psihofiziologicheskie reakcii...);
     24. seksual'nye  nyuansy (stepen' motivacii,  otkloneniya ot normy,
kontroliruemost', privychki...).



     (Ocenku konkretnyh kachestv celesoobrazno provodit' po pyatibal'noj
shkale,   chetko   registriruyushchej  meru  ih  vyrazhennosti:  "OV"  (ochen'
vysokaya),  "V" (vysokaya),  "S" (srednyaya),  "N" (nizkaya),  "ON"  (ochen'
nizkaya).  V sluchae polyarnogo varianta luchshe orientirovat'sya na odin iz
polyusov.
     1. Myshlenie (konkretnoe - abstraktnoe).
     2. |rudiciya (obshchaya i chastnaya).
     3. Intellekt (dogmatichnost' - gibkost').
     4. Sposobnost' k analizu - verhoglyadstvo.
     5. Soobrazitel'nost' - tupost'.
     6. Pronicatel'nost' - poverhnostnost'.
     7. Kritichnost' myshleniya - legkoverie.
     8. Praktichnost' - fantazijnost'.
     9. Konservatizm - novatorstvo.
     10. Riskovannost' - nereshitel'nost'.
     11. Ustupchivost' - agressivnost'.
     12. Oderzhimost' - passivnost'.
     13. Stremlenie k liderstvu - podchinyaemost'.
     14. Prisposoblenchestvo - nezavisimost'.
     15. Manevrennost' - pryamolinejnost'.
     16. Legkoverie - podozritel'nost'.
     17. Lyuboznatel'nost' - bezrazlichie.
     18. Vnushaemost' - sposobnost' preodolet' vnushenie.
     19. Sovestlivost' - praktichnost'.
     20. Principial'nost' - konformnost'.
     21. Snishoditel'nost' - trebovatel'nost'.
     22. Al'truizm - egoizm.
     23. Vera v sebya - vera v obstoyatel'stva.
     24. Otkrytost' (ekstravertnost') - zamknutost' (introvertnost').
     25. Sklonnost' hitrit' - beshitrostnost'.
     26. Hladnokrovie  (kak  v  opasnosti,  tak  i   v   ozhidanii)   -
impul'sivnost'.
     27. Sderzhannost' (v postupkah,  razgovorah, vydache informacii...)
- raspushchennost'.
     28. Uverennost' v svoih silah - bespomoshchnost'.
     29. ZHestokost' - myagkost' (dobrota).
     30. Hrabrost' - truslivost'.
     31. Otnoshenie k ugroze (yarost' - bezrazlichie - strah).
     32. Rabotosposobnost' v stressovoj situacii.
     33. Perenosimost' boli i stressovyh situacij.
     34. Bystrota reagirovaniya (na vnezapnoe izmenenie temy razgovora,
na otdel'nye dejstviya...).
     35. |mocional'naya ustojchivost'.
     36. Sila i dlitel'nost' emocij.
     37. Sposobnost' dolgo skryvat' svoi chuvstva.
     38. Uroven' prityazanij.
     39. Nablyudatel'nost'.
     40. Obyazatel'nost'.
     41. Trevozhnost'.
     42. Lzhivost'.
     43. Mstitel'nost'.
     44. CHuvstvo blagodarnosti.
     45. Tshcheslavie.
     46. Seksual'nost'.
     *Faktura, izvlekaemaya iz dos'e, obychno primenyaetsya dlya*:
     - verbovki ob容kta;
     - manipulirovaniya ob容ktom;
     - predvideniya dejstvij ob容kta;
     - proschityvaniya opasnosti ishodyashchej ot ob容kta;
     - nejtralizaciya ob容kta.



     Vsestoronne izuchiv   konkretnogo  cheloveka,  emu  dayut  predel'no
vzveshennuyu potencial'nuyu ocenku s pozicij:
     - veroyatnosti ego verbovki;
     - ego vozmozhnostej kak agenta;
     - vygod pri ego privlechenii;
     - riska pri ego privlechenii;
     - real'nyh napravlenij ego ispol'zovaniya.
     *V ocenke veroyatnost' verbovki dannogo lica uchityvayut*:
     - nalichie  neobhodimyh  vnutrennih  (cherty  haraktera,  slabosti,
poroki...)  i  vneshnih  (kompromat,   cenimye   faktory   i   lyudi...)
uyazvimostej;
     - meshayushchie  faktory  (cherty  haraktera,   idejnaya   ubezhdennost',
vliyanie  znachimyh  lic,  trudnosti  pryamogo kontakta...) i optimal'nye
vozmozhnosti ih ustraneniya (snizhenie znachimosti, obhod, perevorachivanie
v svoyu pol'zu...);
     - kto,  po kakoj prichine,  kak i  s  kakoj  effektivnost'yu  mozhet
sposobstvovat' verbovke...
     *V ocenke vozmozhnostej ob容kta kak agenta, berut v raschet*:
     - vnutrennie kachestva lichnosti (um, nablyudatel'nost', aktivnost',
uroven'  prityazanij,  kontaktnost',  sklonnost'  k  risku,   uporstvo,
hladnokrovie, smelost', nahodchivost'...);
     - vneshnie faktory obstanovki (imeyushchie informaciyu druz'ya, rodnye i
znakomye,  vozmozhnosti  vliyaniya  na klyuchevyh lyudej i hod sobytij vvidu
svoego avtoriteta ili sluzhebnoj dolzhnosti, obshirnye kontakty...).
     *V ocenke vygody ot privlecheniya (verbovki) ob容kta proschityvayut*:
     - poleznost'   informacii   i   prochego    sodejstviya,    kotorye
predpolagaetsya zdes' obresti;
     - stepen' ego nalichnyh i potencial'nyh vozmozhnostej vliyat' na hod
sobytij libo na konkretnyh lic;
     - stepen' trudnosti  proniknoveniya  izvne  v  dannuyu  gruppu  ili
sredu;
     - shansy ispol'zovaniya ob容kta dlya vnedreniya v  organizaciyu  svoih
lyudej;
     - aspekt poteri v ego lice aktivnogo protivnika.
     *V ocenke riska verbovki ob容kta prikidyvayut*:
     - vozmozhnosti  aktivno-negativnoj  reakcii   na   predlozhenie   o
sotrudnichestve;
     - naskol'ko  nezhelatel'no  "zasvechivanie"   lichnostej   verbuyushchih
(pomehi   v   ih   dal'nejshej   deyatel'nosti,   "brosanie   teni"   na
kontakterov...);
     - skol'   vredno   proyavlenie  interesa  k  konkretnoj  teme  ili
organizacii (nastorozhit i oslozhnit namechennuyu razrabotku,  dast nit' v
aktivnoj kontrigre...);
     - stepen' uverennosti,  chto ob容kt ne soobshchit "svoim"  (opasnost'
"dvojnoj igry"...);
     - velichinu lazejki,  po  kotoroj  mogut  dobrat'sya  do  verbuyushchej
struktury, i sushchestvuyushchie vozmozhnosti ee bystrejshego perekryvaniya.
     *Ocenivaniya perspektivnye     puti     zadejstvovaniya     ob容kta
opredelyayut*:
     - kak ego vygodno ispol'zovat' (v  kachestve  informatora,  agenta
vliyaniya,  dezinformatora,  narushitelya edinstva, svyaznogo, provokatora,
posobnika v razlichnyh akciyah...);
     - stoit  li prodvigat' ob容kt na klyuchevoe mesto v ego organizacii
i dostizhimo li poslednee.
     Sdelav analiz  vseh  vozmozhnyh  plyusov  i  minusov ot privlecheniya
ob容kta k sotrudnichestvu i uchtya potrebnosti tekushchej situacii,  vynosyat
sootvetstvuyushchee zaklyuchenie;
     - "zaverbovat' srochno" (dazhe esli ob容kt poka  chto  "ne  sozrel",
vremya ne terpit);
     - "povremenit'  s  verbovkoj"  (net  yavnoj   neobhodimosti,   net
dejstvennogo kompromata, ob容kt ne doveden do nuzhnoj kondicii...);
     - "polnost'yu   otkazat'sya   ot   verbovki"   (slishkom    nichtozhna
veroyatnost' soglasiya, velik risk polucheniya "dvojnoj igry", "ovchinka ne
stoit vydelki"...).



     Uyasniv psihologicheskij portret ob容kta i oceniv ego  osobennosti,
zatrudneniya i ustremleniya,  obychno udaetsya vyjti na motivy,  sposobnye
sklonit'   namechennogo   cheloveka   k   sotrudnichestvu.   CHashche   vsego
pobuzhdayushchimi momentami pri etom yavlyayutsya:
     - politicheskie ili religioznye ubezhdeniya;
     - stremlenie k vlasti;
     - romanticheskie predstavleniya;
     - nacionalizm;
     - tshcheslavie;
     - preuvelichennoe mnenie o svoih sposobnostyah;
     - mest';
     - material'nye zatrudneniya;
     - strah  (komprometacii,  fizicheskogo  vozdejstviya,   za   drugih
lyudej...);
     - zhadnost' (kak cherta haraktera);
     - sostradanie (kak cherta haraktera);
     - lyubov'-strast';
     - lyubov' k detyam;
     - zhitejskie slabosti i poroki (p'yanstvo,  azartnye igry, zhenshchiny,
gomoseksualizm, narkotiki, sibaritstvo...).
     *Motivami verbovki "zaoblachnyh" intellektualov mogut  sluzhit'  ih
utonchennye stremleniya k*:
     - tajnoj vlasti;
     - igre s zakonami;
     - znaniyu togo, o chem ne mogut znat' drugie;
     - proniknoveniyu v tajny...
     *Polezno znat', chto lyubomu cheloveku trudno preodolet' v sebe*:
     - lyubov'-strast';
     - lyubov' k detyam;
     - tshcheslavie;
     - strah...
     Neobhodimo pomnit', chto intensivnost' proyavleniya otdel'nyh chuvstv
neredko izmenyaetsya vo vremeni i poddaetsya nekoj  korrekcii.  Sej  fakt
zhelatel'no  uchityvat'  pri  otbore  konkretnyh  metodov vozdejstviya na
individa.
     Kogda otlichno  znaesh',  chto cheloveku nado i est' vozmozhnost' dat'
ili otnyat' eto, - legko stat' ego gospodinom.
     *Verbovku mozhno provodit'*:
     - ot imeni verbuyushchej organizacii ("pryamaya verbovka");
     - bez neposredstvennogo ukazaniya,  kto verbuet,  davaya,  vprochem,
nekuyu vozmozhnost' chto-to predpolagat' ("namekayushchaya verbovka");
     - pod  "chuzhim  flagom",  ili  ot  imeni  nichem  ne primechatel'noj
struktury (cheloveka),  ne vyzyvayushchih  kakoj-libo  nepriyazni,  a  to  i
porozhdayushchih opredelennuyu simpatiyu ("odurachivayushchaya verbovka");
     - ot imeni odnoj organizacii s posleduyushchim - kogda  kontrol'  uzhe
poluchen - raskrytiem real'nogo hozyaina ("stupenchataya verbovka").
     *Verbovochnyj podhod byvaet*:
     - "goryachim"   (kogda   verbovshchik   delaet  pryamoe  predlozhenie  o
sotrudnichestve,  inoj raz posle ochen' dolgoj obrabotki,  a drugoj  raz
pochti srazu);
     - "holodnym"   (kogda   nevedomyj   ob容ktu   chelovek   ispodvol'
"podkatyvaetsya" k nemu);
     - "beskontaktnym"  (kogda  vliyanie  na  ob容kt  osushchestvlyayut  bez
neposredstvennogo kontaktirovaniya s nim,  pribegaya k pis'mam,  faksu i
telefonu);
     - "obratnym"  (kogda  ob容kt  sam  predlagaet  svoi uslugi,  hotya
obychno emu nuzhno "podskazat'", k komu on mozhet obratit'sya...).
     Vo vseh  ukazannyh variantah zhelatel'no predusmotret' usloviya dlya
podderzhaniya svyazi, poskol'ku dazhe esli chelovek vnachale rezko otkazalsya
ot predlozheniya, to cherez nekotoroe vremya on mozhet peredumat'.
     *Glavnymi metodami verbovki yavlyayutsya*:
     1. SHantazh.
     2. Podkup.
     3. Ugroza fizicheskogo vozdejstviya.
     4. Ugroza lyubimym lyudyam.
     5. Raszhiganie  emocij  (mstitel'nosti,  nedovol'stva,  tshcheslaviya,
vostorzhennosti, revnosti, sostradaniya...).
     6. Ubezhdenie.
     7. Zombirovanie (psihoprogrammirovanie).
     8. Osobye akcii (narkoprivyazka, seks-meropriyatiya...).
     Prakticheskie shemy etih metodik  i  chastnye  rekomendacii  po  ih
osushchestvleniyu predstavleny v chasti, razbirayushchej sposoby vozdejstviya na
cheloveka.



     Zaverbovav konkretnogo  cheloveka,  starayutsya  poluchit'  ot   nego
maksimum  vozmozhnogo,  a  eto  udaetsya  realizovat'  lish'  pri  umelom
rukovodstve,  uchityvayushchem psihologicheskie osobennosti ego  lichnosti  i
uroven'  zhelaniya  (a  to  i nezhelaniya) dejstvovat'.  Otdel'nye aspekty
podobnyh vzaimootnoshenij my vkratce zdes' i rassmotrim.



     *Sklonennogo k sotrudnichestvu cheloveka mozhno ispol'zovat'*:
     - razovo;
     - po mere neobhodimosti;
     - postoyanno.
     *CHastota ispol'zovaniya agenta zavisit ot*:
     - stremleniya byt' v kurse tekushchih sobytij;
     - operativnoj neobhodimosti;
     - zhelaniya sohranit' ego dlya samyh vazhnyh celej;
     - stepeni doverennoj emu iniciativy.
     *Agent mozhet funkcionirovat'*:
     - nezavisimo (peredavaya to, chto on sam schitaet nuzhnym, i dejstvuya
pri etom tak, kak on schitaet neobhodimym);
     - avtonomno (rabotaya po ustanovlennomu zadaniyu, no ne podderzhivaya
promezhutochnyh kontaktov s hozyaevami);
     - poluiniciativno (reshaya poruchaemuyu emu zadachu sovmestno so svoim
rukovoditelem, no ne otkazyvayas' ot podvernuvshihsya vozmozhnostej);
     - strogo po instrukcii (orientiruyas' lish' na poluchennye ukazaniya,
i ne pytayas' vyjti za nachal'no ustanovlennye ramki).
     Dlya napravleniya     deyatel'nosti     privlechennogo     ispol'zuyut
klassicheskie metody:
     - "knuta" (zapugivaniya);
     - "perchatki" (kontrolya);
     - "pryanika" (podkupa).
     Priderzhivajtes' principa:  "Pust' budet zhestkaya ruka, no v myagkoj
perchatke".
     Konkretnyj chelovek   bessporno   trebuet   sugubo   personal'nogo
podhoda, no bolee effektivno napravlyat' ego obychno udaetsya posredstvom
ubezhdeniya,  a  ne  ugroz,  posemu  polezno  razvivat'  s nim druzheskie
otnosheniya.
     Ustanavlivaya druzhbu  s  zaverbovannym,  vse  zhe ne sleduet teryat'
iniciativy (dominirovaniya) i chetko presekat' lyubye popytki perehvatit'
poslednyuyu.   Znachitel'nuyu   rol'   zdes'   inoj  raz  igraet  poleznaya
sposobnost' "pereglyadet'"  partnera,  poskol'ku  ezheli  vedushchij  ne  v
sostoyanii  vyderzhat' pryamogo vzglyada im vedomogo - on ne goditsya i dlya
rukovodstva.



     Uderzhivat' lyubogo cheloveka v svoih ryadah vozmozhno:
     1. Prilichnym material'nym voznagrazhdeniem.
     2. Vzaimnoj pomoshch'yu.
     3. "Lapshoj na ushi".
     4. Strahom vozmezdiya.
     5. Zombirovaniem.
     Finansovoe voznagrazhdenie  yavlyaetsya  svoego  roda   podpityvayushchim
faktorom,  soputstvuyushchim vsem prochim stimulam.  Ono dolzhno byt' horosho
produmannym  (chtoby  ne   oskorbit'   bol'nogo   samolyubiya),   zametno
izmenyaemym  (v  zavisimosti ot poleznosti raboty) i optimal'nym (chtoby
ne podkupili drugie).
     Vzaimopomoshch' podrazumevaet    aktivnoe   sodejstvie   v   reshenii
razlichnyh delovyh i  lichnostnyh  problem  ob容kta  (kar'era,  "krysha",
poleznye znakomstva, dohodnye kontrakty...). |to - svoeobraznaya zamena
pryamogo material'nogo voznagrazhdeniya.
     Taktika "lapsha   na   ushi"  osnovyvaetsya  na  sozdanii  u  agenta
vpechatleniya o znachitel'nosti ego raboty s moral'noj ili ideologicheskoj
tochek zreniya.  |to zametno povyshaet samouvazhenie i obychno effektivnee,
chem stimulyaciya odnoj lish' platoj.
     Pri uderzhanii  strahom vozmezdiya,  ugroza vozmezdiya visit kak nad
lichnost'yu agenta, tak i nad ego blizkimi.
     Rasplata tut mozhet predpolagat'sya:
     - za proshlye grehi po otnosheniyu k komu-libo;
     - za yavnoe predatel'stvo "svoih";
     - za ochevidnuyu izmenu novym hozyaevam.
     Dlya effektivnosti    podobnyh    ugroz   neobhodim   proizvodyashchij
vpechatlenie kompromat,  poluchennyj v processe razrabotki cheloveka  (iz
epizodov   proshloj   zhizni...),  a  takzhe  pri  vzaimodejstvii  s  nim
(opredelenno   neproshchaemye   akcii   protiv   "svoih",   svidetel'stva
"prestupnoj"   svyazi   s  protivnikom...).  Dobavochnym  podstegivayushchim
momentom zdes'  yavlyaetsya  periodicheskoe  obeshchanie  agentu  otdat'  emu
komprometiruyushchie ego materialy.
     Zombirovanie podrazumevaet iskusstvennoe otklyuchenie  lichnoj  voli
cheloveka  s  besprekoslovnym  podchineniem ego prikazam svoego hozyaina.
Osushchestvlyaetsya  zombirovanie   posredstvom   "promyvaniya   mozgov"   i
"zhestkim"  pereprogrammirovaniem  ih na specificheskij rezhim raboty,  a
takzhe   putem   "myagkogo"   pereprogrammirovaniya   s    ispol'zovaniem
mnogostupenchatogo gipnoza.



     V sotrudnichestve  s zaverbovannym vsegda est' opasnost' narvat'sya
na "dvojnuyu igru" ili elementarnoe moshennichestvo.  Dlya  izbavleniya  ot
podobnyh  nepriyatnostej  zhelatel'na  sistematicheskaya glasnaya (detektor
lzhi) ili neglasnaya (dublirovanie,  nablyudenie, provokaciya...) proverka
agenta.
     Detektor lzhi otslezhivaet razlichnye psihoemocional'nye reakcii (so
storony  myshc,  kozhi,  zrachkov,  serdechnoj i dyhatel'noj sistem...) na
znachimuyu  informaciyu  i  v  uproshchennom  variante   obychno   zamenyaetsya
prostejshej ekspress-diagnostikoj (opisannoj v razdele ob obshchenii...) v
hode proverochnogo razgovora.
     Dublirovanie zaklyuchaetsya  v  tom,  chto ob容ktu poruchaetsya dostat'
vpolne opredelennuyu informaciyu,  kotoraya uzhe  izvestna  ego  hozyaevam.
Osobenno  dlya  etogo  podhodyat takie svedeniya,  kakovye agent po svoim
sobstvennym prichinam ne hotel by vydavat'.
     Pri nablyudenii    osushchestvlyaetsya    periodicheskoe   prosvechivanie
zaverbovannogo,  s fiksaciej lyubogo fakta,  svidetel'stvuyushchego  o  ego
nechestnoj  igre.  V  podobnyh  sluchayah  obychno  effektivno podklyuchenie
parallel'nogo agenta.
     Pod provokaciej  imeetsya  vvidu  raschetlivoe soblaznenie cheloveka
(intrigoj,  podkupom,  podbrasyvaniem informacii, kotoruyu on predpochel
by ne peredavat'...) i zasekaniem ego reakcii na eto.
     Standartnym variantom  zhestokoj   proverki   yavlyaetsya   "kreshchenie
krov'yu",     t.e.     trebovanie    k    zaverbovannomu    osushchestvit'
aktivno-agressivnoe deyanie (inoj raz  -  krovoprolitie)  protiv  svoih
prezhnih soratnikov.
     Otmetim, chto vykazyvaemaya agentom vernost' znachitel'no zavisit ot
ego moral'nyh ustoev.  YAvno degradirovavshij v lichnostnom plane chelovek
ne v sostoyanii byt' nadezhnym ispolnitelem.
     Pri vyyavlenii  "dvojnoj  igry" vozmozhno libo preryvanie kontakta,
libo ispol'zovanie sego fakta dlya provedeniya  izyashchnoj  kombinacii  ili
zabrasyvaniya dezinformacii.



     Svyaz' s  zaverbovannym  rassmatrivaetsya kak samyj uyazvimyj aspekt
konspirativnoj raboty i mozhet byt' po svoemu harakteru:
     - informacionnoj   (priem   i   peredacha  ukazanij  i  soobshchenij,
razvernutoe   obsuzhdenie    razlichnyh    voprosov,    vydacha-poluchenie
neobhodimyh predmetov...);
     - signal'noj     (uvedomleniya     ob      opasnosti-bezopasnosti,
otsylke-poluchenii, gotovnosti-negotovnosti...).
     *Klassicheskaya informacionnaya svyaz' osushchestvlyaetsya*:
     - pri personal'nom obshchenii;
     - posredstvom tehnicheskih  sredstv  svyazi  (lichnye  radiostancii,
telefony, telefaksy...);
     - ispol'zovaniem "vslepuyu" postoronnih lic;
     - posredstvom svyaznikov-kur'erov;
     - putem pochtovyh otpravlenij;
     - podbrasyvaniem;
     - zakladyvaniem  v  opredelennye  mesta  (zaranee   prismotrennye
tajniki, avtomaticheskie  kamery  hraneniya...);
     - pri momental'nyh kontaktah.
     Ne vyzyvayushchaya  podozrenij  svyaz'  pri  personal'nom  obshchenii chashche
vsego  realizuetsya  togda,  kogda  vedushchij  vhodit  v  krug  obydennyh
kontaktov  zaverbovannogo (na rabote,  pri vygule sobak,  v sportivnom
klube...).  Ona mozhet proishodit' vo vremya vizitov k obshchim znakomym, a
takzhe na special'no snyatyh konspirativnyh kvartirah.
     Svyaz' s  primeneniem  telefona  byvaet  kak  pryamaya,  tak   i   s
zadejstvovaniem  promezhutochnogo  apparata,  kak uproshchennaya signal'naya,
tak i zagruzhennaya informativnaya.  Vsegda sleduet pomnit' o vozmozhnosti
proslushivaniya   i   pri  neobhodimosti  ispol'zovat'  shifratory  (chto,
vprochem,  nastorazhivaet) ili periodicheski smenyaemoe  kodovoe  obshchenie.
Takim zhe obrazom, no s raznymi zashchitnymi ulovkami ekspluatiruyut lichnuyu
radiosvyaz' ("uoki-toki").
     S ispol'zovaniem   postoronnih   lic   (poputchikov,   provodnikov
vagonov,  priyatelej  svoih   znakomyh...)   luchshe   vsego   peredayutsya
materialy,  den'gi ili pis'ma.  Poslednie dolzhny imet' "kontrol'ki" na
vskryvanie i soderzhat' informaciyu, skrytuyu tem ili inym sposobom.
     Obshchenie cherez  svyaznikov-kur'erov  predpisyvaet  podtverzhdenie ih
identichnosti  (slovesnye,  predmetnye  i  zhestovye   paroli...).   Pri
nezhelatel'nosti   personal'nogo   kontakta,  svyaz'  mozhno  realizovat'
posredstvom promezhutochnogo zvena (a to i zven'ev).
     Pochtovuyu korrespondenciyu   neslozhno   otlovit'  kak  v  meste  ee
otpravleniya,  tak i pri poluchenii.  Protivodejstvovat' semu  inoj  raz
udaetsya  putem otpravleniya pisem postoronnimi lyud'mi (a takzhe v drugom
gorode)  i  ispol'zovanii  adresov  "nevinnyh",  no   doverennyh   lic
poluchatelya.  V  etom  sluchae  ispol'zuyut  "kontrol'ki"  i klassicheskie
sposoby  (shifr,  kod,  nevidimye   chernila...)   sokrytiya   konkretnoj
informacii.
     Podbrasyvaniya obychno proizvodyat  togda,  kogda  neobhodimo  chtoby
adresat   ne   videl   otpravitelya   ili  ego  poslanca.  Podbrasyvat'
rekomenduetsya  v  pochtovyj  yashchik,  na  rabochij  stol,  pod   dver'   s
posleduyushchim zvonkom,  a  takzhe  v karman lichnoj odezhdy,  t.e.  v takoe
mesto, otkuda eta peredacha navernyaka dojdet do poluchatelya.
     Pri polnoj  nezhelatel'nosti lichnyh kontaktov,  mozhno ispol'zovat'
avtomaticheskie kamery hraneniya  i  raznotipnye  tajniki.  V  poslednem
sluchae  nahodyat  ne  brosayushcheesya v glaza ukromnoe mestechko (k primeru,
batareyu v prohodnom  pod容zde,  bachok  v  obshchestvennom  tualete...)  i
vkladyvayut   tuda,   krepya  rezinkoj,  lipkoj  lentoj  libo  podvesom,
peredavaemye  materialy.  Oberegayas'  ot  vozmozhnyh  nepriyatnostej  ne
sleduet  slishkom  zatyagivat'  period  vremeni  mezhdu  zakladyvaniem  i
izymaniem,  a vypolniv kak to, tak i drugoe - soobshchit' ob etom tem ili
inym  dostupnym  sposobom  (bezlichnym telefonnym zvonkom,  otmetkoj na
konkretnoj tochke...).
     Mgnovennye kontakty   realizuyutsya   v   predmetnyh   peredachah  i
sovershayutsya v mestah,  gde maloveroyatno vseohvatyvayushchee nablyudenie  (v
potoke  passazhirov  v  metro,  v  napolnennom avtobuse,  v central'nom
univermage...).  Peredayut  zdes'  iz  ruk  v  ruki,  kak  by  sluchajno
sblizivshis'  vplotnuyu.  Rabotayushchimi  variantami  takih kontaktov mogut
sluzhit': "nechayannye vstrechi" s peredachej cherez rukopozhatie, peredacha v
temnote  pri  dvuh  sosednih  kreslah v kinoteatre,  "rasseyannyj obmen
gazetami ili pohozhimi paketami i  diplomatami  v  kafe,  na  vystavke,
vokzale  ili  parkovoj  skamejke,  ronyanie  predmeta,  kotoryj  tut zhe
podnimaetsya s nezametnoj podmenoj.
     Kasatel'no signal'noj  svyazi  mozhno  skazat',  chto  zdes' real'ny
vsevozmozhnye formy,  zavisyashchie ot fantazii konkretnyh  kontakterov,  a
takzhe  ih  vozmozhnostej i obstoyatel'stv:  risovannyj znachok v uslovnom
meste, pochtovaya otkrytka s kodovoj podpis'yu ili syuzhetom, detal' odezhdy
ili  zhest  "sluchajnogo"  prohozhego,  "oshibochnyj" zvonok po telefonu...
Ispol'zuemye  podobnym  obrazom   signaly   dolzhny   byt'   sovershenno
estestvennymi,   chtoby   ne   vyzyvat'   u  okruzhayushchih  nezhelatel'nogo
udivleniya.



     Kak pravilo  prihodit  tot  moment,  posle  kotorogo  obshchenie   s
zaverbovannym uzhe teryaet vsyakij smysl, a poroj dazhe vredno.
     *Predel v zadejstvovanii agenta obychno nastupaet*:
     - kogda v ego uslugah bol'she ne nuzhdayutsya;
     - kogda on stal opasen kak svidetel';
     - kogda vdrug vyyasnilos', chto on vedet "dvojnuyu igru" (obmanyvaet
ili predaet), i net zhelaniya ispol'zovat' sej fakt dlya kontr-igry;
     - pri konservacii, s nametkami na budushchee.
     Pervoj cel'yu v dannyh sluchayah  yavlyaetsya  nejtralizaciya  vozmozhnyh
nepriyatnostej  ot byvshego agenta.  To,  kak etogo dostich',  opredelyayut
ishodya iz osobennostej ego lichnosti,  pozicii po otnosheniyu k kuratoram
i urovnya real'no oshchushchaemoj ugrozy.
     *Zakanchivat' kontakt rekomenduetsya*:
     - uchtivo;
     - grubo;
     - radikal'no.
     Pri "chutkom" preryvanii kontakta  vyskazyvaetsya  blagodarnost'  i
vydaetsya  voznagrazhdenie,  velichina  kotorogo  ne  mozhet oskorbit' ili
obidet' cheloveka. Dazhe kogda obshchenie zavershaetsya sovsem (skazhem, vvidu
"dvojnoj  igry"  ili obmana...),  agentu ne meshaet nameknut',  chto eto
tol'ko vremennaya mera,  i  ego  "cennye  uslugi"  skorej  vsego  snova
ponadobyatsya v dal'nejshem.
     Pri "grubom" preryvanii kontakta ispol'zuyut blizhajshij  podhodyashchij
povod i,  okazav opredelennoe fizicheskoe vozdejstvie, surovo govoryat o
kompromate.  Sej variant horosh lish' dlya  robeyushchego  individa  i  yavnoj
uverennosti v tom, chto on ne prichinit nepopravimogo vreda.
     Esli agent yavlyaetsya opasnym svidetelem i  net  garantii,  chto  on
budet molchat',  zadejstvuyut radikal'nye sposoby zashchity, vklyuchayushchie kak
fizicheskoe ustranenie ob容kta (chuzhimi,  po vozmozhnosti,  rukami ili  v
"sluchajnyh"  obstoyatel'stvah),  tak  i  osobye  priemy  "stiraniya" ego
pamyati (sm. razdel o metodah vliyaniya na cheloveka).







     Dolzhnoe vzaimodejstvie s interesuyushchim Vas chelovekom  skladyvaetsya
iz  individual'nyh  kontaktov,  pol'zu  ot kotoryh udaetsya priumnozhit'
cherez ih racional'nuyu organizaciyu. Raznye aspekty etih vzaimootnoshenij
my vkratce i rassmotrim.



     Obshchenie yavlyaetsya   rezul'tativnym   pri   tom  uslovii,  chto  ono
podchineno dostizheniyu ryada celej, naprimer takih kak:
     - izuchenie psihologii ob容kta;
     - diagnostika ob容kta;
     - ustanovlenie bolee tesnyh kontaktov;
     - obespechenie sotrudnichestva;
     - obsuzhdenie konkretnoj problemy;
     - poluchenie nuzhnoj informacii;
     - peredacha svoej faktury, ili dezinformacii;
     - ubezhdenie v chem-to;
     - prinuzhdenie k chemu-libo.
     V hode polnocennogo vzaimodejstviya  mozhno  vydelit'  peretekayushchie
drug v druga fazy, vklyuchayushchie:
     - predvaritel'nuyu podgotovku;
     - nachalo razgovora s obespecheniem podhodyashchego psihoemocional'nogo
nastroya sobesednika;
     - provedenie  svoej  temy  i napravlenie besedy v predusmotrennom
napravlenii;
     - zavershenie dialoga s zakrepleniem dostignutogo rezul'tata.
     *Na etape predvaritel'noj podgotovki zanimayutsya*:
     - proyasneniem  togo,  chto  nuzhno  dostich' v rezul'tate razgovora,
otmechaya predpochtitel'nyj maksimum i priemlemyj minimum;
     - polucheniem  iznachal'noj  informacii (o partnere i zatragivaemoj
probleme);
     - obdumyvaniem  taktiki kontakta (soobrazno s psihologiej ob容kta
i inymi dejstvuyushchimi zdes' faktorami);
     - otrabatyvaniem    vyigryshnyh    komponentov    obshcheniya   (vybor
podhodyashchego momenta, mesta, obstanovki i obstoyatel'stv svidaniya).
     Nachalo razgovora       s       podderzhaniem      sootvetstvuyushchego
psihoemocional'nogo nastroya u vizavi stroitsya na presechenii negativnyh
emocij i otbrasyvanii vsevozmozhnyh bar'erov,  zatrudnyayushchih neobhodimoe
vzaimoponimanie.  Negativnye reakcii sobesednika zasekayut po razlichnym
vneshnim proyavleniyam (rezkosti fraz,  zazhatosti poz, uzosti zrachkov...)
i  snimayut  razlichnymi  psihologicheskimi   priemami   (vyborom   osobo
dejstvuyushchih slov, mimikoj, telesnym kopirovaniem...).
     Provedenie izbrannoj  temy  i  podstrojka  besedy  k   kolebaniyam
dialoga  opirayutsya  na  ishodnuyu  taktiku  s postoyannym nablyudeniem za
razlichnymi (zhesty,  vyrazheniya lica,  vzglyad...) reakciyami  partnera  i
korrekciej, ishodya iz nih, svoego posleduyushchego povedeniya.
     Zavershenie besedy   s   zakrepleniem   dostignutogo    rezul'tata
podrazumevaet,  chto dannyj akt obshcheniya skazhetsya neobhodimym obrazom na
myshlenii i postupkah sobesednika,  ne zastaviv ego pomenyat' suzhdenie o
vizavi na negativnoe.
     Nekotorye aspekty personal'nogo vzaimodejstviya  byli  izlozheny  v
razdele  povestvuyushchem  o  verbovke,  zdes'  zhe  my  privedem razlichnye
psihologicheskie momenty, uluchshayushchie effektivnost' rechevogo obshcheniya.



     Gotovyas' k perspektivnomu kontaktu sleduet uchityvat', chto:
     - v  holodnye  i  suhie  dni  chelovek  luchshe rabotaet,  togda kak
slishkom zharkaya ili vlazhnaya pogoda zametno prituplyaet intellekt;
     - vstrechi  "na more" vvidu osobogo vozdejstviya svezhego "morskogo"
vozduha (chut' soli i chut' joda...) ves'ma blagopriyatny dlya  provedeniya
delovyh peregovorov;
     - v rajone 19 chasov nervno-psihicheskoe sostoyanie lyudej stanovitsya
dovol'no    neustojchivym,    chto    mozhet    proyavit'sya   v   izlishnej
razdrazhitel'nosti i vspyl'chivosti;
     - tam,  gde  net  tolpy  i  muzyka zvuchit ne ochen' gromko,  legche
pridat' besede intimno-doveritel'nyj harakter;
     - lyubaya radost' uvelichivaet al'truizm,  obida ili razocharovanie -
umen'shaet ego;
     - nas vsegda prityagivayut znayushchie i opytnye lyudi;
     - chelovek lyubit teh, kto lyubit simpatichnyh emu lyudej;
     - chem  chashche my vidim partnera po obshcheniyu,  tem bol'she veroyatnost'
togo,  chto on nam ponravitsya,  no chrezmernye kontakty, odnako, snizhayut
ego privlekatel'nost';
     - lyudi chasto cenyatsya lish' v toj stepeni, v kakoj oni mogut pomoch'
v realizacii lichnyh celej partnera;
     - chem bol'she kto-libo obladaet vlast'yu,  tem men'she etot  individ
stremitsya k druzheskim kontaktam;
     - chelovek chashche vsego priderzhivaetsya principa:  "pust' druz'yam  vo
vsem soputstvuet uspeh,  no v tom,  chto vazhno dlya menya - ne bolee, chem
mne".
     *Vstupaya v  razgovor i ustranyaya vnutrennee napryazhenie u partnera,
pomnite, chto*:
     - tverdoe uverennoe rukopozhatie,  soprovozhdaemoe vzglyadom v glaza
nravitsya obychno pochti vsem;
     - diplomatichnoe povedenie predpolagaet ostorozhnost',  taktichnost'
i elementarnuyu uchtivost';
     - banal'noe nachalo orientiruet na banal'nost' vsej besedy;
     - sub容kta bolee vsego oskorblyaet,  kogda soobshchayut, chto ne pomnyat
ego imeni,  ved' etim emu kak by namekayut,  chto on ne imeet sovershenno
nikakogo znacheniya dlya partnera;
     - lyudi   poznavshie   emocional'nye   potryaseniya  neredko  ishchut  v
sobesednike  lish'  "rezonatora",  a  ne  sovetchika  (neploho  vyrazhaet
ponimanie i sochuvstvie, k primeru, obychnoe prikosnovenie ruki...);
     - nachav   besedu,   popytajtes'   organizovat'   blagozhelatel'nuyu
atmosferu takimi voprosami, na kotorye chelovek otvetit "da" s zametnym
udovol'stviem; tem samym zavoevyvaetsya doverie partnera;
     - dobrozhelatel'naya  ustanovka  (a  poprostu  - gotovnost' slushat'
cheloveka) rozhdaet sostoyanie svobody i neprinuzhdennosti;  chem menee  my
sudim govoryashchego, tem bolee samokritichnym on proyavitsya, vykazyvaya svoi
mysli i chuvstva gorazdo otkrovennee,  chem  v  situaciyah  s  osoznannym
kontrolem;
     - lyudi obychno lyubyat govorit' o sobstvennoj persone i podcherkivat'
svoyu znachitel'nost';
     - besedovat'  s  sub容ktom  zhelatel'no  lish'  na  ego   privychnom
"yazyke",  ne  zloupotreblyaya  neznakomymi slovami (chto razdrazhaet) i ne
vyskazyvayas' chrezmerno  uproshchenno  (Vas  mogut  zapodozrit'  v  nizkom
urovne intellekta);
     - na pervyj plan v hode obshcheniya neobhodimo vydvigat'  suzhdeniya  i
ustremleniya  sobesednika  (vmesto  "ya  by hotel..." - "Vy hotite..."),
poskol'ku on ohotnee podderzhivaet razgovor o sobstvennyh  problemah  i
zhelaniyah;
     - priyatno  besedovat'  s  lyud'mi  imeyushchimi  ozhivlennoe   lico   i
ekspressivnye   zhesty,   a  takzhe  s  temi,  kto  spontanno  prinimaet
neprinuzhdennuyu pozu (s sub容ktami,  kotorye pri razgovore otkidyvayutsya
nazad  ili  razvalivayutsya  v  kresle  obychno  chuvstvuyut  sebya ne ochen'
uyutno);
     - chtoby    naladit'    polnoe    vzaimoponimanie    i    porodit'
neprinuzhdennost' pri kontakte,  zhelatel'no kopirovat' kak pozu,  tak i
zhesty  sobesednika;  takoe  "otzerkalivanie"  soobshchaet vizavi,  chto Vy
podderzhivaete ego mneniya i vzglyady, i predraspolagaet cheloveka k Vam;
     - ne   lishne   inoj   raz  otobrazhat'  emocional'nye  perezhivaniya
partnera,  pokazyvaya, chto otlichno ponimaete ego psihicheskoe sostoyanie;
eto ochen' priyatno i uluchshaet doveritel'nye otnosheniya;
     - kogda  chelovek  emocional'no  vozbuzhden,  on  chasto  vyrazhaetsya
izlishne ekspressivno i kak by napadaet na sobesednika, hotya eto sovsem
ne tak;
     - ustojchivyj    kontakt    glazami    s    govoryashchim   vykazyvaet
zainteresovannost' i vdohnovlyaet vizavi na prodolzhenie monologa;
     - prostejshie  nejtral'nye  slova  ("konechno",  "razumeetsya"...) s
sochuvstvennym naklonom golovy,  podbadrivayut sobesednika i vyzyvayut  u
nego zhelanie prodolzhat' obshchenie;
     - nichto  tak   ne   nravitsya   bezmolvstvuyushchemu   partneru,   kak
predlozhenie   vyskazat'  svoe  suzhdenie,  kotoroe,  konechno  zhe,  nado
vnimatel'no vyslushat';
     - kogda   chelovek   vidit,   chto  ego  slushayut,  on  s  simpatiej
nastraivaetsya  na   sobesednika   i,   v   svoyu   ochered',   staraetsya
prislushivat'sya k nemu;
     - lyubomu cheloveku nravitsya,  kogda emu soobshchayut priyatnye veshchi,  v
osobennosti eto cenyat zhenshchiny;
     - nemaloe znachenie  dlya  privedeniya  ob容kta  v  dobrozhelatel'noe
sostoyanie vsegda imeet umno skazannyj kompliment;
     - lest' ne vosprinimaetsya boleznenno,  kogda ona ne vyglyadit  kak
slishkom yavnaya lozh';
     - nel'zya rasschityvat'  na  druzheskuyu  otkrovennost'  v  otvet  na
fal'sh', pust' dazhe zamaskirovannuyu;
     - ne stoit zadavat' izlishnee kolichestvo voprosov,  poskol'ku  eto
mozhet pomeshat' Vam obresti neobhodimoe doverie;
     - bezuderzhnaya ochevidnaya hvastlivost',  kak pravilo, neeffektivna,
i  pribegat'  k  nej  est' kakoj-to smysl tol'ko togda,  kogda doverie
partnera uzhe obreteno;
     - krasivyj energichnyj zhest, podcherkivayushchij glavenstvuyushchuyu mysl' -
obychno ne pomeha,  no izbegajte  pribegat'  k  rukam  dlya  privlecheniya
vnimaniya;
     - dlya   vyzyvaniya   vrazhdebnosti   vpolne   hvataet   suhosti   i
sderzhannosti v obmene informaciej;
     - dlya  obreteniya   druzhestvennosti   nuzhna   neprinuzhdennost'   i
izbytochnost' v soobshchenii raznyh svedenij.
     *Vedya razgovor ne zabyvajte, chto lyudej obyknovenno razdrazhayut*:
     - negativnyj  egocentrizm  (rech' o svoih sugubo lichnyh i intimnyh
delah, bud' to bolezni ili nepriyatnosti na rabote);
     - banal'nost'  (trep ob izvestnyh vsem veshchah,  povtorenie izbityh
shutok i aforizmov);
     - passivnost'  (poddakivanie  sobesedniku i nezhelanie vyskazyvat'
obdumannoe mnenie);
     - samouglublennost'  (sosredotochennost'  lish'  na svoih uspehah i
problemah);
     - nizkaya    emocional'nost'    (neizmenyaemoe    vyrazhenie   lica,
odnoobraznyj golos, stremlenie ne smotret' partneru v glaza...);
     - ugryumost'  (podcherknutoe  nezhelanie podderzhivat' besedu,  kogda
nuzhno "kleshchami tashchit' kazhdoe slovo"...);
     - ser'eznost'   (polnoe  otsutstvie  ulybki  i  prinimanie  vsego
vser'ez);
     - l'stivost'   (zaiskivayushchij   ton,   iskusstvennaya  veselost'  i
pokaznoe druzhelyubie...);
     - otsutstvie  taktichnosti  i  skoropalitel'nye  vyvody  (izlishnie
perebivaniya  sobesednika  i  sub容ktivnye   ocenki   po   pervomu   zhe
vpechatleniyu; vse eto zastavlyaet vizavi prinyat' oboronitel'nuyu poziciyu,
prepyatstvuyushchuyu normal'nomu obshcheniyu);
     - povyshennaya   otvlekaemost'   (uvilivanie   ot   rassmatrivaemoj
problemy po lyubomu povodu, ispol'zovanie v razgovore slenga...);
     - pritvorstvo (razygryvanie zainteresovannosti ili soperezhivaniya;
otsutstvie  kakogo-libo  interesa  i  skuka  otlichno  vychislyayutsya   po
vyrazheniyu  lica,  kak  by  ego  vladelec ni izoshchryalsya,  a eto inoj raz
vosprinimaetsya kak oskorblenie);
     - vysokomerie   (nadmennost'   i   prenebrezhenie  k  sobesedniku,
"procezhivanie" slov skvoz' zuby...);
     - grubost' (otchetlivoe i dostatochno neuchtivoe protivorechie...);
     - boltlivost' ("vladenie razgovorom kak lichnoj votchinoj");
     - neproshennye  sovety (dacha sovetov,  kogda ob etom sovershenno ne
prosyat,  osobenno  esli   sovetuyushchij   ne   ochen'-to   razbiraetsya   v
zatragivaemom voprose);
     - reshitel'nost'   utverzhdenij   (bezappelyacionnye   zamechaniya   s
nebrezhnym   otmetaniem   chuzhogo   mneniya;   takoe  otnoshenie  vyzyvaet
podsoznatel'nyj protest i mozhet privesti k ssore);
     - zakrytye voprosy (t.e.  voprosy,  trebuyushchie odnoznachnogo - "da"
ili "net" - otveta;  oni vedut  k  sozdaniyu  napryazhennosti  v  besede,
poskol'ku ogranichivayut u partnera prostranstvo dlya manevra, i on mozhet
pochuvstvovat' sebya kak na doprose).
     *Realizuya celevuyu ustanovku, nelishne znat', chto*:
     - pervym chashche vsego vynuzhden govorit' bolee slabyj;
     - dlya  podderzhaniya  interesa  k  sebe  mozhno intrigovat' partnera
svoej osvedomlennost'yu;
     - ton  sobstvennogo  golosa polezno vymeryat' po tonu sobesednika:
kogda poslednij povyshaet ton,  govorite tishe,  chto  vynudit  i  vizavi
ponizit'  silu  golosa;  pri  etom  on  budet  sozhalet'  o sobstvennoj
goryachnosti, ostaviv takim obrazom pobedu v etom epizode za Vami;
     - v  konfliktnyh  situaciyah  nakal emocij zachastuyu udaetsya snyat',
dav cheloveku prosto vyskazat'sya;
     - chtoby  s  uspehom  chto-libo vnushit',  nado umet' zastavit' sebya
slushat';
     - obman  celesoobrazen,  lish'  esli  on  navernyaka  ne mozhet byt'
razoblachen;
     - malyusen'kaya lozh' sposobna porodit' bol'shoe nedoverie;
     - "vernejshij sposob byt' obmanutym,  - eto  schitat'  sebya  hitree
vseh drugih";
     - nechetko   sformulirovannyj   vopros    neredko    nastorazhivaet
sobesednika;
     - opasno ignorirovat' predubezhdeniya vizavi;
     - polezno davat' partneru shans prodemonstrirovat' svoi poznaniya v
lyuboj oblasti;
     - lyudi boleznenno otnosyatsya k napominaniyam o teh oshibkah, kotorye
oni uzhe ne sovershayut;
     - kriticheskie  zamechaniya prinimayutsya,  esli ob容kt osoznaet,  chto
kritikuyushchij sochuvstvuet emu, ili kritika vyrazhaetsya v taktichnoj forme;
     - odno  i  to  zhe  kritikuyushchee  zamechanie proiznesennoe spokojnym
rovnym tonom, sposobno vyzvat': vozbuzhdenie u holerika, priliv energii
u   sangvinika,  poteryu  nastroeniya  u  melanholika  i  sovershenno  ne
vozdejstvovat' na hladnokrovnogo flegmatika;
     - ne  sleduet  vosprinimat'  molchanie  kak vnimanie;  neredko eto
mozhet byt' lish' pogruzhennost' cheloveka v svoi mysli.
     *Zakanchivaya dialog, uchityvajte, chto*:
     - nechetkij  i  nevyrazitel'nyj  konec  besedy  sposoben  razveyat'
blagopriyatnoe vpechatlenie ot vseh vashih vyskazyvanij;
     - poslednie fragmenty razgovora zapominayutsya prochnee vsego;
     - neobhodimo  umet'  vovremya  ostanovit'sya,  inache  effektivnost'
provedennogo kontakta znachitel'no ponizitsya.



     CHtoby dobit'sya ot  ob容kta  ozhidaemogo  reagirovaniya,  neobhodimo
ponimat' osobennosti chelovecheskogo vospriyatiya:
     - smysl fraz, sostavlennyh bolee chem iz 13 slov (po drugim dannym
iz  7  slov),  soznanie obychno ne vosprinimaet,  poetomu net smysla ih
primenyat';
     - rech'  mozhno  ponimat'  lish'  pri ee skorosti ne prevyshayushchej 2,5
slov v sekundu;
     - fraza  proiznosimaya  bez  pauzy  dol'she  5-6  sekund  perestaet
osoznavat'sya;
     - muzhchina  v  srednem slushaet drugih vnimatel'no 10-15 sekund,  a
posle nachinaet dumat', chto by emu dobavit' k predmetu razgovora;
     - lyuboe emocional'noe vozbuzhdenie (no tol'ko ne soperezhivanie...)
obychno zatrudnyaet ponimanie drugih;
     - tipichnyj  sobesednik  kak  "slyshit",  tak  i  ponimaet  namnogo
men'she, chem on hochet pokazat';
     - lyudi,  imeyushchie sklonnost' k samoanalizu,  nevazhno ponimayut teh,
kto ne zadumyvaetsya nad svoim vnutrennim mirom;
     - beseduya  s  izvestnym chelovekom v znakomyh situaciyah,  partnery
obychno slyshat to,  chto predpolagayut uslyshat',  a potomu soobshchenie,  ne
ochen'   harakternoe   dlya   nego,  obychno  propuskayut  mimo  ushej  ili
vosprinimayut neverno;
     - nepravil'nyj yazyk okazyvaet otricatel'noe vliyanie na vospriyatie
soobshchaemogo;  nesootvetstvie  upotreblyaemogo  vyrazheniya   standartnomu
znacheniyu,  a  to i stilisticheskim kanonam inoj raz vyzyvaet negativnye
emocii,  svodyashchie na net vsyu  pol'zu  ot  besedy  (izlishne  vysprennye
vyrazheniya - smeshat,  banal'nye - neredko razdrazhayut, oshibochnaya leksika
- nastraivaet na ironiyu...);
     - u  bol'shinstva  lyudej  est'  nekie kriticheskie slova,  osobenno
vozdejstvuyushchie  na  psihiku,  tak  chto  uslyshav  ih  ob容kt   vnezapno
vozbuzhdaetsya i teryaet nit' vedushchegosya razgovora;
     - mgnovennyj   perehod   ot   druzhelyubiya    k    nemotivirovannoj
vrazhdebnosti sposoben vyzvat' rasteryannost',  ocepenenie, strah i dazhe
emocional'nyj shok;
     - kogda  nuzhno  vozdejstvovat'  na chuvstva cheloveka - emu govoryat
preimushchestvenno v levoe uho, kogda na logiku - v pravoe;
     - lyudej,  ohvachennyh vnezapnym gnevom,  zametno legche rassmeshit',
chem v obychnom nastroenii,  v etom  sostoit  odin  iz  cennyh  sposobov
nejtralizacii konfliktov;
     - aktivnost' vospriyatiya v ogromnoj stepeni zavisit ot sposobnosti
poluchennoj  informacii  razberedit'  v  pamyati  cheloveka  tayashchiesya tam
vospominaniya;
     - to,  chto  vsecelo  novo  dlya  partnera  i  nikakim  obrazom  ne
stykuetsya s ego poznaniyami,  ne vyzyvaet u nego i osobogo interesa,  a
chem  bol'she  individ  znakom  s  predmetom,  tem  bolee ego interesuyut
chastnosti i nyuansy;
     - kogda   sub容kt   voobshche   ne  znakom  s  kakim-libo  voprosom,
posleduyushchee  vospriyatie   predmeta   obychno   sil'no   obuslovlivaetsya
pervichnym soobshcheniem o nem;
     - izvestiyu, poluchennomu pervym, gorazdo bol'she doveryayut, chem vsem
poluchennym v dal'nejshem;
     - lyudi  obychno  preuvelichivayut  informacionnuyu  cennost'  sobytij
podtverzhdayushchih  ih  gipotezu i nedoocenivayut informaciyu protivorechashchuyu
ej;
     - chelovek   vyskazyvaet  80%  iz  togo,  chto  hochet  soobshchit',  a
slushayushchie ego vosprinimayut lish' 70% iz etogo, ponimayut - 60%, v pamyati
zhe u nih ostaetsya ot 10 do 25%;
     - chtoby  partner   smog   vosprinyat'   peredavaemuyu   informaciyu,
neobhodimo   postoyanno   povtoryat'  emu  glavenstvuyushchie  tam  mysli  i
polozheniya;
     - chem luchshe my osoznaem predmet besedy, tem legche ee zapominaem;
     - "srednij chelovek" uderzhivaet v pamyati ne bolee  chetverti  togo,
chto bylo skazano emu lish' paru dnej nazad;
     - luchshe vsego pamyat' rabotaet mezhdu 8-12 chasami utra  i  posle  9
chasov vechera, huzhe vsego - srazu posle obeda;
     - luchshe vsego zapominaetsya poslednyaya chast' informacii,  neskol'ko
huzhe - pervaya, togda kak srednyaya - chashche vsego zabyvaetsya;
     - pamyat' cheloveka sposobna sohranit' do 90%  iz togo, chto chelovek
delaet, 50% iz togo, chto on vidit i 10% iz togo, chto on slyshit;
     - prervannye po tem ili inym prichinam dejstviya zapominayutsya v dva
raza luchshe chem zakonchennye;
     - slishkom znachitel'nyj ob容m nalichnoj informacii sbivaet s  tolku
i prepyatstvuet ee pererabotke;
     - intellekt luchshe vsego rabotaet v polozhenii cheloveka sidya,  huzhe
- stoya, sovsem ploho - lezha;
     - pozhilye lyudi luchshe vsego soobrazhayut utrom, molodye - vecherom;
     - lyudi, kak pravilo, umnee i raschetlivee v 8 chasov utra;
     - stoyashchij chelovek imeet nekoe  psihologicheskoe  preimushchestvo  nad
sidyashchim;
     - vzaimodejstvuya v usloviyah bol'shogo shuma neobhodimo: smotret' na
govoryashchego,   ispol'zovat'   lish'   horosho   znakomye   slova,  slegka
rastyagivat' slogi,  glagoly tipa "zapreshchayu" stavit'  v  nachale  frazy,
tipa "razreshayu" - v ee konce;
     - "mysl'  izmenyaetsya  v  zavisimosti  ot   slov,   kotorymi   ona
peredaetsya";
     - "inache rasstavlyaemye  slova  priobretayut  drugoj  smysl,  inache
rasstavlyaemye mysli proizvedut drugoe vpechatlenie";
     - pri impul'sivnom emocional'nom reagirovanii  obychno  ponimaetsya
ne bolee chem tret' ot vosprinimaemoj informacii, poskol'ku voznikayushchij
pri etom stress gotovit dlya aktivnogo  otveta  telo  (vybrasyvaniem  v
krov'  adrenalina,  aktivizaciej  dyhaniya  i  pul'sa,  zadejstvovaniem
rezervov sahara i zhira...), blokiruya "nenuzhnuyu" rabotu mozga;
     - zhenshchina   rassmatrivaet   razgovor   kak   sposob  ustanavleniya
kontakta,  vyskazyvaniya chuvstv ili simpatij - antipatij,  a glavnoe  -
kak sposob poiska resheniya razlichnyh problem;
     - muzhchiny  bol'she  lyubyat  govorit'  o  sobstvennyh  uspehah,  chem
slushat' o chuzhih, zhenshchiny - naoborot;
     - muzhchina ozabochen lichnym statusom vo mnenii okruzhayushchih i smotrit
na obshchenie kak na vozmozhnost' obmena informaciej,  a ne perezhivaniyami;
on zhazhdet utverdit' zdes' svoyu sobstvennuyu nezavisimost';
     - zhenshchiny   orientiruyutsya   na   vnutrennee   soderzhanie  (mysli,
namereniya, chuvstva i otnosheniya) besedy, usmatrivaya vsevozmozhnye nameki
vo  vsyakih  bezobidnyh replikah;  oni veryat slovam obychno bol'she,  chem
postupkam.



     Lyubaya beseda slagaetsya iz mnogochislennyh elementov,  zavisyashchih ot
vneshnih  obstoyatel'stv i sceplennyh produmannoj strategiej.  Razlichnye
aspekty effektivnogo obshcheniya predstavleny  v  razdelah  obrisovyvayushchih
verbovku  i metody vozdejstviya na cheloveka,  zdes' zhe my privedem lish'
nekie orientiruyushchie rekomendacii.
     *Gotovyas' k besede, primite vo vnimanie, chto*:
     - neobhodimo prevoshodno orientirovat'sya v toj probleme,  kotoruyu
vy  sobiraetes' ser'ezno obsuzhdat';  vozderzhivajtes' ot neobosnovannyh
suzhdenij;
     - raspolagayas'  za stolom drug protiv druga vy sozdaete atmosferu
konkurencii, snizhaya etim shansy na uspeh peregovorov;
     - nenuzhnoe    prisutstvie   nezainteresovannyh   lic   i   vsyakie
nepredusmotrennye  otvlecheniya  (zvonok  po  telefonu,  vnezapnyj  shum,
sluchajnyj   posetitel'...)   meshayut   doveritel'nomu   obshcheniyu,  lomaya
ustanavlivaemyj Vami nastroj besedy;
     - sidyashchij chelovek obychno otkrovennee stoyashchego, no esli poruchaetsya
zadanie,  rasschitannoe na reshitel'nost'  i  bystrotu  -  pust'  vizavi
vsegda stoit;
     - zhelaya,  chtoby sobesednik zapomnil nekotoryj fakt,  podajte  emu
etu informaciyu v samom nachale razgovora,  esli zhe Vy hotite,  chtoby on
nechto sdelal - ostav'te pros'bu na konec besedy.
     *Obshchayas' s chelovekom, osoznavajte, chto*:
     - lyudi neredko nachinayut myslit' lish'  v  tot  moment,  kogda  oni
zagovoryat;
     - chem men'she  u  partnera  uverennosti  v  sebe,  tem  bol'she  on
rashazhivaet vokrug da okolo, poka reshitsya i pristupit k glavnomu;
     - s vzvolnovannym i vozbuzhdennym chelovekom  net  smysla  govorit'
po-delovomu;
     - opasno poddavat'sya  vliyaniyu  emocij  sobesednika,  inache  mozhno
uteryat' ves' smysl soobshcheniya;
     - ispytyvaya pressing speshki ili sil'nejshego zhelaniya otpravit'sya v
tualet, sub容kt okazyvaetsya ne v sostoyanii razumno myslit';
     - "prikidyvayas' budto my popali v rasstavlennuyu nam  lovushku,  my
proyavlyaem  istinno izyskannuyu hitrost',  poskol'ku oblaposhit' cheloveka
legche vsego togda, kogda on hochet obmanut' nas";
     *Rasschityvaya poluchit' kakuyu-libo informaciyu, ne zabyvajte, chto*:
     - v otvete na fakticheskoe  utverzhdenie  partner  soobshchaet  bol'she
svedenij, chem otvechaya na obychnyj vopros;
     - dlya zhenshchin harakterno vospriyatie melkih sobytij kak krupnyh;
     - oshelomlyaya   cheloveka,   inoj   raz  udaetsya  poluchit'  dovol'no
neozhidannye materialy;
     - peremezhaya  svoej  frazoj "ne mozhet byt'" vyskazyvaniya partnera,
vy provociruete ego na  otkrovennost':  "lyudi  tol'ko  togda  soobshchayut
interesuyushchie nas svedeniya, kogda my protivorechim";
     - esli sozdat'  ubeditel'noe  vpechatlenie,  chto  vedaete  gorazdo
bol'she sobesednika, poslednij sam rasskazhet vse, chto znaet;
     - vyslushivaya emocional'nye  slova  i  vyrazheniya,  vnikajte  v  ih
real'nyj smysl, a ne oformlenie;
     - u vseh tak nazyvaemyh zakrytyh voprosov (t.e. trebuyushchih prostyh
-  "da"  ili  "net"  -  otvetov),  est'  svojstvo  narushat' hod myslej
govoryashchego, a potomu predpochitajte im otkrytye voprosy;
     - otkrytye  voprosy  horoshi  pri  polozhitel'nom  libo nejtral'nom
otnoshenii sobesednika, kogda Vam trebuyutsya dopolnitel'nye svedeniya ili
neobhodimo  proyasnit'  real'nye  motivy  i pozicii ob容kta;  poskol'ku
iniciativa zdes' peredaetsya partneru,  sledite,  chtoby on ne  zahvatil
kontrol' nad hodom vsej besedy.
     *Dlya sohraneniya  nuzhnoj  Vam  dobrozhelatel'nosti  vizavi  polezno
znat', chto*:
     - sub容kta mozhno privesti v horoshee raspolozhenie duha,  pojdya emu
na nekie ustupki,  kotorye po sushchestvu zametno men'she,  chem kazhutsya na
pervyj vzglyad;
     - pri   vsyakom  podhodyashchem  sluchae  aktivno  priznavajte  pravotu
partnera,  chto mozhet byt' polezno dazhe togda,  kogda on  v  chem-to  ne
prav;
     - chem kritichnee k  sebe  Vy  otnesetes'  pri  oshibke,  tem  bolee
obezoruzhivaetsya protivnik;
     - uchtivost' obhozhdeniya ne  priumen'shit  yasnosti  ni  pros'by,  ni
prikaza,  no yavno vosprepyatstvuet vozniknoveniyu u partnera podspudnogo
soprotivleniya;
     - ves'ma  nehorosho  na  atmosferu delovogo razgovora vozdejstvuet
prezritel'noe otmetanie argumentov  sobesednika  bez  vsyakogo  zhelaniya
ponyat' ih nastoyashchij smysl;
     - kogda vyskazyvaetsya vsecelo nepriemlemaya dlya  Vas  poziciya,  ne
stoit  otvergat'  ee  ogul'no,  luchshe  skazat',  chto  Vam ona poka chto
neponyatna.
     *Vystraivaya kompoziciyu kontakta uchityvayut, chto*:
     - v vybore taktiki i tehniki besedy  nado  uchityvat'  svoeobrazie
myshleniya  sobesednika  i  ego  psihofizicheskie osobennosti (k primeru,
zhenshchine celesoobrazno pokazat', chto sdelano, a ne kak delaetsya);
     - v   lyubom   obshchenii   nadobno  predusmotret'  kak  "vzlety"  (s
koncentraciej vnimaniya vizavi), tak kak - i "spady" (dlya organizacii i
zakrepleniya ego myslej i associacij) razgovora;
     - besedu sleduet periodicheski peremezhat'  obosnovannymi  pauzami,
chtoby davat' vozmozhnost' peredohnut' i zakrepit' dostignutoe;
     - umelo  rasstavlyaemye  pauzy  inoj  raz  mogut  okazat'  zametno
bol'shee vliyanie, chem obshchij potok slov;
     - temp podachi materiala i  razmeshchenie  ostanovok  opredelyayutsya  s
uchetom  psihologii partnera,  pri etom naibolee effektiven "kvantovyj"
(t.e. doziruemymi porciyami) posyl faktury;
     - ne  ochen'  priyatnye  momenty  i  fakty  zhelatel'no cheredovat' s
blagopriyatnymi,  a  nachalo  i  konec  besedy  dolzhny  byt'  nesomnenno
pozitivnymi;
     - po mere priblizheniya k zaversheniyu,  nasyshchennost'  kontakta  chashche
vsego rekomenduetsya povysit';
     - zhelatel'no ne dopuskat' vpechatleniya,  chto sobesednik sdalsya ili
zametno otstupil ot sobstvennyh pozicij.
     *ZHelaya ubedit' partnera v chem-to*:
     - starajtes'   vyyavit'   u  sobesednika  vse  punkty  vnutrennego
kolebaniya,  ili zhe te,  gde razygryvaetsya bor'ba motivov,  i imenno na
nih skoncentrirujte svoe vozdejstvie;
     - vozdejstvujte lish' temi  argumentami,  kakie  chelovek  sposoben
vosprinyat';
     - ne ogranichivajtes' golym privedeniem faktov i dovodov,  a chetko
raskryvajte ves' ih smysl;
     - snachala popytajtes' dat' otvet na argumenty vizavi,  a posle uzh
vyskazyvajte sobstvennye dovody;
     - ne  ignorirujte  protivnye  rezony,  a  zagodya  predpolagaya  ih
produmajte svoi kontrargumenty;
     - vsegda imejte pro zapas odin horoshij argument,  na  tot  sluchaj
esli ob容kt v moment prinyatiya resheniya vdrug stanet kolebat'sya;
     - polezno pridavat'  otdel'nym  utverzhdeniyam  formu  nejtral'nogo
voprosa (inoj raz ritoricheskogo,  a to i na obdumyvanie...), togda vash
vizavi ne oshchutit storonnego davleniya i  svyazannogo  s  nim  glubinnogo
konteksta i smozhet vosprinyat' podobnuyu podachu kak sobstvennoe mnenie;
     - vozderzhivajtes' ot voprosov,  na koi sobesednik mozhet  otvetit'
"net"  (kogda sub容kt publichno soobshchil o svoem mnenii,  ono stanovitsya
dovol'no stojkim ko vsem posleduyushchim atakam na nego...);
     - sklonyaya  cheloveka  na  svoyu storonu,  smotrite emu mezhdu glaz i
predstavlyajte imenno tu reakciyu, kotoruyu vy ozhidaete ot sobesednika;
     - ne otstupajte do teh por, poka partner neodnokratno i otchetlivo
ne povtorit reshitel'noe "net";
     - otslezhivajte    neverbal'nye    reakcii   ob容kta   podstraivaya
sobstvennoe povedenie k ego psihicheskomu sostoyaniyu (tak,  esli  vizavi
zainteresovalsya predlagaemoj problemoj,  on vynet sigaretu izo rta ili
sklonit golovu nabok;  teryaya interes k besede on stanet  razrisovyvat'
bumagu  libo  zabrosit  nogu na podlokotnik kresla;  v moment prinyatiya
resheniya partner poglazhivaet podborodok,  a okazavshis' v zatrudnenii  i
neuverennosti  -  pochesyvaet  uho,  shcheku  ili  nos,  a  takzhe potiraet
glaza...).
     *V manipulirovanii faktami ispol'zuyut takie sposoby, kak*:
     - zameshivanie klevety na pravde;
     - podsovyvanie  lozhnogo  fakta  ili nameka k soobshcheniyu o real'nyh
sobytiyah;
     - otvlechenie vnimaniya (igroyu na emociyah ili pobochnoj fakturoj...)
ot vazhnyh dannyh;
     - podmena faktov emociyami;
     - vystraivanie lozhnyh vyvodov iz vernyh faktov;
     - lozhnye obobshcheniya (obshchie vyvody na chastnom fakte);
     - prenebrezhenie vremennymi i logicheskimi svyazyami mezhdu faktami;
     - ispol'zovanie mnogoznachnyh slov;
     - lozhnye ssylki na avtoritety;
     - igra na associaciyah ("pochtenie k nauke"...);
     - igra na samolyubii ("Kak Vy konechno znaete...").
     *CHtoby rasseyat'   reshimost'   ob容kta   i  pomeshat'  emu  prinyat'
nezhelatel'noe dlya Vas reshenie,  ispol'zuyut netaktichnye  priemy,  takie
kak*:
     - opazdyvanie na vstrechu;
     - nasmeshki, oskorbleniya, obvineniya;
     - demonstrativnoe prenebrezhenie;
     - soobshchenie chego-to nepriyatnogo;
     - razygryvanie "neponimaniya";
     - davlenie "nehvatkoj vremeni";
     - oshelomlenie naporom;
     - ustanovlenie nereal'nyh srokov;
     - zatyagivanie peregovorov...
     Kogda po  poze  cheloveka  Vam  stanet  sovershenno  yasno,  chto  on
namerevaetsya okonchit' razgovor, berite iniciativu v svoi ruki i pervym
predlozhite   zavershit'  kontakt,  poskol'ku  eto  pozvolyaet  sohranit'
psihologicheskoe preimushchestvo i Vash kontrol' nad situaciej.





     Lyudi kak  pravilo  vyskazyvayut  odno,  a  dumayut  sovsem  drugoe,
poetomu ochen' vazhno ponimat' ih istinnoe sostoyanie.
     Pri peredache informacii lish' 7%  ot  nee  soobshchaetsya  posredstvom
slov   (verbal'no),   procentov   30   vyrazhaetsya   zvuchaniem   golosa
(tonal'nostyami, intonaciej...) i bolee 60% idet po prochim neverbal'nym
(vzglyad, zhesty, mimika...) kanalam.
     Dlya pravil'nogo  ponimaniya  govoryashchego   ocenivat'   proiznosimoe
zhelatel'no  v  nerazryvnoj  svyazi  slov,  rechi,  pantomimiki  i drugih
"soprovoditelej"  obshcheniya,  dovodya  svoe   vospriyatie   do   nekotoroj
zavershennosti.
     *Ispytyvaemye v dushe emocii lyudi obychno vyrazhayut*:
     - konvencial'no  (standartno  prinyatym  v  dannoj  srede  obshcheniya
sposobom);
     - spontanno (neproizvol'no).
     Kogda partner  stremitsya  ne  vydat'  to,  kak  on  otnositsya   k
soobshchaemomu,    vse    mozhet   ogranichit'sya   prostym   konvencial'nym
neverbal'nym  namekom,   byvayushchim   inoj   raz   istinnym,   no   chashche
dezorientiruyushchim.
     Lyudi neredko vzveshivayut svoi slova i kontroliruyut mimiku,  odnako
chelovek  sposoben  sledit' odnovremenno ne bolee chem za dvumya-tremya iz
vseh rozhdaemyh vnutri reakcij. Blagodarya takoj "utechke informacii" pri
nalichii  u  Vas  sootvetstvuyushchih  znanij  i  opyta imeetsya vozmozhnost'
vyyavlyat' te chuvstva i stremleniya, kotorye ob容kt predpochel by utait'.
     Neproizvol'no voznikayushchie  u lyudej reakcii sugubo individual'ny i
horosho chitayutsya lish' pri otmennom znanii  partnera.  Neponimanie  sego
momenta  sposobno  privesti k fatal'nomu samoobmanu v poznanii drugogo
cheloveka.
     Ocenivaya personal'nuyu   ekspressiyu,   v   uchet  berut  ne  tol'ko
vrozhdennye razlichiya,  no i vliyanie tradicij, vospitaniya, sredy i obshchej
zhiznennoj kul'tury.
     Osoznavat' zhelatel'no   kak   fonovoe   sostoyanie    (nastroenie)
individa,  tak  i  ego  reakciyu  na nekij poyavlyayushchijsya stimul (zondazh,
postupok, situaciyu...).
     Znachitel'no otchetlivee,     chem    u    muzhchin    prosmatrivayutsya
nalichestvuyushchie emocii u zhenshchin,  kotorye obychno  (hotya  i  ne  vsegda)
legko chitaemy.
     Uspeshnost' v sokrytii svoih chuvstv  zavisit  ot  natury  cheloveka
(holeriku eto trudnee, chem flegmatiku...), soputstvuyushchih obstoyatel'stv
(zatragivaemosti, neozhidannosti...) i opyta vosprinimayushchego.
     Pri stimulirovanii lichnyh chuvstv,  dlya bol'shej ubeditel'nosti vse
ekspressivnye sredstva obychno primenyayut v izbytke.  Ne zabyvajte  etot
fakt  ocenivaya  iskrennost'  drugih  lyudej  i  probuya  izobrazhat' svoi
perezhivaniya.
     |mociyami cheloveka povelevaet pravoe iz polusharij mozga, a logikoj
i rech'yu - levoe.  Vdobavok kazhdoe iz etih polusharij koordiniruet  svoyu
vsegda  raznoimennuyu  storonu  tela.  Poetomu:  vse  to,  chto  chelovek
staraetsya prodemonstrirovat' drugim,  otobrazhaetsya na pravoj  polovine
ego tela, a to, chto on v real'nosti perezhivaet - na levoj.
     Perezhivaniya, voznikayushchie    v    dushe    kakogo-libo    cheloveka,
vysvechivayutsya v ego oblike i dvizheniyah vpolne opredelennym obrazom,  i
to kak eto proishodit my zdes' podrobno rassmotrim.



     Pod dejstviem    ispytyvaemyh    individom    chuvstv    rozhdayutsya
skoordinirovannye   sokrashcheniya   i   rasslableniya   razlichnyh  licevyh
struktur,  kotorye opredelyayut  vyrazhenie  lica,  prekrasno  otrazhayushchee
perezhivaemye   emocii.  Poskol'ku  sostoyaniem  licevyh  myshc  neslozhno
nauchit'sya  upravlyat',  otobrazhenie  emocij  na  lice  neredko  probuyut
maskirovat', a to i imitirovat'.
     Ob iskrennosti chelovecheskoj emocii  obychno  govorit  simmetriya  v
otobrazhenii chuvstva na lice,  togda kak chem sil'nee fal'sh',  tem bolee
raznyatsya mimikoj ego pravaya i levaya poloviny.
     Dazhe legko  raspoznavaemaya  mimika  inoj raz ochen' kratkovremenna
(doli sekundy...)  i  zachastuyu  ostaetsya  nezamechennoj;  chtoby  sumet'
perehvatit'  ee  nuzhna poryadochnaya praktika ili special'naya trenirovka.
Pri etom  polozhitel'nye  emocii  (radost',  udovol'stvie...)  uznayutsya
legche, chem otricatel'nye (pechal', styd, otvrashchenie...).
     Osoboj emocional'noj vyrazitel'nost'yu otlichayutsya  guby  cheloveka,
chitat'  kotorye  sovsem neslozhno (usilennaya mimika rta ili zakusyvanie
gub,  k primeru,  svidetel'stvuyut o bespokojstve,  nu a skrivlennyj  v
odnu storonu rot - o skepsise ili nasmeshke...).
     Ulybka na  lice,   kak   pravilo,   vykazyvaet   druzhelyubie   ili
potrebnost' v odobrenii.  Ulybka dlya muzhchiny - eto horoshaya vozmozhnost'
pokazat',  chto on vo vsyakoj situacii  vladeet  soboj.  Ulybka  zhenshchiny
znachitel'no pravdivee i chashche sootvetstvuet ee fakticheskomu nastroeniyu.
Tak kak ulybki splosh' i ryadom otobrazhayut raznye motivy,  zhelatel'no ne
slishkom polagat'sya na ih standartnoe istolkovanie:
     - chrezmernaya ulybchivost' - potrebnost' v odobrenii;
     - krivaya ulybka - znak kontroliruemoj nervoznosti;
     - ulybka pri pripodnyatyh brovyah - gotovnost' podchinit'sya;
     - ulybka pri opushchennyh brovyah - vykazyvanie prevoshodstva;
     - ulybka bez pod容ma nizhnih vek - neiskrennost';
     - ulybka s  postoyannym  rasshireniem  glaz  bez  ih  zakryvaniya  -
ugroza.
     Tipichnye vyrazheniya  lica,  soobshchayushchie  ob  ispytyvaemyh  emociyah,
takovy:
     - *radost'*:  gruby iskrivleny i ih ugolki ottyanuty nazad, vokrug
glaz obrazovalis' melkie morshchinki;
     - *interes*: brovi nemnogo pripodnyaty ili opushcheny, togda kak veki
slegka rasshireny ili suzheny;
     - *schast'e*:  vneshnie ugolki gub  pripodnyaty  i  obychno  otvedeny
nazad, glaza spokojnye;
     - *udivlenie*:  podnyatye brovi obrazuyut morshchiny na lbu, glaza pri
etom rasshireny, a priotkrytyj rot imeet okruglennuyu formu;
     - *otvrashchenie*:  brovi opushcheny, nos smorshchen, nizhnyaya guba vypyachena
ili pripodnyata i somknuta s verhnej guboj, glaza kak by kosyat; chelovek
slovno podavilsya ili splevyvaet;
     - *prezrenie*, brov' pripodnyata, lico vytyanuto, golova vozvyshena,
slovno chelovek smotrit na kogo-to sverhu vniz;  on kak by otstranyaetsya
ot sobesednika;
     - *strah*:  brovi nemnogo podnyaty,  no  imeyut  pryamuyu  formu,  ih
vnutrennie  ugly sdvinuty i cherez lob prohodyat gorizontal'nye morshchiny,
glaza rasshireny,  prichem  nizhnee  veko  napryazheno,  a  verhnee  slegka
pripodnyato,  rot  mozhet  byt'  otkryt,  a  ugolki  ego ottyanuty nazad,
natyagivaya i raspryamlyaya guby nad zubami (poslednee kak raz i govorit ob
intensivnosti  emocii...);  kogda  v nalichii lish' upomyanutoe polozhenie
brovej, to eto - kontroliruemyj strah;
     - *gnev*:   myshcy   lba   sdvinuty  vovnutr'  i  vniz,  organizuya
ugrozhayushchee ili nahmurennoe vyrazhenie glaz,  nozdri rasshireny i  kryl'ya
nosa pripodnyaty, guby libo plotno szhaty, libo ottyanuty nazad, prinimaya
pryamougol'nuyu formu i obnazhaya stisnutye zuby, lico chasto krasneet;
     - *styd*:  golova opushchena,  lico otvernuto, vzglyad otveden, glaza
ustremleny vniz ili "begayut" iz storony v storonu,  veki  prikryty,  a
inogda  i  somknuty;  lico  dovol'no  pokrasnevshee,  pul's  uchashchennyj,
dyhanie s pereboyami;
     - *skorb'*:  brovi svedeny, glaza tuskly, a vneshnie ugly gub inoj
raz neskol'ko opushcheny.
     Znat' vyrazheniya  lica pri razlichnyh emociyah polezno ne tol'ko dlya
togo,  chtoby ponimat' drugih, no i dlya tshchatel'nejshej otrabotki (obychno
pered zerkalom) svoih rabochih imitacij.



     Otkrovenno govoryat  o vnutrennih perezhivaniyah cheloveka ego glaza,
nedarom opytnye "igroki" pytayutsya skryvat' ih  vyrazhenie  za  steklami
temnyh ochkov.
     *Lyudej obychno vydayut*:
     - kakie-libo  izmeneniya  v obychnom vyrazhenii glaz - vozniknovenie
nekoj emocii, signal reagirovaniya na stimul;
     - neproizvol'nye  dvizheniya  glaz  (zametno  "begayushchie  glaza")  -
trevoga, styd, obman, strah, nevrasteniya;
     - blestyashchij vzglyad - goryachka, vozbuzhdenie;
     - osteklenelyj vzglyad - chrezvychajnaya slabost';
     - uvelichenie zrachkov - oshchushchenie interesa i poluchenie udovol'stviya
ot informacii,  obshcheniya,  fotografii,  partnera, pishchi, muzyki i prochih
vneshnih  faktorov,  prinyatie chego-libo,  no takzhe i sil'noe stradanie;
upotreblenie nekotoryh lekarstv i narkotikov (marihuany, kokaina...);
     - suzhenie zrachkov - nakatyvanie razdrazheniya,  zloby,  nenavisti i
shodnyh   otricatel'nyh   emocij,   neprinyatie   chego-libo;   dejstvie
opredelennyh narkotikov (morfiya, geroina...);
     - sumburnye dvizheniya zrachkov - znak op'yaneniya (chem bol'she takovyh
dvizhenij, tem chelovek p'yanee);
     - usilennoe morganie - vozbuzhdenie, obman.
     Lyudi vsegda   predpochitayut   smotret'   na   teh,  kem  oni  yavno
voshishchayutsya,  ili na teh,  s  kem  u  nih  blizkie  vzaimootnosheniya  s
blizkogo  rasstoyaniya;  zhenshchiny  pri  etom proyavlyayut bol'shij vizual'nyj
interes, chem muzhchiny.
     V hode obshcheniya chashche vsego smotryat partneru v glaza kogda slushayut,
a ne kogda govoryat,  hotya osushchestvlyaya  vnushenie,  inoj  raz  primenyayut
pryamoj vzglyad v glaza v moment proizneseniya dialoga.
     Sub容kt, kotoryj smotrit Vam v glaza zametno men'she  odnoj  treti
vsego perioda obshcheniya libo ne chesten, libo pytaetsya skryt' chto-to; tot
zhe,  kto neskryvaemo uporno vglyadyvaetsya  v  glaza  ispytyvaet  k  Vam
povyshennyj   interes   (zrachki   rasshireny),   vykazyvaet  otkrovennuyu
vrazhdebnost' (zrachki suzheny) ili stremitsya dominirovat'.
     Modifikacii kontaktov glaz imeyut sleduyushchuyu rasshifrovku:
     - "otsutstvuyushchij vzglyad" - sosredotochennoe razmyshlenie;
     - perevedenie  vzglyada  na  okruzhayushchie  predmety  i  v  potolok -
padenie interesa k besede, izlishne dlinnyj monolog partnera;
     - nastojchivyj  i  pristal'nyj  vzglyad  v  glaza (zrachki suzheny) -
priznak vrazhdebnosti i yavnogo zhelaniya dominirovat';
     - nastojchivyj  i  pristal'nyj vzglyad v glaza (zrachki rasshireny) -
znak seksual'noj zainteresovannosti;
     - otvod  i  opuskanie  vzglyada  - styd,  obman;  - vzglyad sboku -
nedoverie;
     - vzglyad   to  otvoditsya,  to  vozvrashchaetsya  nazad  -  otsutstvie
soglasiya, nedoverie.



     Znachitel'nuyu informaciyu  o  vnutrennem  nastroe   cheloveka   daet
staticheskoe  polozhenie  ego  tela.  Pri  etom  chasto  povtoryaemaya poza
soobshchaet ob ustojchivyh osobennostyah lichnosti.
     Poskol'ku v  perepadah chuvstv lyudi obychno luchshe kontroliruyut svoe
lico, chem telo, neredko vovse ne mimika, a poza sposobna rasskazat' ob
istinnyh perezhivaniyah individa.
     *Vozmozhnye privyazki  polozhenij  tela  k  psihicheskomu   sostoyaniyu
cheloveka takovy*:
     - ruki zalozheny  za  spinu,  golova  vysoko  podnyata,  podborodok
vystavlen - chuvstvo uverennosti v sebe i prevoshodstva nad drugimi;
     - korpus podan vpered, ruki (podbochenyas') na bedrah - uverennost'
v  svoih  silah  i  gotovnost'  k  aktivnym dejstviyam,  agressivnost',
vzvinchennost' pri razgovore,  stremlenie otstaivat'  svoyu  poziciyu  do
konca;
     - stoyanie,  opirayas' rukami o stol ili stul - oshchushchenie  nepolnoty
kontakta s partnerom;
     - ruki s rasstavlennymi loktyami zavedeny za  golovu  -  osoznanie
prevoshodstva nad drugimi;
     - zakladyvanie  bol'shih  pal'cev  ruk  za  poyas  ili  v   prorezi
karmanov; - znak agressivnosti i demonstriruemoj uverennosti v sebe;
     - vysovyvanie  bol'shih   pal'cev   ruk   iz   karmanov   -   znak
prevoshodstva;
     - skreshchennye konechnosti - skepticheskaya zashchitnaya ustanovka;
     - neskreshchennye  konechnosti  i  rasstegnutyj  pidzhak  -  ustanovka
doveriya;
     - naklon golovy v storonu - probuzhdenie interesa;
     - naklon golovy vniz - otricatel'noe otnoshenie;
     - legkij otklon golovy nazad - znak agressivnosti;
     - sidenie na konchike stula - gotovnost' vskochit' v  lyuboj  moment
chtoby:  libo ujti, libo dejstvovat' v sozdavshejsya situacii, libo unyat'
skopivsheesya vozbuzhdenie,  libo privlech' k sebe vnimanie i podklyuchit'sya
k razgovoru;
     - zakidyvanie nogi na nogu so skreshchivaniem ruk na  grudi  -  znak
"otklyucheniya" ot razgovora;
     - zabrasyvanie  nogi  na  podlokotnik  kresla  (sidya  na  nem)  -
prenebrezhenie k okruzhayushchim, poterya interesa k razgovoru;
     - skreshchennye lodyzhki u sidyashchego  -  sderzhivanie  neodobritel'nogo
otnosheniya, strah ili vzvolnovannost', popytka samokontrolya, negativnoe
zashchitnoe sostoyanie;
     - polozhenie  (sidya ili stoya) s nogami orientirovannymi na vyhod -
yavnoe zhelanie prekratit' razgovor i ujti;
     - chastaya peremena poz, erzan'e na stule, suetlivost' - vnutrennee
bespokojstvo, napryazhennost';
     - vstavanie  -  signal o tom,  chto nekoe reshenie prinyato,  beseda
nadoela, chto-to udivilo ili shokirovalo...;
     - sceplennost'  pal'cev  ruk  -  razocharovanie  i  zhelanie skryt'
otricatel'noe otnoshenie (chem  vyshe  raspolozheny  pri  etom  ruki,  tem
sil'nee negativ);
     - kisti  ruk  soedineny   konchikami   pal'cev,   no   ladoni   ne
soprikasayutsya  -  znak  prevoshodstva  i  uverennosti v sebe i v svoih
slovah;
     - ruki  opirayutsya loktyami o stol,  a ih kisti raspolozheny - pered
rtom  -  skryvanie  svoih  istinnyh  namerenij,  igra  s  partnerom  v
koshki-myshki;
     - podderzhivanie golovy ladon'yu - skuka;
     - pal'cy,  szhatye v kulak raspolozheny pod shchekoj, no ne sluzhat dlya
opory golovy - priznak zainteresovannosti;
     - podpiranie bol'shim pal'cem podborodka - znak nekoej kriticheskoj
ocenki;
     - obhvatyvanie  svoego  bokala  dvumya  rukami  -  zamaskirovannaya
nervoznost';
     - vypuskanie  dyma  ot  sigarety  vverh  - polozhitel'nyj nastroj,
uverennost' v sebe;
     - vypuskanie  dyma  ot  sigarety  vniz  - negativnyj nastroj,  so
skrytymi ili podozritel'nymi myslyami.



     "ZHest est' ne dvizhenie tela,  a dvizhenie  dushi".  On  soobshchaet  o
zhelanii  cheloveka  i  o  tom,  chto  tot  v  etot moment ispytyvaet,  a
privychnyj dlya kogo-to zhest - svidetel'stvuet o cherte ego haraktera.
     Vneshne odinakovye   zhesty   u   razlichnyh  lyudej  mogut  oznachat'
sovershenno nepohozhie veshchi, no sushchestvuyut i tozhdestvennye momenty:
     - aktivnaya  zhestikulyaciya - chastyj komponent polozhitel'nyh emocij,
ponimaemyj drugimi kak vykazyvanie druzhelyubiya i zainteresovannosti;
     - chrezmernaya    zhestikulyaciya    -    priznak   bespokojstva   ili
neuverennosti.
     Pri opredelenii  myslej  i  emocij individa sleduet otmechat' lish'
neproizvol'nuyu zhestikulyaciyu:
     - demonstraciya otkrytyh ladonej - pokazatel' otkrovennosti;
     - szhatie kulakov -  vnutrennee  vozbuzhdenie,  agressivnost'  (chem
sil'nee szhimayutsya pal'cy, tem sil'nee sama emociya);
     - prikryvanie rta rukoj (ili bokalom v  ruke)  v  moment  rechi  -
udivlenie,   neuverennost'   v   proiznosimom,   lozh',   doveritel'noe
soobshchenie, professional'naya podstrahovka ot chteniya po gubam;
     - prikosnoveniya k nosu ili legkie pochesyvaniya ego - neuverennost'
v soobshchaemom  (kak  soboj,  tak  i  partnerom),  lozh',  poisk  v  hode
diskussii novogo kontrargumenta;
     - potiranie  pal'cem  veka  -  lozh',  no  inoj  raz  -   oshchushchenie
podozritel'nosti i lzhi so storony partnera;
     - potiranie i pochesyvanie razlichnyh fragmentov golovy (lba,  shchek,
zatylka, uha...) - ozabochennost', smushchenie, neuverennost';
     - poglazhivanie podborodka - moment prinyatiya resheniya;
     - suetlivost'    ruk   (tereblenie   chego-libo,   skruchivanie   i
raskruchivanie avtoruchki, trogan'e chastej odezhdy...) - nastorozhennost',
nervoznost', smushchenie;
     - poshchipyvanie ladoni - gotovnost' k agressii;
     - pokusyvanie nogtej - vnutrennee bespokojstvo;
     - vsevozmozhnye  dvizheniya  ruki  poperek  tela  (popravit'   chasy,
prikosnut'sya   k   zaponke,   poigrat'   pugovicej  na  manzhete...)  -
maskiruemaya nervoznost';
     - sobiranie "vorsinok" s odezhdy - zhest neodobreniya;
     - ottyagivanie  ot  shei  yavno  meshayushchego  vorotnichka   -   chelovek
podozrevaet,  chto  drugie  raspoznali ego obman,  nehvatka vozduha pri
gneve;
     - protiranie  stekol ochkov libo pomeshchenie duzhki ih opravy v rot -
pauza dlya obdumyvaniya, pros'ba podozhdat';
     - snyatie ochkov i brosanie ih na stol - chrezmerno ostryj razgovor,
trudnaya i nepriyatnaya tema;
     - gashenie   ili  otkladyvanie  sigarety  -  period  maksimal'nogo
napryazheniya;
     - slishkom chastoe sbivanie pepla s sigarety - tyagostnoe vnutrennee
sostoyanie, nervoznost';
     - naklon golovy nabok - probuzhdenie interesa;
     - bystryj  naklon  ili  povorot  golovy  v  storonu   -   zhelanie
vyskazat'sya;
     - postoyannoe  otbrasyvanie  yakoby  "meshayushchih"  volos  so  lba   -
bespokojstvo;
     - yavnoe stremlenie  operet'sya  na  chto-libo  ili  prislonit'sya  k
chemu-libo  -  oshchushchenie  slozhnosti i nepriyatnosti momenta,  nerazumenie
togo, kak vykrutit'sya iz sozdavshegosya polozheniya (vsyakaya opora povyshaet
uverennost' v sebe...).



     Golos dovol'no  tochno  soobshchaet  okruzhayushchim  o  tekushchem sostoyanii
cheloveka (o ego perezhivaniyah,  otnoshenii  k  faktam,  samochuvstvii,  a
neredko - i o temperamente, o chertah haraktera).
     Ulovit' emocii  ob容kta  (gnev  i  pechal'  -  legche,  revnost'  i
nervoznost' - slozhnee...) pozvolyaet TON ego golosa.
     V sostoyanii trevogi ili nervnogo napryazheniya u partnera  neskol'ko
menyaetsya  i  golosovoj  TEMBR.  |tot fakt nashel dostojnoe primenenie v
beskontaktnyh  (t.e.  vsecelo  nezametnyh  dlya  sobesednika)  obrazcah
"detektora lzhi".
     Rasshifrovyvaya soobshchenie, obrashchajte vnimanie kak na SILU, tak i na
VYSOTU golosa:
     - yavno vysokij - entuziazm, radost', nedoverie;
     - vysokij,  v shirokom diapazone sily, tonal'nosti i vysoty - gnev
i strah;
     - chrezmerno vysokij, pronzitel'nyj - bespokojstvo;
     - myagkij  i  priglushennyj,  s ponizheniem intonacii k koncu kazhdoj
frazy - gore,  pechal',  ustalost';
     - forsirovanie zvuka - napryazhenie, obman.
     *Znachitel'no informativny neverbal'nye zvuki*:
     - svist (yavno ne hudozhestvennyj...) - neuverennost' ili opasenie;
     - nesootvetstvuyushchij momentu hohot - napryazhenie;
     - neozhidannye spazmy golosa - napryazhenie;
     - postoyannoe  pokashlivanie  -  lzhivost',  neuverennost'  v  sebe,
obespokoennost'.



     Bolee vsego o vnutrennem  psihoemocional'nom  sostoyanii  cheloveka
mozhet  soobshchit'  analiz  ego  svyaznoj  rechi:  kak  v  nej  rasstavleny
logicheskie udareniya, kak bystro proiznosyatsya slova, kak konstruiruyutsya
frazy,  kakie  imeyutsya  otkloneniya  ot normy (neuverennyj ili nevernyj
podbor slov,  obryvanie fraz na poluslove,  izmenenie slov,  poyavlenie
slov-parazitov, ischeznovenie pauz...). Pri etom:
     - bystraya rech' - ochevidnaya  vzvolnovannost'  ili  obespokoennost'
chem-to,  strastnoe  zhelanie ubedit' ili ugovorit' kogo-to,  razgovor o
lichnyh trudnostyah;
     - medlennaya rech' - vysokomerie,  ustalost', ugnetennoe sostoyanie,
gore;
     - preryvistaya rech' - neuverennost';
     - poyavlenie osoboj "gladkosti" rechi - vozbuzhdenie;
     - lakonichnost' i reshitel'nost' rechi - yavnaya uverennost';
     - zaikanie - napryazhennost' ili obman;
     - nereshitel'nost' v podbore  slov  -  neuverennost'  v  sebe  ili
namerenie vnezapno udivit' chem-to;
     - poyavlenie rechevyh nedostatkov (povtorenie ili  iskazhenie  slov,
obryvanie fraz na poluslove...) - nesomnennoe volnenie,  no inoj raz i
zhelanie obmanut';
     - opuskanie rechevyh pauz - napryazhenie;
     - slishkom udlinennye pauzy - nezainteresovannost' ili nesoglasie;
     - poyavlenie v rechi pauz, zapolnyaemyh slovami-parazitami ("nu...",
"tak skazat'"...,  "e"...) - nereshitel'nost' i zatrudnenie v vyrazhenii
mysli, poisk vyhoda iz polozheniya;
     - vklinivanie  v  proiznosimoe  slovo  umen'shitel'no-laskatel'nyh
suffiksov ("yasnen'ko"...) - emocional'noe ili fizicheskoe napryazhenie;
     - vozrastanie chisla  trivial'nyh  naborov  slov,  progovarivaemyh
bystree chem obychno - emocional'noe vozbuzhdenie, napryazhenie;
     - umolkanie ili skupost' v slovah - obida;
     - postoyannoe preryvanie drugih - napryazhenie;
     - perehod vnutrennej rechi vo vneshnyuyu ("mysli vsluh") - chrezmernoe
volnenie.



     |ti reakcii  obychno  ploho  poddayutsya  kontrolyu  (hotya razlichnymi
priemami  pytayutsya  ih  maskirovat')  i  potomu  ves'ma  informativny.
Otdel'nye   iz   nih   vyyavlyayut  pri  apparatnoj  diagnostike  obmana,
osushchestvlyaemoj  priborami,   izvestnymi   pod   obobshchayushchim   nazvaniem
"detektor lzhi" (a takzhe "poligraf").
     *Standartnoe prochtenie etih reakcij takovo*:
     - pokrasnenie lica (inoj raz pyatnami) - styd, gnev;
     - pobelenie lica - strah, priznak vinovnosti;
     - rasshirenie zrachkov - interes,  udovol'stvie,  soglasie, sil'naya
bol';
     - suzhenie zrachkov - neudovol'stvie, otverganie;
     - usilennye  bieniya  pul'sa  na  venah  ruk  ili   arteriyah   shei
(poddergivanie  galstuka  na  shee  iz-za  aktivnogo serdcebieniya...) -
trevoga, strah, styd, obman;
     - snizhenie chastoty pul'sa - povyshennoe vnimanie;
     - bystroe ili poverhnostnoe dyhanie - vnutrennee napryazhenie;
     - korotkoe dyhanie cherez nos - zlost';
     - narushennost'   dyhaniya,   spazmaticheskie   dvizheniya   gorla   i
reflektornye sglatyvaniya slyuny - trevoga, styd, obman;
     - peresyhanie rta  (sglatyvaniya,  oblizyvanie  gub,  zhazhda...)  -
strah, obman;
     - vnezapnoe obnazhenie zubov - priznak yarosti, agressivnost';
     - isparina, pot - gnev, smushchenie, nervoznost', obman;
     - drozh' (v pal'cah  ruk  i  nog,  myshcah  lica...)  -  vnutrennee
napryazhenie, strah, obman;
     - chastoe morganie - vozbuzhdenie, obman;
     - urchanie v zhivote - strah (ne vsegda, razumeetsya...);
     - skrip  zubami  -  sil'nejshaya  nervoznost',  stress,  otsutstvie
vozmozhnosti osushchestvit' zadumannoe.
     Podobnye reakcii obychno  proshche  obnaruzhit'  u  muzhchin,  nezheli  u
zhenshchin, kotorye k tomu zhe luchshe ohmuryayut i detektor lzhi.



     Predstavlennaya zdes'  privyazka otslezhivaemyh vneshnih proyavlenij k
tomu,  chto individ fakticheski perezhivaet, nepolna i ne sovsem nadezhna,
poskol'ku kazhdyj chelovek hot' chutochku, da unikalen.
     - *Osoznanie svoej sily* (uverennost' v sebe).  Stabil'naya pryamaya
poza  dopolnennaya  vystavlennym  podborodkom,  ruki  pri  etom  mogut:
sceplyat'sya  za  spinoj,  raspolagat'sya  na   bedrah   ("podbochenyas'"),
zasovyvat'sya v karmany pri ostavlenii bol'shih pal'cev snaruzhi, aktivno
demonstrirovat' tyly kistej,  v to vremya kak bol'shie pal'cy pomeshchayutsya
za poyas...  "Osedlyvanie" stula, ili nebrezhnoe zabrasyvanie odnoj nogi
na podlokotnik kresla...  Ruki  poroj  zakladyvayutsya  za  golovu  libo
soedinyayutsya  koncami  pal'cev  pri razvedenii ladonej...  Glaza podchas
pochti prikryty vekami,  tak chto smotret' prihoditsya  pri  zaprokinutoj
nazad  golove...  Ulybka  s  prispushchennymi brovyami...  Reshitel'nost' i
lakonichnost'  rechi...  Skupost'  v  peredache  delovoj   informacii   i
rastochitel'stvo  fakturoj  pri  ustanavlivanii kontakta...  Povyshennaya
zainteresovannost'  problemami,  celyami  i   obyazannostyami   drugih...
Spokojstvie...
     - *Osoznanie svoej slabosti*  (otsutstvie  uverennosti  v  sebe).
CHrezmernaya zhestikulyaciya, a takzhe ubiranie ruk za spinu s zahvatyvaniem
odnoj rukoj zapyast'ya drugoj;  stremlenie  operet'sya  na  chto-libo  ili
prislonit'sya   k   chemu-libo...  Ulybka  v  sochetanii  s  pripodnyatymi
brovyami... Somneniya v podbore slov i preryvaemaya rech'... Pospeshnost' i
gotovnost'  v  vydache  informacii,  a  takzhe sklonnost' obstoyatel'no i
doskonal'no argumentirovat' svoi popolznoveniya... Suetlivost'...
     - *Volya  k  soprotivleniyu*.  Srednyaya  gromkost'  golosa,  tverdyj
holodnyj ton,  chetkaya artikulyaciya,  medlennyj temp i ritmichnoe techenie
rechi, tochnaya dikciya...
     - *Vnutrennee  napryazhenie*.  Zazhatost'  v  pozah   i   dvizheniyah,
stremlenie operet'sya ili prislonit'sya k chemu-libo,  skreshchennye lodyzhki
u sidyashchego.  Predel'no sceplennye mezhdu  soboj  ruki,  izlishne  chastoe
sbivanie   pepla   s  goryashchej  sigarety...  Izmenenie  tembra  golosa,
forsirovanie zvuka,  vnezapnye spazmy gortani, skrip zubami, zaikanie,
nesootvetstvuyushchij  momentu  hohot,  postoyannoe  perebivanie  drugih...
Uvelichenie chisla shablonnyh fraz,  vyskazyvaemyh bystree,  chem  obychno,
prenebrezhenie   rechevymi   pauzami,   ispol'zovanie   v  rechi  slov  s
laskatel'nymi i umen'shitel'nymi suffiksami.
     - *Ustalost'  ili  ugnetennost'*.  Tusklyj i osteklenelyj vzglyad,
zamedlennaya rech',  myagkij i priglushennyj golos, s padeniem intonacii k
koncu otdel'noj frazy...
     - *Vrazhdebnost'*.  Otodviganie ot partnera,  szhimanie kulakov pri
skreshchennyh  rukah,  otklon vsej golovy nazad i obryvanie chuzhoj rechi...
Pristal'nyj ili  nastojchivyj  vzglyad  v  glaza  s  rezko  umen'shennymi
zrachkami...  V vozmozhnom variante smotryat iskosa pri opushchennyh brovyah,
lob nahmuren, ugolki gub opushcheny.
     - *Nervoznost'  i  neuverennost'*.  Suetlivost',  chastaya peremena
pozy,  chrezmernaya zhestikulyaciya,  dvizheniya ruki poperek tela (vzyat' ili
popravit'  chto-to...),  pokusyvanie  nogtej,  otbrasyvanie  "meshayushchih"
volos so lba,  usilennaya mimika  rta,  zakusyvanie  gub...  Vysokij  i
pronzitel'nyj  golos,  bystraya  rech',  "vyskazyvanie  myslej vsluh"...
Isparina, pot...
     - *Horoshee  nastroenie*  (polozhitel'nye emocii).  Ulybka na lice,
aktivnaya zhestikulyaciya, rasshirennye zrachki, rasstegnutyj pidzhak, bodroe
nasvistyvanie  kakoj-libo melodii...  Puskanie dyma ot sigarety vverh,
obshchitel'nost'...
     - *Plohoe   nastroenie*   (otricatel'nye   emocii).   Pohodka   s
volocheniem  nog,  zametno  suzhennye  zrachki,  vzglyad  ustremlennyj   k
zemle...  Puskanie  dyma ot sigarety vniz,  zamedlennaya rech',  ugryumoe
molchanie,  razdrazhennyj  golos...  Pridirki  k  sovershenno  bezobidnym
slovam i provocirovanie na ssoru, vrazhdebnost' nekontaktnost'...



     Esli do  etogo  byli  rassmotreny tipicheskie proyavleniya bolee ili
menee ustojchivogo fonovogo psihoemocional'nogo  nastroya  cheloveka,  to
teper'   my   udelim   vnimanie  avtomaticheskim  reakciyam  ob容kta  na
neozhidanno voznikshij razdrazhitel' (slovo,  postupok, situaciyu...). Kak
i vsegda,  na uchet berut libo nabor iz privodimyh nizhe priznakov, libo
edinstvennyj, no harakternyj dlya konkretnogo sub容kta otklik:
     - *udovol'stvie,  prinyatie*  -  znachitel'noe  rasshirenie zrachkov,
aktivno rasplyvayushchayasya po licu ulybka i melodichnyj golos;
     - *neudovol'stvie,  otverzhenie*  - suzhenie zrachkov,  rezkie udary
nogoj po zemle ili vozduhu;
     - *zainteresovannost'*  - sklonenie golovy nabok,  vzglyad iskosa,
soprovozhdaemyj pri  etom  ulybkoj  ili  slegka  pripodnyatymi  brovyami,
vytaskivanie sigarety izo rta;
     - *skuka* -  smeshchenie  vzglyada  na  sosedstvuyushchie  predmety  i  v
potolok,  sugubo mehanicheskoe risovanie chego-to na bumage,  sidyashchaya so
skreshchennymi nogami zhenshchina vdrug nachinaet vyalo pokachivat' nogoj;
     - *smushchenie,  styd*  -  zakrytie,  a  takzhe opuskanie i otvedenie
glaz,  pokrasnenie (inoj raz pyatnami)  lica,  usilennyj  pul's  krovi,
otslezhivaemyj  v  venah  ruk  ili  arteriyah shei,  zatrudneniya dyhaniya,
isparina, pot;
     - *nedoverie*  -  skladyvanie  ruk na grudi,  pochesyvanie pal'cem
spinki nosa, otvod i vozvrashchenie vzglyada nazad;
     - *neodobrenie  i  nesoglasie* - pokachivanie golovoj iz storony v
storonu,  sbivanie "vorsinok" s  odezhdy,  skreshchivanie  ruk  na  grudi,
rastyagivanie rechevyh pauz;
     - *lozh'* - otvody vzglyada v storonu  i  knizu,  pochesyvanie  veka
pal'cem i rastiranie ladon'yu zatylka,  prikryvanie rta rukoj v momenty
rechi,  "begayushchie glaza", chastoe morganie, peresyhanie rta (sglatyvanie
slyuny, oblizyvanie gub, zhazhda...), sudorozhnye dvizheniya gorla, problemy
s dyhaniem,  usilennye pul'sacii krovi,  otmechennye v  venah  ruk  ili
arteriyah   shei,   isparina   i  pot,  drozh'  v  myshcah  tela  (pal'cah
konechnostej,  fragmentah lica...),  vozniknovenie  v  dialoge  rechevyh
nedostatkov  vrode  povtora  slov  ili obryva fraz na poluslove (pered
obmanom),  forsirovanie   gromkosti   rechi,   a   takzhe   zaikanie   i
pokashlivanie;
     - *strah* - zametno vyrazhennoe poblednenie lica,  peresyhanie rta
(sglatyvanie  slyuny,  oblizyvanie gub,  zhazhda...),  proyavlennoe bienie
pul'sa v venah ruk ili arteriyah shei,  drozh' v  pal'cah  ruk  i  myshcah
lica, "urchanie" v zhivote, vysokij golos, "begayushchie glaza";
     - *vinovnost'* - nekie izmeneniya v cvete lica (poblednenie);
     - *zlost'   (gnev)*   -   szhatie   kulakov,  poshchipyvanie  ladoni,
"svirepoe" razdavlivanie sigarety v  pepel'nice,  pinanie  ili  gruboe
otbrasyvanie chego-libo, isparina i pot, znachitel'noe pokrasnenie (inoj
raz pyatnami) lica, korotkoe i shumnoe dyhanie cherez nos;
     - *veroyatnost'  napadeniya*  -  rezkoe  pobelenie lica,  vnezapnoe
suzhenie zrachkov, oskalivanie zubov.
     Dlya tochnogo  ulavlivaniya  "obnazhayushchih"  ob容kt  reakcij  *sleduet
priobresti privychku neproizvol'no otmechat' vse  voznikayushchie  izmeneniya
v*:
     - vyrazhenii glaz;
     - velichine zrachkov (suzhenie ili rasshirenie);
     - cvete lica (pobelenie ili pokrasnenie);
     - bienii pul'sa (na shee, na viskah i na zapyast'yah ruk...);
     - dyhanii (po kolebaniyam grudnoj kletki,  a  takzhe  po  yamochke  u
osnovaniya shei...);
     - suhosti rta (po sglatyvaniyu slyuny ili oblizyvaniyu gub...);
     - potlivosti kozhi (na ladonyah ruk i lice...);
     - tremore  myshc  (drozh'  v  rukah,  v  pal'cah  konechnostej  i  v
nekotoryh chastyah lica...).



     Nejrolingvisticheskoe programmirovanie   (NLP)   schitaetsya   ochen'
effektivnym sposobom pochti  neulovimogo  proniknoveniya  v  podsoznanie
cheloveka  i  organizacii  na etoj osnove effektivnogo vzaimodejstviya s
nim.



     Vse lyudi  obladayut  soznaniem   (vnutrennim   osoznannym   mirom)
stykuyushchimsya   s   podsoznaniem   (vnutrennim   neosoznannym  mirom)  i
funkcioniruyut v opredelennoj srede (vneshnem okruzhayushchem mire).
     Sub容ktom upravlyayut  obrazy,  obychno  voznikayushchie iz ego proshlogo
opyta, a takzhe sozdannye voobrazheniem i hranimye v podsoznanii.
     I vneshnij  mir,  i  podsoznanie  podderzhivayut  svyaz'  s soznaniem
posredstvom  treh  osnovopolagayushchih   sistem   obrazov,   oshchushchenij   i
predstavlenij:
     - audial'noj (sluh);
     - vizual'noj (zrenie);
     - kinesteticheskoj (myshechnye oshchushcheniya, vkus i obonyanie).
     Osnovyvayas' na  sistemah  predstavlenij (kotorye zdes' nazyvayutsya
"modal'nostyami"...) vseh individov mozhno podrazdelit' na tri gruppy:
     - vizualistov (myslyashchih preimushchestvenno obrazami);
     - audialistov (myslyashchih preimushchestvenno slovami);
     - kinestetikov (myslyashchih preimushchestvenno oshchushcheniyami).
     Lyudi netochno ponimayut drug druga, esli obmenivayutsya informaciej v
terminah raznyh modal'nostej; ispol'zovanie zhe odnoj obshchej modal'nosti
sposobno   obespechit'   doveritel'nye   otnosheniya   avtomaticheski   na
podsoznatel'nom urovne.
     *Raspoznat' glavenstvuyushchuyu modal'nost'  cheloveka  obychno  udaetsya
po*:
     - svoeobraziyu upotreblyaemyh im  slov:  glagolov,  prilagatel'nyh,
narechij (kotorye zdes' nazyvayutsya "predikatami");
     - dvizheniyam ego glaz;
     - nekotorym osobennostyam lichnosti.
     *Tipichnye varianty vozmozhnyh predikatov takovy*:
     - Vizual'nye:  videt',  sfokusirovat', mel'kat'... yarkij, temnyj,
tumannyj... rasplyvchato, otchetlivo, yasno...
     - Audial'nye:  slyshat',  zvuchat', krichat', oglushat', nastraivat',
soglasovyvat'... gromkij, tihij... zvonko...
     - Kinesteticheskie:      chuvstvovat',      orudovat',     hvatat',
pritragivat'sya... teplyj, gladkij, tverdyj, tyazhelyj, vkusnyj, presnyj,
ostryj, gor'kij, svezhij, aromatnyj... pahnut', probovat'...
     - Nejtral'nye:  dumat',  znat',  ponimat', vosprinimat', pomnit',
verit'... uvazhitel'nyj, izmenchivyj...
     *Pererabatyvaya informaciyu,   sub容kt   obychno   dvigaet   glazami
sleduyushchim obrazom*:
     - Vizualist - nalevo-vverh ili napravo-vverh, a takzhe pryamo-vverh
ili po centru (na meste);
     - Audialist - nalevo-vbok ili napravo-vbok, a takzhe vlevo-vniz;
     - Kinestetik - napravo-vniz i pryamo-vniz.
     *Po nekotorym    harakternym     priznakam     lyudej     pytayutsya
diagnostirovat' tak*:
     - *Vizualist*:  plechi raspravleny,  v obshchenii  sklonen  sohranyat'
distanciyu,  frazy  predpochitaet nachinat' s mestoimeniya "ty" ili "Vy" i
razgovarivaet bystro i gromko  so  mnogimi  pauzami...  ocenivaet  vse
vokrug ne otnosya eto k sebe... v konflikte zachastuyu obvinyaet...
     - *Audialist*:  malopodvizhnyj,  s  minimal'noj   zhestikulyaciej...
predpochitaet   ne   smotret'  v  glaza,  a  govorya  rassmatrivaet  lob
partnera...  rech' monotonna i kak by na odnoj note...  obychno  govorit
"te...",  "tot..."  redko  primenyaet  mestoimenie "ya"...  staraetsya ne
brat' otvetstvennost' na sebya...
     - *Kinestetik*:  plechi  i  sheya ustremleny vpered...  predpochitaet
byt' poblizhe k partneru i  lyubit  prikasat'sya  k  nemu  rukami,  dolgo
derzhat'  ego  ruku v svoej...  zametno zloupotreblyaet slovom "ya"...  v
konfliktah sklonen k izvineniyam...
     Umenie slyshat'  predikaty  i opredelyat' po reflektornym dvizheniyam
glaz  glubinnye  perezhivaniya  cheloveka  daet  vozmozhnost'   ustanovit'
doveritel'nyj  kontakt  na bessoznatel'nom urovne i napravlyat' energiyu
ob容kta tuda, kuda Vam nado.



     Dvizheniya glaz lyubogo cheloveka sposobny rasskazat' ne tol'ko o ego
modal'nosti, no i o tom, kak on rabotaet s tekushchej informaciej.
     *Rassmotrim 9   napravlenij   vzglyada    i    ih    rekomenduemuyu
rasshifrovku*:
     - napravo-vverh - vizual'noe konstruirovanie (VK);
     - pryamo vverh - vizual'noe vospominanie (VV);
     - nalevo-vverh - vizual'noe vospominanie (VV);
     - nalevo-vbok - audial'nye vospominaniya (AV);
     - nalevo-vniz - audial'nye predstavleniya (AP);  dialog  s  samim
soboj;
     - pryamo vniz - kinesteticheskie predstavleniya (KP);
     - napravo-vniz - kinesteticheskie predstavleniya (KP);
     - napravo-vbok - audial'noe konstruirovanie (AK);
     - pryamo  vpered  -  vizual'nye  predstavleniya (VP),  "navyazannye"
izvne ili berushchiesya iz pamyati.

     
                            r153.tif

     (Dlya oblegcheniya orientacij  udobno  primenyat'  uzhe  upominavsheesya
svojstvo levoj storony,  kotoraya "pravdivee" pravoj.) Pri stolknovenii
s levshoj, proslezhivaemaya kartina kak pravilo zerkal'no protivopolozhna.
     Strategiya raboty  s  informaciej  pri  poiske  otveta  na  vopros
slagaetsya iz treh posledovatel'nyh etapov:
     - poiska  informacii  v  podsoznatel'noj  pamyati  (ispol'zuya t.n.
VEDUSHCHUYU sistemu predstavlenij);
     - predostavleniya  izvlechennoj informacii soznaniyu (ispol'zuya t.n.
REPREZENTATIVNUYU sistemu predstavlenij);
     - ocenki  istinnosti  etoj  informacii  soznaniem (ispol'zuya t.n.
REFERENTNUYU sistemu predstavlenij).
     Na kazhdom  iz  etih  etapov  dejstvuet  svoya modal'nost',  obychno
vyyavlyaemaya po napravleniyam dvizheniya glaz,  uchityvaya, chto v harakternoj
serii  iz  treh  dvizhenij nachal'noe obychno sootvetstvuet "vyuzhivaniyu",
vtoroe - predstavleniyu, a tret'e - ocenke.
     Modal'nosti etapov   proslezhivayutsya   i   v  rechi  cheloveka  -  v
posledovatel'nosti konkretnyh  predikatov  proskal'zyvayushchih  v  edinoj
fraze. K primeru: "kogda my soglasovanno nastroimsya (poisk audial'nyj)
na etu  problemu,  to  yasno  uvidim  (reprezentaciya  vizual'naya),  chto
razreshit' ee budet dovol'no tyazhelo (ocenka kinesteticheskaya)".
     Strategiya ob容kta inoj raz menyaetsya v  zavisimosti  ot  situacii;
ona  otobrazhaetsya  v dvizheniyah glaz dovol'no bystro,  i potomu,  chtoby
zasech' ee nuzhna opredelennaya podgotovitel'naya trenirovka.
     Dvizheniya glaz    neredko    sochetayutsya    s    pobochnymi   sugubo
individual'nymi reakciyami, soobshchayushchimi o real'nom otnoshenii cheloveka k
voznikshim  pered nim mental'nym obrazam (glaza poshli nalevo,  a zrachki
pri etom suzilis' - nepriyatnoe audial'noe vospominanie o chem-libo...).



     Dlya polucheniya maksimuma pol'zy  ot  vsyakogo  kontakta  zhelatel'no
umet':
     - opredelyat'   po   nekotorym   vneshnim   priznakam   hod   mysli
sobesednika;
     - osoznavat' ego emocional'nye sostoyaniya;
     - orientirovat'sya v pravdivosti ego vyskazyvanij;
     - nezametno vnedryat' v ego soznanie i podsoznanie svoi idei.
     CHtoby horosho  ponimat'  myslitel'nye,  emocional'nye  i ocenochnye
otkliki partnera, neobhodimo provesti ego otchetlivuyu "kalibrovku".
     Kalibrovanie ob容kta   osushchestvlyaetsya  cherez  vpletenie  v  tkan'
besedy kakih-libo nenastorazhivayushchih voprosov,  otvety  na  kotorye  Vy
nesomnenno   znaete   i   tochnoe   ulavlivanie  razlichnyh  neslovesnyh
reagirovanij na nih.  Bol'shuyu pomoshch' v detal'noj  kalibrovke  individa
sposobna okazat' faktura, podrobno privodimaya v razdele, zatragivayushchem
chtenie myslej i emocij.
     CHtoby ponyat'  svidetel'stva  "soglasiya  i  otricaniya"  ispol'zuyut
prostejshie  voprosy,  predpisyvayushchie  odnoznachnye  ("da"  ili   "net")
otvety,  i vyyavlyayut nekie razlichiya v konkretnom reagirovanii na nih. V
konce koncov Vam dolzhen byt' ponyaten ozhidaemyj otvet eshche do  polucheniya
ego v slovah.
     Dlya ponimaniya   emocional'nyh   reakcij   cheloveka    zatragivayut
tshchatel'no otobrannye temy (ili upominanie lyudej) priyatnye i nepriyatnye
ob容ktu.
     Dlya uyasneniya dvizhenij glaz partnera (a vdrug oni ne sootvetstvuyut
standartnoj sheme...) zadayut legkie testiruyushchie voprosy, zatragivayushchie
poocheredno to  vizual'nuyu  ("kak  vyglyadit..."),  to  audial'nuyu ("kak
zvuchit..."),  to  kinesteticheskuyu  ("kak  oshchushchaetsya"...)  sistemy  ego
vnutrennih predstavlenij.
     CHtoby ponyat',  kogda  ob容kt  soobshchaet   o   realiyah,   a   kogda
pridumyvaet informaciyu, ispol'zuyut razlichnye voprosy, rasschitannye kak
na yavnoe vospominanie ("kakaya pricheska u zheny?"),  tak i na primenenie
fantazii ("kak vyglyadit vash ideal?").
     Prislushivayas' k  rechi  individa   vnimatel'no   otslezhivayut   vse
proskal'zyvayushchie  tam  modal'nye  predikaty  i  ih  posledovatel'nost'
(strategiyu raboty s informaciej) v strukture progovarivaemyh pri  etom
fraz.



     Osushchestviv kalibrovku  ob容kta,  Vy smozhete postich' ego glubinnyj
mir i Vam ostanetsya lish' zapolnit' ego svoimi lichnymi ideyami.
     Slova vyskazyvaemye   cheloveku   okazyvayut   na   nego   kakoe-to
vozdejstvie tol'ko  blagodarya  tem  mental'nym  obrazam,  kotorye  oni
sposobny porodit' v ego soznanii v tekushchij moment.
     Dlya polucheniya trebuemogo effekta  prihoditsya  "podstraivat'sya"  k
individu,  chto  osushchestvlyaetsya  putem  sinhronizacii,  a  proshche govorya
otobrazheniem  ego   zhestikulyacii   i   rechi   v   aktivnom   povedenii
manipulyatora.
     Manera podachi slov (ottenki golosa  i  intonaciya...)  znachitel'no
vazhnee  ih  obshcheprinyatogo  smysla;  ritm  rechi  dolzhen  byt'  rovnym i
podgonyat'sya k chastote dyhaniya sobesednika.
     Dlya provedeniya   nuzhnoj   mysli  ili  idei  neobhodimo  zahvatit'
vnimanie partnera,  zhivopisuya s pomoshch'yu ego modal'nyh slov vse to, chto
on  dejstvitel'no  perezhivaet  v sej moment.  Zatem,  cherez perehodnye
slova  ("esli",  "takim  obrazom",  "sledovatel'no"...),   podsovyvayut
(ispol'zuya ishodnuyu modal'nost') navyazyvaemye predstavleniya, kotorye v
takih usloviyah pokazhutsya emu "svoimi"  i  vpolne  ubeditel'nymi,  hotya
mogut byt' sovsem neodnotipnymi s idushchimi vnachale utverzhdeniyami.
     Klassicheskaya shema   ispodvol'nogo   vnedreniya   v   soznanie   i
podsoznanie cheloveka vyglyadit pri etom tak: podstroechnye predlozheniya -
perehodnoe slovo - fraza vedushchaya v namechennom napravlenii.
     Vyskazyvaniya stroyatsya   s   ispol'zovaniem  vnutrennej  strategii
partnera (opredelyaemoj  po  vyyavlennym  predvaritel'no  dvizheniyam  ego
glaz)   s   upotrebleniem   teh   zhe   slov   i   v  toj  zhe  frazovoj
posledovatel'nosti, kak eto delaet on.
     V hode  osushchestvleniya  vozdejstviya  vnimatel'no  sledyat za kazhdoj
voznikayushchej reakciej ob容kta na vse proiznosimye slova, i korrektiruyut
svoj obraz dejstvij do teh por, poka v soznanii vizavi ne sformiruetsya
vpolne ustraivayushchij Vas otklik.







     Vozdejstvovat' na  um  i  povedenie  cheloveka  mozhno   razlichnymi
putyami,  odni  iz  kotoryh  trebuyut  lish' specifichnoj podgotovlennosti
specialista  (ubezhdenie,  vnushenie,  podkup...),  a  drugie  -  eshche  i
special'noj   apparatury   (tehnotronnye   priemy,   seks-meropriyatiya,
zombirovanie...).
     Metody pricel'nogo  vliyaniya  mogut  byt' shchadyashchimi (vnushenie...) i
agressivnymi (shantazh),  prosten'kimi  (zapugivanie...)  i  izoshchrennymi
(zombirovanie...),      trudno     ulovimymi     (nejrolingvisticheskoe
programmirovanie...) i dopolnyayushchimi (farmakoupravlenie...).
     *Vybor primenyaemoj metodiki zavisit ot*:
     - real'noj  uyazvimosti  ob容kta  (chert  ego  haraktera,  epizodov
biografii, nalichnoj situacii...);
     - celi namechaemogo vozdejstviya (izmenenie myshleniya, privlechenie k
sotrudnichestvu,    poluchenie   informacii,   odnorazovoe   sodejstvie,
vospituyushchee nakazanie...);
     - sobstvennyh vozmozhnostej (obladanie vremenem, umeniem, znaniem,
tehapparaturoj,      dolzhnymi      himpreparatami,       kompetentnymi
pomoshchnikami...);
     - personal'nyh  ustanovok  ispolnitelya  (ego   urovnya   moral'noj
dopustimosti...).
     *V praktike chashche vsego ispol'zuyutsya*:
     - ubezhdenie;
     - vnushenie;
     - gipnoz;
     - nejrolingvisticheskoe programmirovanie;
     - narkovozdejstviya;
     - seks-meropriyatiya;
     - farmakoupravlenie;
     - tehnotronnye  priemy  (ul'trazvuk,  infrazvuk,   SVCH-izlucheniya,
elektroshok,   podporogovaya  stimulyaciya,  torsionnye  izlucheniya...);
     - zombirovanie;
     - podkup;
     - zapugivanie;
     - pytki...
     Nekotorye iz otmechennyh metodik byli obrisovany v drugih razdelah
(NLP...), zdes' my razberem ostal'nye.





     Ubezhdenie podrazumevaet   "myagkoe"   vozdejstvie   na   individa,
stavyashchee cel'yu radikal'no skorrektirovat' ego vzglyady, chtoby tem samym
povliyat'  na  posleduyushchee  povedenie.  Dannyj  variant  yavlyaetsya samym
etichnym sposobom vliyaniya,  ibo zdes' net grubogo nasiliya ili kovarnogo
vnedreniya v podsoznanie ob容kta.
     *Metod ubezhdeniya zadejstvuetsya dlya*:
     - dolgovremennogo  izmeneniya predstavlenij i ustanovok cheloveka v
trebuemom napravlenii;
     - privlecheniya k sotrudnichestvu;
     - pobuzhdeniya ob容kta k nuzhnomu postupku.
     Po tehnicheskomu  ispolneniyu  ubezhdenie  predstavlyaet soboj yavnuyu,
inoj  raz  i  skrytuyu  diskussiyu,  dopolnyaemuyu   nekim   stimuliruyushchim
vozdejstviem.
     Kazhdyj chelovek  imeet  svoj  nastroj  (tochnee  -   ustanovku)   v
otnoshenii k chemu-libo ili komu-libo. Sushchestvuyut tri gradacii podobnogo
nastroya:
     - yavnaya simpatiya (sklonnost' k prinyatiyu chego-libo);
     - bezrazlichie (s legkim smeshcheniem v tu ili inuyu storonu);
     - otricanie  (nepriyatie).
     Vsyakaya popytka grubo navyazat' zhelaemoe  mnenie  privedet  lish'  k
otricatel'nomu   rezul'tatu,   ibo   chelovek   vsegda   soprotivlyaetsya
ogranicheniyu svobody vybora.
     *Dlya izmeneniya    otnosheniya    individa    k   chemu-libo,   nuzhno
pereorientirovat' ego nastroj. Sleduet uchityvat', chto*:
     - v poedinke razuma i ustanovki chashche pobezhdaet ustanovka;
     - v hode peremeny ustanovok cheloveku nado pokazat' napravlennost'
i soderzhanie neobhodimyh izmenenij;  vse eto dolzhno byt' im vosprinyato
i ponyato;
     - izmeneniya   proizojdut   tem   uspeshnee,   chem   sozvuchnee  oni
potrebnostyam i motivaciyam ob容kta;
     - proshche   vsego   perestraivayutsya  ustanovki,  kotorye  ne  imeyut
principial'nogo (zhiznenno vazhnogo) znacheniya dlya cheloveka;
     - v  sluchae  polnost'yu  negativnoj  ustanovki,  pereorientaciya ee
obychno trebuet special'nyh  uslozhnennyh  metodov  pereprogrammirovaniya
psihiki (t.e. "promyvaniya mozgov"...) persony.
     V zavisimosti  ot  uslovij  situacii  i  konkretnyh  osobennostej
ob容kta,  ego  *mozhno  popytat'sya  ubedit'* pryamo (v hode besedy) libo
kosvenno (cherez inspirirovannye akcii), *dejstvuya pri etom*:
     - akcentirovanno-logichno;
     - imperativno (kategorichno);
     - ekscitativno (rastravlivaniem emocij);
     - al'ternativno (svedeniem problemy k vyboru "ili-ili").
     Vsyakoe vozdejstvie   soderzhit  v  sebe  elementy  i  vnusheniya,  i
ubezhdeniya, no v raznyh proporciyah.
     *Proshche ubezhdat' teh, kto imeet*:
     - yarkoe zhivoe voobrazhenie;
     - orientaciyu skoree na drugih, chem na sebya;
     - neskol'ko zanizhennuyu  samoocenku  (robkie  i  slabo  doveryayushchie
svoemu sobstvennomu mneniyu sub容kty).
     *Trudno poddayutsya ubezhdeniyu lica s*:
     - yavnoj   vrazhdebnost'yu   po   otnosheniyu  k  drugim  (proyavlyaemoe
soprotivlenie,  kstati,  chasto mozhet voznikat' kak  sledstvie  zhelaniya
dominirovat' nad okruzhayushchimi...);
     - sil'nym duhom kriticizma;
     - gotovnost'yu  k  pereinachivaniyu  svoih  vzglyadov  (proshche govorya,
stremleniem vsegda imet' eshche odnu poziciyu pro zapas...).
     Pered provedeniem  aktivnoj  akcii  sleduet  dobrotno podgotovit'
cheloveka  ryadom  podvodyashchih  predvaritel'nyh  besed,   s   tem   chtoby
posleduyushchee akcentirovannoe vozdejstvie ne yavilos' dlya nego nepriyatnoj
neozhidannost'yu.
     *Pri planirovanii epizoda ubezhdeniya nado*:
     - tshchatel'no vybrat' mesto, okruzhenie i moment dlya kontakta;
     - rasschitat',  kak  pristupit'  k  besede,  kak  snyat'  nachal'noe
napryazhenie, kak vyzvat' nekotoryj interes;
     - horosho produmat', kak napravit' razgovor v zhelaemoe ruslo;
     - otrabotat'  vsyu  svoyu  argumentaciyu  soobrazno  s  psihologiej,
motivami i ustremleniyami ob容kta;
     - vybrat' ritm besedy i poryadok pred座avleniya argumentov;
     - vychislit'   vozmozhnye   kontrargumenty,   i  produmat'  kak  ih
nejtralizovat';
     - nametit'  zapasnye  varianty  prodolzheniya besedy,  esli partner
reshitel'no zayavit "net!";
     - chetko predstavlyat' sebe kak zavershit' besedu.



     - mesto,   gde   osushchestvlyayut  ubezhdenie  po  vozmozhnosti  dolzhno
sposobstvovat' blagodushnomu  nastroeniyu  cheloveka,  ibo  eto  uluchshaet
vospriimchivost'  k  soputstvuyushchemu  vliyaniyu;  tak,  esli  v  "rabochej"
komnate est' kartiny,  ublazhayushchie vzor ob容kta,  zvuchit nravyashchayasya emu
muzyka, a na stole lyubimyj napitok - on budet bolee sgovorchiv;
     - prisutstvie kakih-to postoronnih lic obychno nezhelatel'no,  hotya
inoj   raz   otdel'nye  persony  (nekie  avtoritety,  zainteresovannye
blizkie...)  pryamo  libo  kosvenno  mogut   uchastvovat'   v   processe
ubezhdeniya;
     - vremya provedeniya osnovnoj besedy sleduet soobrazovyvat' s takoj
situaciej,   pri   kotoroj  nekie  potrebnosti  i  nastroeniya  ob容kta
sblizhayutsya s podbrasyvaemymi emu  ideyami  (razocharovanie  v  chem-libo,
zatrudneniya  v kar'ere,  raznye sobytiya,  kotorye mozhno traktovat' kak
veroyatnuyu  ugrozu  s  opredelennoj  storony...)  libo  kogda  on   uzhe
podgotovlen predvaritel'nymi sobesedovaniyami.



     *Pri vhozhdenii v razgovor neobhodimo izbegat'*:
     - izvinenij i drugih proyavlenij neuverennosti;
     - skuchnogo nachala;
     - proyavleniya malejshego neuvazheniya k sobesedniku;
     - neposredstvennogo pristupa srazu k delu.
     *Dlya snyatiya napryazhennosti i obreteniya doveriya polezno*:
     - imet'  priyatnyj dlya vizavi vneshnij vid (odezhdu,  golovnoj ubor,
prichesku...) i vyrazhenie lica;
     - obrashchat'sya  k  sobesedniku  po  imeni,  naklonyayas'  v razgovore
neskol'ko k nemu;
     - skazat'  paru  komplimentov  ob  otmennom  vkuse,  reputacii  i
delovyh sposobnostyah ob容kta;
     - vyskazat' kakuyu-libo shutku (anekdot),  zastavlyayushchuyu sobesednika
iskrenno rassmeyat'sya.
     *Dlya usileniya interesa k besede mozhno*:
     - zadavat'    nenastorazhivayushchie    voprosy     (professional'nye,
zhitejskie,  hobbijnye),  na  kotorye  sub容kt  s udovol'stviem zahochet
otvechat';
     - razgovarivat'  s  pozicij  interesov  sobesednika ili kosnut'sya
temy yavno svyazannoj s ego problemami...



     - privlekaya  associacii,  perebrosit'   mostik   mezhdu   nachalom,
zatravkoj i protalkivaemoj ideej;
     - opisat' kakoe-to zhitejskoe nablyudenie,  ulichnuyu ocenku  ili  zhe
anekdotichnyj  sluchaj,  kak  by  mezhdu  prochim  uvyazav  eto  s zhelaemym
predmetom;
     - upomyanut'  neskol'ko  vazhnyh  dlya partnera voprosov,  koi cherez
dolzhnoe smeshchenie akcentov sootnosyatsya s namechennoj tematikoj.

(4). Vybor argumentacii soobrazno s lichnost'yu i nastroeniyami ob容kta:

     - provodimaya ideya vsegda obyazana nahodit' svoj put' ne  tol'ko  k
razumu, no i k emociyam ob容kta;
     - material dlya provedeniya argumentacii podbiraetsya v  zavisimosti
ot  tipa  (obraznoe  -  logicheskoe) vkupe s kachestvom (gibkoe, kosnoe,
konformnoe, samostoyatel'noe...) myshleniya sobesednika;
     - imeet  smysl  primenyat'  lish'  te  argumenty,  kakovye  v  vidu
lichnostnyh  nastroev,  obraza   myshleniya,   intellekta   i   imeyushchejsya
informacii dannyj chelovek sposoben vosprinyat';
     - v  hode  ubezhdeniya  zhelatel'no  ispol'zovat'  kak   abstraktnye
vyvody, tak i zrimuyu konkretnuyu fakturu, na kotoroj legche ubezhdat' lic
ne vladeyushchih abstraktnym myshleniem;
     - s   konformistami  prohodyat  ssylki  na  avtoritety,  krasochnye
vysprennye frazy i upor na chuvstvo obshchnosti s drugimi;
     - pri  samostoyatel'nosti  myshleniya  cheloveka v hod puskayut logiku
obosnovaniya s namekom na vozmozhnost' lichnoj vygody kak moral'nogo, tak
i material'nogo plana;
     - pri zametnoj kosnosti myshleniya perspektivno razzhiganie emocij s
opiraniem na empiriku.

 (5). Ustanovlenie ritma razgovora i poryadka pred座avleniya argumentov

     - nuzhno tverdo verit' v istinnost' togo,  v chem Vy hotite ubedit'
drugih,  ibo lyudi podsoznatel'no  ulavlivayut  otnoshenie  govoryashchego  k
soobshchaemomu, a vsyacheskaya fal'sh' ottalkivaet;
     - ritm rechi dolzhen byt'  dovol'no  rovnym  i  podstraivat'sya  pod
chastotu dyhaniya sobesednika;
     - dlya nachala obespech'te odinakovoe ponimanie vedushchih  terminov  i
vyrazhenij Vami i ob容ktom;
     - ne  davajte  otvlekat'  sebya  ot  namechennoj  tematiki   i   ne
otvlekajtes' ot nee sami;
     - v  hode  privedeniya  argumentacii  pervym   delom   govoryat   o
preimushchestvah, i tol'ko posle - o nedostatkah;
     - effektiven  "kvantovyj"  posyl  soobshcheniya,  pri  kotorom  posle
vydachi  ocherednogo  fakta ili argumenta delaetsya nebol'shaya pauza,  dlya
osoznaniya i zakrepleniya uslyshannogo;
     - kazhdyj   posleduyushchij   argument   dolzhen   byt'   vesomee,  chem
predydushchij;
     - dlya  luchshego vospriyatiya novyh idej nado podavat' ih tak,  chtoby
oni associirovalis' s uzhe usvoennymi;
     - nikogda   ne   ogranichivajtes'   lish'   prostym   perechisleniem
argumentov,  a starajtes' raskryvat'  ih  logicheskij  i  emocional'nyj
smysl stochki zreniya sobesednika;
     - privodite tot zhe samyj argument  neskol'ko  raz,  no  pri  etom
povtoryajte ego novymi slovami;
     - vsegda imejte paru argumentov pro zapas  dlya  upotrebleniya  pri
zametnyh kolebaniyah v pozicii ob容kta;
     - tshchatel'no otslezhivajte  vse  slovesnye  i  neslovesnye  reakcii
partnera,   i   osnovyvayas'   na  nih  korrektirujte  svoyu  dal'nejshuyu
argumentaciyu;
     - vychislite  po  reakcii  ob容kta  te momenty,  gde razygryvaetsya
"bor'ba ego motivov" i sosredotoch'te na nih vse svoe vozdejstvie,  raz
za   razom   podavaya  te  argumenty,  kakovye  proizveli  na  partnera
maksimal'noe vpechatlenie.



     - zaranee   predpolozhite   vse   vozmozhnye   rezony   vizavi   i,
orientiruyas' na nih, podgotov'te sobstvennye kontrargumenty;
     - argumentaciyu ob容kta luchshe razbivat' pered vyskazyvaniem  svoih
posylov, prichem sleduet analizirovat' kak real'nost' samih faktov, tak
i te vyvody, kotorye na nih osnovyvayutsya;
     *Dovody partnera mozhno nejtralizovat'*:
     - logikoj oproverzheniya;
     - ignorirovaniem;
     - vysmeivaniem;
     - kazhushchimsya prinyatiem s posleduyushchim neozhidannym razvenchivaniem;
     - izmeneniem akcentov (vystavlyaya  ih  slabye  mesta  i  predel'no
snizhaya sil'nye);
     - hitroumnym prevrashcheniem ih v svoi sobstvennye;
     - podavleniem logiki emociyami;
     - vpechatlyayushchej  diskreditaciej  ih  avtora  (no  ne  sobesednika,
estestvenno!);
     - ssylkoj na avtoritety (inoj raz vymyshlennye)...



     - nikogda ne otstupajte do teh por, poka vizavi ne skazhet chetkogo
reshitel'nogo "net!";
     - osoznav,  chto  sobesednik  prinyal  okonchatel'noe  reshenie,   ne
pytajtes'   ego   pereubedit',   a  iskusno  perebros'te  razgovor  na
nejtral'nuyu i po vozmozhnosti priyatnuyu dlya nego tematiku.



     - uyasniv,  chto vizavi vosprinyal provodimuyu ideyu,  ne  zatyagivajte
dal'she kontakt,  a,  konspektno oboznachiv osnovnye polozheniya, druzheski
rasproshchajtes' s nim;
     - postarajtes',  chtoby  u  partnera ne vozniklo oshchushchenie,  chto on
vrode by nasil'no podchinilsya chuzhoj vole;
     - pri  vozmozhnoj  neudache  v ubezhdenii sleduet ne srazu zavershat'
besedu,  no umelo perepravit' ee v uvlekatel'noe dlya ob容kta ruslo,  a
zatem  pri  rasstavanii eshche raz,  no nenavyazchivo pomyanut' svoi glavnye
argumenty i bez yavnogo davleniya predlozhit' obdumat' ih na dosuge.
     Dopolnitel'nye rekomendacii  otnositel'no  besedy-ubezhdeniya mozhno
otyskat' v razdele, posvyashchennom tehnike obshcheniya.



     Pod vnusheniem podrazumevaetsya peredacha  informacii  s  vnedreniem
zaklyuchennyh  v nej idej bez kakoj-libo kriticheskoj ocenki i logicheskoj
pererabotki  predlagaemogo.  O  tom,  chto  srabotalo  vnushenie,  a  ne
osoznannyj  vybor  govorit  sugubo  emocional'naya  reakciya na malejshuyu
popytku obsuzhdeniya "zavetnoj istiny",  prichem  vse  protivorechashchee  ej
otvergaetsya   s   poroga,  i  chem  ubeditel'nee  dovody,  tem  sil'nee
vozmushchenie.
     *Metody vnusheniya ispol'zuyut*:
     - dlya blokirovki nezhelatel'nogo povedeniya ili myshleniya  cheloveka;
     - dlya skloneniya individa k trebuemomu dejstviyu;
     - dlya bystrogo rasprostraneniya poleznoj informacii i  neobhodimyh
sluhov.
     *Horosho podverzheny vnusheniyu te, kto*:
     - proyavlyayut   sebya   slaboj   lichnost'yu  (robkie,  stesnitel'nye,
puglivye...);
     - nekritichno vosprinimayut drugih (prostodushnye, doverchivye...);
     - sklonny zaviset' ot drugih (ishchut  sebe  hozyaina,  isklyuchitel'no
usluzhlivye...).
     *Trudno poddayutsya vnusheniyu te, kto*:
     - obladayut delovoj aktivnost'yu (energichnye i iniciativnye...);
     - yavlyayutsya   sil'noj   lichnost'yu   (a   takzhe    samolyubivye    i
vysokomernye...);
     - protivopostavlyayut sebya drugim (zamknutye i ugryumye...);
     - isklyuchitel'no  aktivno  proyavlyayut svoi chuvstva (ekscentrichnye i
otkrovennye...);
     - ne  zavisyat  ot  drugih,  a  naoborot,  imeyut  kogo-to  v svoej
zavisimosti...
     *Provedeniyu vnusheniya sposobstvuyut*:
     - polnoe otsutstvie  ili  chrezvychajnaya  protivorechivost'  tekushchej
informacii;
     - ochen' avtoritetnyj (kak zhivoj,  tak i pechatnyj...) i  pri  etom
"svoj" istochnik;
     - vnutrennee oshchushchenie zavisimosti;
     - sil'noe psihofizicheskoe istoshchenie i pereutomlenie ob容kta;
     - nekaya psihologicheskaya napryazhennost' (gnev, ekstaz, strah, poisk
vyhoda iz slozhnoj situacii...);
     - yavnaya zhelatel'nost' ili priyatnost' vnushaemogo;
     - zhestkaya kategorichnost' zayavlenij i trebovanij;
     - shokovaya neozhidannost' soobshcheniya;
     - povtoryaemost' podsovyvaemoj informacii;
     - absolyutnaya logichnost' i osobaya emocional'nost' soobshchaemogo;
     - nekotorye   bolezni   i   osobennosti   lichnosti   (psihopatiya,
impotenciya,    slabost'     logicheskogo     myshleniya,     suevernost',
narkomaniya...).
     *Provedeniyu vnusheniya inoj  raz  meshayut  specificheskie  vnutrennie
bar'ery, takovye, kak*:
     - kriticheski-logicheskij (otverganie vsego,  chto kazhetsya logicheski
neobosnovannym);
     - intuitivno-affektivnyj  (otmetanie  vsego,  chto   ne   vyzyvaet
podsoznatel'nogo doveriya ili uverennosti);
     - eticheskij      (nepriyatie      togo,      chto      protivorechit
nravstvenno-eticheskim vozzreniyam lichnosti).
     Preodolenie bar'erov podrazumevaet lish' umeloe podstraivanie  pod
nih.
     Tak, dlya  vozdejstviya  na  lic  so  slabym  intellektom,   nuzhnoe
vnushenie luchshe sochetat' s usilennymi otricatel'nymi emociyami,  a ezheli
dannoe lico vpolne intellektual'no  ili  zhe  zavedomo  vnushaemo  -  to
ispol'zovat' polozhitel'nye emocii.
     V sluchae kogda ob容kt  podavlen  ili  slishkom  neuveren  v  sebe,
dolzhnoe   vnushenie   vypolnyayut  emocional'nym  povelitel'nym  tonom  s
privlecheniem mimiki i  zhestov,  oformlyayushchih  neodnokratno  povtoryaemye
rezkie, korotkie, kak by "vkolachivaemye" frazy.
     Esli ob容kt  izlishne  vozbuzhden  i  znachitel'no  obespokoen,   to
vnushayut  uspokaivayushchim  tonom,  s primeneniem neodnokratno povtoryaemyh
myagkih, ubayukivayushchih, dlinnyh fraz.
     Glavnoe - ne vyzvat' ni malejshej nastorozhennosti,  no ocharovat' i
slovno by zavorozhit' personu.
     Kogda vizavi izbytochno tshcheslaven,  to imeet smysl "atakovat'" ego
lyubov'yu,   bezuderzhno   rashvalivaya    i    vyskazyvaya    komplimenty,
sposobstvuyushchie   predstavleniyu   ob容kta   o   svoej   znachitel'nosti;
parallel'no s etim udaetsya kosvenno vnushat' nuzhnye idei.
     Tak kak   effektivnoe   vnushenie   obuslovlivaetsya  podsoznaniem,
perspektivnoj  yavlyaetsya  popytka  razbudit'   fantaziyu   (k   primeru,
eroticheskuyu...) u cheloveka,  kakovoj pri etom pogruzhaetsya v sebya,  tak
chto grani mezhdu podsoznaniem i soznaniem stirayutsya. Psihika v podobnom
sluchae  stanovitsya  podatlivoj  ko  vsyakim  izmeneniyam  i k vospriyatiyu
lyubogo znaniya.  O vhozhdenii v takoe sostoyanie govorit  rasslablennost'
lica so vsecelo otreshennym i ostanovivshimsya vzglyadom.
     Optimal'nuyu metodiku      iskusnogo      vnusheniya      predlagaet
nejrolingvisticheskoe    programmirovanie   (NLP),   tehnika   kotorogo
rassmotrena v chasti 3.
     V nekotoryh   situaciyah   primenyayut   nezametnoe  dlya  okruzhayushchih
podporogovoe   vnushenie,   kakovoe   osushchestvlyaetsya   tihim   shepotom,
nevosprinimaemym soznaniem ob容kta.
     Prevoshodnym kanalom peredachi nuzhnogo vnusheniya  sluzhat  tshchatel'no
otobrannye  sluhi,  predstavlenie  o kotoryh mozhno poluchit' v razdele,
povestvuyushchem o poluchenii informacii.  Zdes'  rabotaet  tot  fakt,  chto
podslushannye ili vskol'z' ulovlennye idei chasto dejstvuyut sil'nee teh,
chto navyazyvayutsya vpryamuyu.



     Pod gipnozom podrazumevayut sostoyanie specificheskogo  sna  ili  zhe
zauzhennogo osoznaniya s sovershennym otklyucheniem kriticheskogo vospriyatiya
i povyshennoj chuvstvitel'nost'yu k vneshnemu vnusheniyu.
     *Tehnika gipnoza mozhet byt' ispol'zovana*:
     - dlya polucheniya informacii (gipnodopros);
     - pri sekretnoj peresylke soobshchenij;
     - dlya zabrasyvaniya dezinformacii;
     - s  cel'yu programmirovaniya na zhelaemoe povedenie (epizodno ili v
metodah zombirovaniya).
     *Horosho gipnotiziruyutsya*:
     - lica hudozhestvennogo tipa;
     - social'no adaptirovannye obshchitel'nye lichnosti;
     - ochen' trevozhnye i znachitel'no poteyushchie lyudi;
     - vse hronicheskie alkogoliki i narkomany;
     - te,  kto bolen enurezom (nochnym nederzhaniem mochi) ili  stradaet
astmoj.
     *Trudno zagipnotizirovat'*:
     - lic myslitel'nogo tipa;
     - psihastenikov,   zaciklennyh   na   vsyacheskih    somneniyah    i
peretasovyvanii svoih perezhivanij.
     *Razlichayut tri stadii gipnoza*:
     - legkuyu (sonlivost'):  ob容kt mozhet s legkost'yu i totchas zhe, kak
pozhelaet oborvat' seans;
     - srednyuyu  (gipotaksiya):  polnaya  rasslablennost'  pri sohranenii
uverennosti v tom,  chto est' vozmozhnost' poborot'  sonlivost',  pravda
delat' etogo sovsem ne hochetsya;
     - glubokuyu  (somnabulizm):  chelovek  ne  reagiruet  ni  na  kakie
razdrazheniya,  i podderzhivaet rechevoj kontakt (rapport) tol'ko so svoim
vedushchim;  v dannom sostoyanii kodiruyut na dejstvie  (srokom  do  odnogo
goda), a podchas rasshcheplyayut lichnost' na neskol'ko otdel'nyh "YA", kazhdoe
iz koih  v  sostoyanii  zhit'  svoej  osoboj  zhizn'yu,  ne  podozrevaya  o
sushchestvovanii  drugih:  vse perezhivaniya v etoj faze chetko amneziruyutsya
(kak by zabyvayutsya).
     Dlya vvedeniya  ob容kta  v  gipnoticheskij trans trebuetsya sozdavat'
usloviya blagopriyatstvuyushchie  poslednemu  i  orientiruyas'  na  situaciyu,
primenyat'  podhodyashchie  priemy,  tshchatel'no  otslezhivaya vneshnie priznaki
vhozhdeniya v transovoe sostoyanie.
     *Horosho sodejstvuyut,  a  poroj  i  sami po sebe vvodyat cheloveka v
trans*:
     - sil'naya ustalost' i sonlivost';
     - pasmurnaya i dozhdlivaya pogoda;
     - polusumrak vechera i tishina;
     - poza udobnaya dlya sna ili zhe,  naoborot,  predel'no neudobnaya  i
neprivychnaya poziciya;
     - ritmichnye raskachivaniya i vrashchatel'nye  dvizheniya  vsego  tela  i
golovy;
     - polnoe otsutstvie real'nyh razdrazhitelej (sensornyj golod) libo
monotonnye   ritmichnye  vozdejstviya  fizicheskoj  prirody  (zritel'nye,
taktil'nye i sluhovye);
     - ritmichnaya "shamanskaya" ili "kosmicheskaya" muzyka;
     - rezkij i sverhmoshchnyj razdrazhitel' (udar gonga,  vspyshka  sveta,
neozhidannaya poshchechina, vykrik-prikaz...);
     - intensivnyj  emocional'nyj  pod容m,   v   tom   chisle   polovoe
vozbuzhdenie;
     - sostoyanie straha i yarosti;
     - perezhimanie sonnyh arterij i nadavlivanie na glaznye yabloki ili
prochie fragmenty tela (uho, lokot', lob, zapyast'e...);
     - nebol'shaya   vypivka   ili   priem  za  polchasa  do  namechennogo
meropriyatiya barbamila (0,2-0,3 g),  veronala (0,5 g),  noksirona (0,25
g), piramidona (0,1 g) ili 4-5 kapel' hloroforma...
     Dlya uglubleniya gipnoticheskogo sostoyaniya nuzhno ochen' tihim golosom
vnushat'    krasochnye    obraznye    predstavleniya    pokoya,   myshechnoj
rasslablennosti i polnogo otklyucheniya ot okruzhayushchih s vospriyatiem  lish'
slov vnusheniya.
     *O tom, chto chelovek voshel v gipnoticheskij trans soobshchayut*:
     - rovnoe spokojnoe dyhanie i rasslablennoe lico;
     - vid kak u spyashchego i otsutstvie reakcij na okruzhayushchih;
     - polnoe  otsutstvie  drozhaniya  vek  (drozh'  govorit o neglubokom
pogruzhenii,  a ih ischeznovenie -  o  glubokom,  vplot'  do  veroyatnogo
vpadaniya v obychnyj son).
     CHtoby uyasnit'  v  gipnoze  li  ob容kt  ili   pritvoryaetsya,   nado
predlozhit' emu vesti sebya vpolne normal'no,  znaya,  chto pri izmenennom
sostoyanii soznaniya eto nevozmozhno ubeditel'no prodelat'.
     Proshche vsego vyzvat' gipnoticheskij trans u normal'no spyashchego,  ibo
u  poslednego  otsutstvuet  kakaya-libo  volya  k   soprotivleniyu.   |to
osushchestvlyayut  v  fazah  specificheskogo "bystrogo sna",  pervaya iz koih
nastupaet cherez 45-90 minut posle zasypaniya. Dannyh faz v techenii nochi
otmechayut   neskol'ko,   i   pered   nachalom   ih  individ  kazhdyj  raz
povorachivaetsya  v  posteli.  Uvelichivaet  kolichestvo  i   dlitel'nost'
podobnyh   faz  primenenie  snotvornogo-barbiturata  (barbital-natriya,
barbamila,  nembutala...) v noch'  predshestvuyushchuyu  "rabochej",  a  takzhe
vypivka   za   den'-drugoj  do  akcii.  Vse  vosprinimaemoe  vo  vremya
kontroliruemogo sna vneshne ne osoznaetsya, a vnutrenne ne zabyvaetsya.
     *CHtoby perevesti obychnyj son ob容kta v gipnoticheskij, sleduet*:
     - gde-to cherez polchasa posle  togo  kak  chelovek  zasnet  ili  za
chas-dva  pered  probuzhdeniem  tiho  razmestit'sya  vozle  izgolov'ya ego
posteli;
     - posidev   nemnogo,   sdelat'   medlennye   passy  rukami  vdol'
poverhnosti ego tela,  v napravlenii ot golovy k nogam i na rasstoyanii
polutora-dvuh santimetrov ot kozhi;
     - dve,  a to i tri minuty tihim shepotom i  v  ritme  ego  sonnogo
dyhaniya izrekat': "Spite glub-zhe, spi-te glub-zhe";
     - postepenno nachat' to zamedlyat', to uskoryat' ritm slov; esli pri
etom ritm dyhaniya spyashchego shodnym obrazom izmenitsya, to znachit kontakt
s nim ustanovlen;
     - uvelichivaya  postepenno  gromkost'  rechi  i  nastraivayas' na ton
vnusheniya,  zayavit':  "Vy krepko spite... Vy otlichno slyshite moj golos,
no  Vy  prodolzhaete uyutno spat'...  Zasypajte eshche glubzhe...  Teper' vy
hotite otvechat' na vse voprosy,  ostavayas' spyashchim...  Kak vashe  imya...
Otvechajte  prodolzhaya  spat',  kak vas zovut..." (vse nachal'nye voprosy
dolzhny byt' prosty i ne vyzyvat' ni malejshej trevogi);  esli ob容kt ne
prosypayas' otvechaet na vopros,  to rapport (t.e.  slovesnyj kontakt) s
nim ustanovlen;
     - teper' mozhno pristupat' i k konkretnomu vnusheniyu,  povtoryaemomu
nechetnoe (5 ili 7) chislo raz  s  kratkimi  (ne  bolee  5  sekund),  no
obyazatel'nymi intervalami mezhdu povtorami;
     - vypolnit' 5 ili 7 podobnyh  serij,  zapolnyaya  promezhutki  mezhdu
nimi  formulami,  obespechivayushchimi  sohranenie  neobhodimogo sostoyaniya:
"Spite glubzhe... eshche glubzhe...".
     Vse vnusheniya  v  gipnoze  delayut  negromkim  golosom,  s  pomoshch'yu
korotkih, povtoryaemyh po neskol'ko raz, fraz s neznachitel'nymi pauzami
mezhdu nimi.  Klyuchevye slova podayut v tot moment,  kogda chelovek delaet
ocherednoj vdoh. Ves' seans obychno dlitsya ne bolee 15-20 minut.
     CHtoby individ vposledstvii ne vspomnil o proisshedshem, emu sleduet
vnushit',  chto pered probuzhdeniem on uvidit yarkij son,  no  kak  tol'ko
snovidenie poyavitsya, on nezamedlitel'no prosnetsya; son pri etom horosho
emu zapomnitsya, a vse chto bylo do togo - zabudetsya.
     *CHastnye metodiki resheniya special'nyh zadach s primeneniem gipnoza
takovy*:
     *(1). Gipnodopros*.  CHeloveka  vvodyat  tem  ili  inym  sposobom v
gipnoticheskij trans i,  ustanoviv  rapport,  nastraivayut  otvechat'  na
zadavaemye voprosy,  prichem pervye iz nih dolzhny byt' samye prostye (o
pogode,  imeni,  professii...),  chtoby  ne   vozbudit'   dazhe   legkoj
nastorozhennosti.   Professional'nomu   soldatu  ili  sluzhashchemu  horosho
vnushit',  chto  pered  nim  ego  nachal'nik,  zhdushchij  samogo  podrobnogo
doklada.  Inogda ispol'zuyut metodiku svobodnyh associacij, pri kotoroj
proiznosyat klyuchevoe slovo i  zhelayut,  chtoby  vizavi  soobshchil  to,  chto
pridet   emu   na   um.   Sleduet  vozderzhivat'sya  ot  voprosov,  yavno
nastraivayushchih na konkretnye otvety,  ibo pod gipnozom individ sposoben
vydat'   vymyshlennuyu   informaciyu  dazhe  pri  legkom  neprednamerennom
davlenii so storony doprashivayushchego.
     *(2). Peresylka    tajnoj    informacii*.   CHeloveka   vvodyat   v
gipnoticheskij trans i soobshchayut nekotoruyu informaciyu,  razvivaya amneziyu
na   predstavlennoe.   Posle   etogo  on  okazhetsya  sposoben  peredat'
uslyshannoe tol'ko buduchi opyat' zhe pogruzhen v gipnoz i v etom sostoyanii
ulovit  ustanovlennoe  v osnovnom seanse kodovoe slovo (ili frazu) kak
parol', vskryvayushchij ego pamyat'.
     *(3). Sotvorenie  dezinformacii*.  Zagipnotizirovannomu  sub容ktu
tshchatel'no vnushayut,  chto on yakoby uchastvoval v  kakoj-to  akcii,  videl
nekoe sobytie, slyshal zakulisnuyu besedu, dobyl tu ili inuyu informaciyu.
Vyjdya iz kodiruemogo sostoyaniya chelovek  verit,  chto  rasskazannoe  emu
bylo na samom dele i s uverennost'yu soobshchaet eto drugim.
     *(4). Programmirovanie na nuzhnoe povedenie*.  Dannyj tryuk  obychno
udaetsya tol'ko pri glubokoj stadii gipnoza.  Posle pogruzheniya v trans,
ob容kt primeneniem opredelennyh slov i predstavlenij transformiruyut  v
zhelaemuyu   lichnost',  kak  by  imitiruyushchuyu  izvestnyj  iz  literatury,
kinofil'ma,  libo real'noj zhizni personazh.  Takuyu akciyu osushchestvlyayut s
pomoshch'yu special'no ustanovlennyh kodovyh fraz,  prichem novyh lichnostej
zdes'   mozhet   byt'   neskol'ko   (mnogourovnevoe    programmirovanie
primenyaemoe pri zombirovanii...) Shodnym obrazom vozmozhno zakodirovat'
ob容kt na konkretnoe deyanie,  kakovoe on obyazan budet sovershit',  esli
uslyshit  kodovoe  slovo  ili zhe vozniknet nekotoraya situaciya.  Sleduet
uchityvat',   chto   "lobovoe"   postvnushenie,    yavno    protivorechashchee
nravstvennomu  principu  ob容kta chashche vsego ne realizuetsya,  a poetomu
prihoditsya ispol'zovat' prichudlivye obhodnye  (skazhem,  imitaciyu  igry
ili obman...) manevry.  Avtomatika srabatyvaniya po konkretnomu signalu
sohranyaet silu v prodolzhenii primerno odnogo goda.



     Narkotikami pochitayut veshchestva, rozhdayushchie v malyh dozah ejforiyu, a
v  bol'shih - ocepenenie i glubokij son s polnym otklyucheniem soznaniya i
bolevoj chuvstvitel'nosti.
     Takie veshchestva  byvayut kak prirodnymi (opij,  anasha,  belena...),
tak  i  sintezirovannymi  (amfetaminy,  "mul'ka",  "ekstazi",  "vint",
LSD...).
     Vvidu specifiki  vozdejstviya  vse  narkoveshchestva  ispol'zuyutsya  v
shirokom spektre, v chastnosti dlya:
     - polucheniya  informacii   (narkodopros,   vyzov   boltlivosti   v
besede...);
     - kodirovaniya ob容kta na trebuemoe povedenie;
     - lomaniya voli cheloveka so vsevozmozhnymi celyami (tehnika "sazhaniya
na igru"...);
     - shokiruyushchih  izmenenij  v  povedenii  cheloveka s raschetom na ego
diskreditaciyu;
     - razlazhivaniya psihiki ob容kta v processe "promyvaniya mozgov" ili
zombirovaniya;
     - nejtralizacii   vozmozhnogo   soprotivleniya   persony   pri   ee
pohishchenii.
     *Rassmotrim upomyanutye varianty nemnogo podrobnee*.



     V tehnike  professional'nogo  doprosa  narkotiki  ispol'zuyut  dlya
sozdaniya v soznanii individa opredelennoj "sumerechnoj zony".  Narkotik
obespechivaet  rastormazhivanie  konkretnyh sderzhivayushchih centrov mozga i
chelovek ne mozhet yasno rassuzhdat' i chto-libo pridumyvat', hotya pamyat' o
proshlom u nego obychno sohranyaetsya.
     Esli vozdejstvie narkotika bylo ne ochen' sil'nym i u  ob容kta  ne
ischezlo  soznanie,  chtoby  ponyat'  to  chem u nego sprashivayut,  to on v
sostoyanii skryt' pravdu. Slozhnost' poetomu lezhit v podbore optimal'noj
rabochej   dozy  preparata,  kotoraya  dolzhna  isklyuchit'  sposobnost'  k
soznatel'nomu  soprotivleniyu  (vozmozhnogo  pri  skudnoj  doze),  i  ne
dopustit',  chtoby  ob容kt  "nes okolesicu" (pri slishkom bol'shoj doze).
Vvod narkoveshchestva obychno prekrashchayut  togda,  kogda  veki  u  cheloveka
nachinayut drozhat', a rech' stanovitsya nechetkoj.
     Soprotivlyaemost' narkotiku dovol'na sub容ktivna i,  v  chastnosti,
zavisit ot fizicheskogo sostoyaniya,  psihicheskogo tipa, imeyushchegosya opyta
i drugih sugubo individual'nyh faktorov.  Inoj raz chelovek vykladyvaet
informaciyu  lish'  posle  polucheniya tret'ej - chetvertoj porcii lyuboj iz
"syvorotok pravdy".
     Konkretnye voprosy  obychno  formuliruyut  predel'no  kratko (chtoby
doprashivaemyj ne zabyl ih nachalo pri izlozhenii  konca  (i  eshche  v  nih
dolzhna  otsutstvovat'  vnushaemost').  Poslednee  osobenno  otnositsya k
nevrotikam, kotorye chrezvychajno sklonny k fantaziyam.
     Osvobodivshis' ot vliyaniya narkotika doproshennyj,  kak pravilo,  ne
pomnit o soderzhanii vydannoj im informacii i ne imeet predstavleniya  o
prodolzhitel'nosti seansa.
     *V tehnike narkodoprosa ispol'zuyut sleduyushchie priemy*:
     - podmeshivanie  v  pit'e  nastoya  beladonny  (beshenoj  vishni  ili
krasavki) s cel'yu ulovit' skryvaemoe v sonnom bredu;
     - zamedlennoe  vnutrivennoe  vvedenie  nebol'shoj  (0,5-1 ml 0,05%
rastvora) dozy skopolomina; izlishne bystroe vvedenie preparata ili ego
bol'shie   dozy   schitayutsya   opasnymi   dlya   zhizni   (rezkoe  padenie
arterial'nogo davleniya,  oslablenie serdechnoj deyatel'nosti,  ostanovka
dyhaniya...). |ffekt obychno proyavlyaetsya v chuvstvah pareniya i umen'sheniya
vesa;  sub容kt ne kontroliruet sebya, stanovitsya izbytochno obshchitel'nym,
predel'no  blagodushnym  i ochen' otkrovennym,  vybaltyvaya to,  chto on v
obychnom sostoyanii skryvaet;
     - vvedenie   v   venu   2-8   ml  10%  rastvora  tiopental-natriya
(pentotala) s mizernoj (1 ml za 1 minutu) skorost'yu;  pri  etom  cherez
10-15 minut "svet yavstvenno tuskneet, predmety umen'shayutsya v razmerah,
skryvaemye mysli vyskakivayut na poverhnost',  smetaya pomysly o  vsyakoj
ostorozhnosti i neobhodimosti vladet' soboj, hotya potrebnosti v obshchenii
obychno net".  Pri maloj doze nado ispol'zovat' period zasypaniya, a pri
bol'shoj - period probuzhdeniya;
     - zamedlennoe vvedenie v venu 0,5-8 ml 10% rastvora amital-natriya
(barbamila),   vozdejstvie   kotorogo  proyavlyaetsya  v  snizhenii  obshchej
aktivnosti i zamedlenii rechi;  pri  etom  oshchushchaetsya  golovokruzhenie  i
suhost'   vo  rtu,  a  okruzhayushchie  predmety  teryayut  ochertaniya.  Zatem
voznikaet ejforiya (hot' izredka vozmozhna  i  depressiya)  s  povyshennoj
obshchitel'nost'yu   i   druzhelyubiem   v   soprovozhdenii   mnogosloviya   s
ischeznoveniem sderzhannosti, chto dlitsya ot 10 minut do 1 chasa, smenyayas'
oglusheniem  i  snom  na vremya ot neskol'kih minut do neskol'kih chasov.
Dlya prodleniya nuzhnoj ejforii,  narkotik vvodyat s maksimal'no maloj (za
4-20 minut) skorost'yu, a peredozirovku ustranyayut ukolom kofeina;
     - zamedlennoe (za 3-5 minut) vnutrivennoe  vvedenie  2-8  ml  10%
rastvora amital-natriya (barbamila), a posle pogruzheniya v narkoticheskij
son,   vvedenie   moshchnoj   dozy   psihostimulyatora    (amfetamina...).
Forsirovannoe  probuzhdenie spyashchego daet emu priliv energii i strastnoe
zhelanie govorit';  zvuki i vse obrazy vokrug stanovyatsya yarkimi i ochen'
rel'efnymi,  pul's i dyhanie uchashchayutsya, vse mysli proyasnyayutsya, hochetsya
krichat'  ot  osoznaniya  svoej  sily.  Poskol'ku  cheloveka  pered  etim
svyazyvayut,  vsya  moshch'  dvigatel'noj energetiki aktivno sublimiruetsya v
neuderzhimye slovesnye potoki.
     Himpreparaty podavlyayushchie  volyu  mozhno obnaruzhit' v krovi ne dalee
chem cherez neskol'ko chasov posle ukola,  a sled igly obychno viden  paru
dnej,  hotya  imeyutsya  igly  (k primeru,  insulinovye),  ne ostavlyayushchie
nikakih sledov.
     Vsegda nado  uchityvat',  chto  mnogie  narkotiki sil'nee dejstvuyut
vesnoj i letom, a takzhe na rassvete, utrom ili v buryu.
     Esli vozdejstviyu    narkotika    prinuditel'no   podvergli   Vas,
zhelatel'no  opredelit'  ego  vedushchij   tip,   fiksiruya   vnimanie   na
dominiruyushchee   oshchushchenie   (blazhenstvo,  bezrazlichie  i  raznye  nyuansy
vospriyatiya),  znachitel'nyh izmeneniyah v velichine i chetkosti predmetov,
a takzhe v nasyshchennosti osveshcheniya...).
     *Dlya preodoleniya   pressinga   ot   "syvorotok   pravdy"    mozhno
poprobovat'*:
     - sosredotochit'  vnimanie  na  opredelennoj  real'nosti  (tikan'e
chasov,  pyatno  ot vlagi na stene...) i osoznav po etomu fiksirovannomu
etalonu,   chto   realistichnost'   myshleniya    uhudshaetsya,    predel'no
skoncentrirovat'sya  na neobhodimosti preodolet' nakatyvayushchee sostoyanie
i ochen' chetko myslit';
     - zaciklit'sya  na  vospominaniyah  o  nekih  emocional'nyh,  no ne
sushchestvennyh  s  pozicij  bezopasnosti   veshchah   (takih,   kak   seks,
perezhivaniya viny,  zavisti, zloby...), otstranyayas' podobnym obrazom ot
nezhelatel'noj opasnoj ispovedi;
     - sosredotochit'sya  na  vospominaniyah  chego-libo  (ili  kogo-libo)
osobo dorogogo;
     - probovat'  zaputat'  myslennyj  process,  vyskazyvaya  vsyacheskie
nesuraznosti...



     V realizacii podobnoj celi  ispol'zuetsya  svojstvo  narkoticheskih
veshchestv  zametno rastormazhivat' psihiku,  chto chasto vyzyvaet ejforiyu s
povyshennoj obshchitel'nost'yu i druzhelyubiem pri ischezanii  nastorozhennosti
i sderzhannosti.
     Dlya etogo mozhno:
     - predlozhit'  cheloveku  sigaretu,  v  kotoroj  k tabaku podmeshano
nemnogo (okolo goroshiny) sushenyh list'ev i verhushek konopli;
     - dobavit'  v  alkogol'  0,05  g  barbamila  (poskol'ku  barbamil
blokiruet pererabotku alkogolya,  izbytok ego dozy  sposoben  okazat'sya
zhiznenno opasnym dlya organizma...).



     Himpreparaty i  tehnika  vvedeniya  v  trans zdes' te zhe,  chto i v
sluchae narkodoprosa, a shema vypolneniya vnusheniya - kak pri gipnoze.
     Vnushenie delaetsya rezkim i energichnym imperativnym tonom v period
zasypaniya (kogda  ispol'zuemaya  doza  preparata  mala)  ili  vo  vremya
probuzhdeniya (esli doza velika).
     Izvestnyj nedostatok narkoprogrammirovaniya zaklyuchaetsya v tom, chto
ono  menee  stojko,  chem  gipnoticheskoe,  a  udobstvo  - chto ego mozhno
primenyat' protiv zhelaniya ob容kta.
     V rabote  s narkomanom,  konkretnoe vnushenie osushchestvlyaetsya pered
uhodom ego v obychnyj narkoticheskij son (opij...) ili na fone spontanno
voznikayushchih, a zatem napravlyaemyh gallyucinacij (gashish...).



     Podobnaya zadacha  realizuetsya ispol'zovaniem isklyuchitel'no tyazhelyh
fiziologicheskih reakcij organizma na rezkoe lishenie ego  stavshego  uzhe
privychnym narkoticheskogo preparata. Takoe sostoyanie, obychno nazyvaemoe
abstinenciej ili "lomkoj",  nemedlenno ustranyaetsya, esli sub容kt snova
upotrebit  zhelaemyj  produkt.  Siya  neodolimaya  fizicheskaya  tyaga  daet
vozmozhnost' napravlyat' i kontrolirovat' postupki narkomana.
     Na prodolzhitel'nost'   i  intensivnost'  abstinencii  vliyayut  tip
upotreblyaemogo narkotika,  dlitel'nost' priema,  dozy,  individual'nye
osobennosti lichnosti.
     Krome fizicheskoj,   neredko   govoryat   i    o    psihologicheskoj
zavisimosti,  gde  zhelanie  narkotika  ne svyazano s tyazhelymi telesnymi
reakciyami, a potomu inoj raz preodolimo.
     Samaya muchitel'naya  lomka  byvaet  pri upotreblenii geroina,  chut'
slabee - ot morfiya i pantolmona pri ih vvedenii v  venu,  eshche  slabee,
kogda morfinom kolyat v myshcu ili pod kozhu,  zatem idut in容kcii drugih
morfepodobnyh sinteticheskih veshchestv,  takih kak  promedol  i  omnopon.
Zametno   legche  perenositsya  lishenie  opiya,  amfetaminov,  "ekstazi",
"kreka", gashisha i kokaina.
     Privychka k   geroinu  i  "kitajskomu  belku"  (trimetilfantanilu)
obychno nastupaet posle realizacii 3-4 in容kcij,  a k  morfiyu  -  posle
10-12 ukolov pri postepenno uvelichivayushchejsya doze.
     Lomka kak  pravilo  nakatyvaet  cherez  2-3  chasa  posle  in容kcii
geroina,  cherez  5-6 chasov posle poslednego ukola morfiya i cherez 10-12
chasov posle ispol'zovaniya opiya.
     *"Sazhanie na iglu" obychno proishodit*:
     - dobrovol'no        (lyubopytstvo,        ritual,         popytka
samousovershenstvovaniya...);
     - nasil'stvenno (posle namerennogo pohishcheniya...);
     - putem obmana (podmenoj medicinskih preparatov...).
     Dlya narkomana  harakteren  postepennyj  perehod  ot   potrebleniya
"slabolomayushchih" veshchestv k vse bolee opasnym (geroin, opij, "vint"...).



     Narkotiki sposobny  bystro  otklyuchit'  soznanie cheloveka na tochno
prognoziruemoe vremya i potomu ves'ma udobny v processe pohishcheniya.
     Vozmozhny  sleduyushchie  varianty  dejstvij:
     - naliv na  tryapochku-perchatku  nemnogo  ftorotana  (klassicheskogo
sredstva  dlya  operacionnogo  narkoza...)  perekryvayut  eyu  rot  i nos
ob容kta,  soznanie kotorogo  polnost'yu  otklyuchaetsya  v  predelah  5-20
minut;
     - ob容kt  grubo  oglushayut   udarom,   skazhem,   po   golove   ili
perezhimaniem  sonnyh  arterij,  a  posle  usyplyayut in容kciej barbamila
(5-10 ml 10%  rastvora v myshcu ili venu) na 6-8 chasov;  pri etom vremya
sna neslozhno regulirovat' podborom sootvetstvuyushchego preparata;
     - personu na neskol'ko sekund obezdvizhivayut i  vkalyvayut  v  etot
moment  smes'  nejroleptika  tioridazina  (sonapaksa) so spirtom,  chto
vyzyvaet u nee mgnovennoe obessilivanie,  padenie  davleniya,  uchashchenie
pul'sa,   rasshirenie   zrachkov,   t.e.   passivnoe  sostoyanie,  vneshne
napominayushchee glubokij shok.



     Poskol'ku polovoe  vlechenie  (libido)   yavlyaetsya   ochen'   moshchnym
motivatorom  lyudskogo  povedeniya,  bylo  by glupo ne ispol'zovat' etot
instinkt.
     *Intimnye meropriyatiya obychno primenyayut dlya*:
     - polucheniya informacii;
     - kontrolya za ob容ktom;
     - podsovyvaniya persone svoego agenta  (vracha,  intim-partnera...)
pri provedenii slozhnoj kombinacii;
     - zavyazyvaniya tesnyh  otnoshenij  s  chelovekom  ("razygryvaya  rol'
specialista po naslazhdeniyam"...);
     - pobochnogo vozdejstviya na  povedenie  i  mysli  individa  (cherez
kotiruemogo seks-partnera);
     - polucheniya kompromata na cheloveka;
     - lomaniya   psihiki   ob容kta   (posredstvom  vyzova  impotencii,
zarazheniya bolezn'yu...).
     *Schitaetsya, chto sila libido sugubo individual'na, no*:
     - muzhchiny naibolee seksual'no ozabocheny v vozraste 23-35  let,  a
zhenshchiny - v 35-45 let;
     - chem zharche klimat mesta,  gde rodilsya chelovek,  tem yarche u  nego
proyavlyaetsya polovoj instinkt;
     - bryunety bolee chuvstvenny, chem blondiny;
     - u nizkoroslyh lyudej vlechenie sil'nee chem u vysokih;
     - hudye lyudi obladayut bol'shim vlecheniem, chem polnye;
     - lyudi  vedushchie  sidyachij  obraz  zhizni  i  domosedy zametno bolee
podvlastny polovym instinktam,  chem nahodyashchiesya v nepreryvnom dvizhenii
ili na svezhem vozduhe;
     - u poloviny alkogolikov otsutstvuet polovoe vlechenie, a tret' iz
nih - impotenty.
     *Horosho stimuliruyut instinkty pola*:
     - dieta  (sel'derej,  zharenyj luk,  zheltki yaic,  kraby,  ustricy,
sushenye frukty, griby, klubni yatryshnika...);
     - zapahi (koricy, mozhzhevel'nika, myaty, sandala, imbirya, gvozdiki,
chabreca...):
     - opredelennoe   povedenie   (izlishne   chastye  snosheniya,  rezkoe
prekrashchenie aktivnoj polovoj zhizni...).
     Sil'no vozbuzhdaet   polovoe   vlechenie  zhelanie  osvobodit'sya  ot
moshchnogo davleniya stressa,  estestvennogo ili  zaprogrammirovannogo,  k
primeru:
     - neozhidannoe spasenie ot blizkoj smerti;
     - uhod   ot  ugrozy  finansovogo  razoreniya  ili  drugih  krupnyh
nepriyatnostej;
     - udachnoe zavershenie slozhnogo meropriyatiya...
     *Dlya polovogo     vozbuzhdeniya     mozhno     ispol'zovat'*     kak
farmakologicheskie (podmeshivanie  preparatov v pit'e i pishchu...),  tak i
narodnye (sglaz...) sredstva, v chastnosti:
     - special'nuyu pepticidnuyu syvorotku krovi (aerozol' i poroshok);
     - lekarstvo imizin (on rastvorim v vode i spirte...);
     - johimbin (v razlichnyh sochetaniyah);
     - metiltestosteron (dlya zhenshchin);
     - narkotik "ekstazi";
     - spirt v smesi s kokainom;
     - muskus;
     - koru granatovogo dereva i yagody mirty;
     - l'nyanoe semya s  percem...
     ZHenshchiny dlya  privlecheniya  partnerov  mogut   ispol'zovat'   takie
prosten'kie tryuki, kak:
     - natiranie tela i odezhdy smes'yu verbeny, zori i ruty;
     - smazyvanie sekretom svoih intimnyh zhelez volos i kozhi za ushami;
     - special'nuyu tehniku dyhaniya s ekvivalentnym podklyucheniem  obeih
nozdrej...
     |ti priemy,  vprochem,  ne srabatyvayut,  esli  ob容kt  povyshennogo
interesa stradaet nasmorkom.
     *Umen'shit' polovoe vlechenie sposobny*:
     - pro-bantin (protivoyazvennyj preparat);
     - varapamil (serdechnyj preparat);
     - metildofa, veroshpiron (lekarstva ot gipertonii);
     - trihopol (lekarstvo ot trihomonadoza);
     - acetat ciproterona;
     - nastojka kovylya...
     *Klassicheskie shemy otdel'nyh seks-meropriyatij takovy*:



     - ispol'zovanie  estestvennogo,  libo  inspirirovannogo  udobnogo
momenta (razryv s prezhnim partnerom,  beremennost' zheny, komandirovka,
otdyh v odinochestve,  udachnaya prezentaciya...) dlya podvedeniya k ob容ktu
opytnogo i sootvetstvuyushchego ego vkusam agenta nuzhnogo pola, zadejstvuya
pri etom faktory stimuliruyushchie polovoe vlechenie;
     - lyubye  sposoby  znakomstva,   otobrannye   v   sootvetstvii   s
rekomendaciyami   razdela   "o   zavyazyvanii   kontakta",   dopolnennye
privedennymi zdes' priemami usileniya polovyh emocij...



     - vyzov  sil'noj   vspyshki   seksual'nogo   zhelaniya   posredstvom
primeneniya    situacionnogo    (osvobozhdenie    ot   stressa...)   ili
farmakologicheskogo   (himpreparaty...)   tryuka,   s   uchastiem   lica,
soglasnogo otdat'sya v obmen na nuzhnuyu fakturu;
     - podklyuchenie  ob容ktu  prevoshodno   orientiruyushchejsya   v   sekse
partnershi,  s  perspektivoj dolgovremennogo intimnogo obshcheniya,  v hode
kotorogo kak by mezhdu prochim vyuzhivaetsya zhelaemaya informaciya;
     - vyslezhivanie  lyubovnicy  ob容kta  i verbovka ee,  libo osnastka
komnaty svidanij podslushivayushchej i video apparaturoj;
     - shantazh seks-kompromatom...



     - vyyavlenie   posredstvom   nablyudeniya  libo  oprosa  staratel'no
skryvaemyh seksuvlechenij ob容kta,  s posleduyushchej fiksaciej  fragmentov
ih vzaimootnoshenij na fotoplenku libo na video- i audiokassety;
     - podklyuchenie k ob容ktu svoego agenta, s zapechatleniem ih polovyh
kontaktov v osnashchennoj razlichnoj specapparaturoj komnate;
     - podsovyvanie  ob容ktu  seksual'nogo  partnera  i  "oficial'noe"
(vzapravdu libo lozhno) "vzyatie ego s polichnym";
     - podkladyvanie pod ob容kt devicy,  kotoraya zatem zayavit,  chto on
ee iznasiloval...
     - razygryvanie epizoda gruppovogo  iznasilovaniya  s  prisutstviem
pri etom razrabatyvaemoj persony.
     Bolee slozhnye  varianty  mogu  vklyuchat'   v   sebya:   "priznanie"
lyubovnicy v dvojnoj igre,  vyzov u cheloveka impotencii,  podstraivanie
vsevozmozhnyh  situacij  s  cel'yu  sozdaniya  kompromata,  ispol'zovanie
polovogo vozbuzhdeniya dlya kodirovaniya podsoznaniya...
     Ne nado  zabyvat',  chto  shchekotlivaya  faktura  sposobna  okazat'sya
kompromatom lish' v nekotoryh, no vpolne opredelennyh situaciyah.



     Sovremennaya nauka   predlozhila  mnogo  specifichnyh  sposobov  dlya
upravleniya povedeniem,  myslyami  i  chuvstvami  cheloveka.  Pri  etom  v
chastnosti ispol'zuyut:
     - nizheporogovoe audiovizual'noe razdrazhenie;
     - elektroshok;
     - ul'trazvuk;
     - infrazvuk;
     - sverhvysokochastotnoe (SVCH) izluchenie;
     - torsionnoe izluchenie;
     - udarnye volny...
     Rassmotrim eti vozdejstviya nemnogo podrobnee:



     V dannom  sluchae  ispol'zuetsya  svojstvo  razlichnyh  ochen' slabyh
(t.e.  nizheporogovyh)  razdrazhitelej  prakticheski  ne   vosprinimat'sya
soznaniem,  no gluboko vnedryat'sya v podsoznanie.  Poskol'ku kritika so
storony soznaniya tut polnost'yu otsutstvuet, podobnye vozdejstviya mogut
sovershenno  nezametno  orientirovat'  myshlenie  i povedenie cheloveka v
konkretnom napravlenii. Osobenno podverzheny takim vnusheniyam serdechniki
i potencial'nye serdechniki.
     Udobnee vsego vnedryat'sya udaetsya cherez  audial'nyj  (sluhovoj)  i
vizual'nyj (zritel'nyj) kanaly.
     AUDIOSTIMULYACIYA. Pri perezapisi kakoj-libo priyatnoj  dlya  ob容kta
melodii  na  muzyku  posredstvom  mikshera  nakladyvaetsya  neodnokratno
povtoryaemyj slovesnyj tekst rabochego vnusheniya v  standartnoj  tehnike,
no s zamedleniem v desyat'-pyatnadcat' raz.  Transliruemye takim obrazom
slova vosprinimayutsya kak  gluhoj  voj  i  posle  nalozheniya  stanovyatsya
sovershenno nezametnymi.
     VIDEOSTIMULYACIYA. V zapis' videofil'ma vklinivayut  ochen'  korotkie
(0,04  sekundy)  vrezki kartinok vnushaemogo teksta ili obraza,  uporno
povtoryaemye cherez kazhdye 5 sekund. Tehnika izgotovleniya speckassety po
sushchestvu  ne  ochen' slozhna i predstavlyaet iz sebya obychnuyu perezapis' s
odnogo videomagnitofona na drugoj, preryvaemuyu posredstvom prosten'koj
radioshemy  kazhdye  5  sekund  na 1/25 sekundy s podsoedineniem v etot
moment  k  pishushchemu  ustrojstvu  monitora,  dayushchego  kartinku  nuzhnogo
vnusheniya.  Slabym  momentom zdes' yavlyaetsya vozmozhnost' sluchajnogo (pri
ostanovke  zapisi)  obnaruzheniya  speckadra  tem,   kto   prosmatrivaet
podobnyj  fil'm,  a takzhe nekotoroe zamedlenie psihofizicheskih reakcij
podopytnogo cheloveka.



     Dejstvie elektroshoka  na  zhivye  organizmy  podrobno  izucheno,  i
tehnika elektroshoka aktivno primenyaetsya dlya:
     - razrusheniya pamyati v hode zombirovaniya;
     - vyzova boli v processe pytki ili doprosa;
     - nadezhnogo obezdvizhivaniya pri pohishchenii...
     Vse privedennye  zadachi  baziruyutsya  na ispol'zovanii doziruemogo
napryazheniya,  konkretnogo  perioda  vozdejstviya  i,  razumeetsya,  uchete
sostoyaniya ob容kta.
     Tok men'shij chem 10 mA vosprinimaetsya dovol'no slabo ili voobshche ne
oshchushchaetsya.  Tok okolo 20 mA obychno narushaet dyhanie,  a v 70 mA sil'no
ego zatrudnyaet. Tok v 100 mA vozbuzhdaet fibrilyaciyu volokon serdca, chto
mozhet  privesti  k  vozmozhnoj  smerti,  a  tok  bolee  200  mA nadezhno
obespechivaet sil'nyj ozhog i ostanavlivaet dyhanie.
     Naruzhnoe soprotivlenie kozhi kolebletsya ot 1 kOm (vlazhnaya...) do 5
kOm (suhaya...),  soprotivlenie vnutritelesnyh tkanej - ot 100  do  500
Om.  Tok napryazheniya vyshe 240 Vol't probivaet kozhu,  prichem energiya v 3
Dzhoulya ostanavlivaet serdce.
     Impul'sy pryamougol'noj   formy   s   otvesnym   frontom  sposobny
obespechit' razdrazhenie pri yavno (v 3-5  raz)  men'shej  amplitude,  chem
impul'sy  s  pologim  (treugol'nye,  trapecividnye...)  frontom,  hotya
sluchayutsya  isklyucheniya.  Neobychajno  tyagostnuyu  bol'  obychno   vyzyvayut
impul'sy, imeyushchie chastotu 5 Gc i podavaemye v kist' ruki.
     Pri razrushenii  nejronov  pamyati  ispol'zuyut  propuskanie   cherez
golovu   ochen'  boleznennyh  elektroimpul'sov  velichinoj  v  150  V  i
moshchnost'yu v desyatki raz bol'she, chem pri obychnoj sudorozhnoj terapii.
     Dlya obezdvizhivaniya  cheloveka  ispol'zuetsya  napryazhenie  bolee  50
tysyach vol't pri chrezvychajno  nizkom  (doli  milliamper)  toke  i  vsej
energii   elektroimpul'sa   primerno   v   0,3   dzhoulya.   Razryady  na
poverhnostnyh uchastkah kozhi privodyat  k  rezkim  sokrashcheniyam  myshechnoj
tkani,  prichem chem dlitel'nee budet vremennoj kontakt,  tem na bol'shee
chislo   volokon   vozdejstvuet   elektrotok.   CHtoby   lishit'   ob容kt
podvizhnosti,  elektroimpul'sy neobhodimo podavat' primerno 5 sekund. V
real'noj praktike mozhno ispol'zovat' kak vypuskaemye promyshlenno,  tak
i    izgotovlennye    kustarno    (sm.    ris.    18   v   prilozhenii)
elektroshokery-paralizatory,  dobrotno obezdvizhivayushchie cheloveka na 5-10
minut.



     V etom   sluchae  ispol'zuyut  kak  teplovye,  tak  i  mehanicheskie
vozdejstviya uprugih kolebanij s chastotami svyshe 100  kGc.  Dazhe  malaya
intensivnost'  podobnyh koncentrirovannyh kolebanij znachitel'no vliyaet
na myslitel'nye struktury i nervnuyu sistemu,  vyzyvaya  golovnuyu  bol',
golovokruzhenie,  rasstrojstva zreniya i dyhaniya, konvul'sii, a inogda i
otklyuchenie soznaniya.  Pribory dlya takih vozdejstvij  neslozhno  sdelat'
samomu.
     "Prokalivanie" izbrannyh uchastkov  mozga  horosho  sfokusirovannym
ul'trazvukom  inoj raz primenyaetsya dlya nevozvratnogo iz座atiya iz pamyati
kakih-to  nezhelatel'nyh  vospominanij,  no  eto   udaetsya   lish'   pri
ekspluatacii   otlichno  podgotovlennogo  personala  i  specapparatury,
ispol'zuemoj v medicine.



     Dovol'no effektivno, v smysle vliyaniya na cheloveka, zadejstvovanie
mehanicheskogo  rezonansa  uprugih  kolebanij  s  chastotami nizhe 16 Gc,
obychno  nevosprinimaemymi  na  sluh.  Samym  opasnym  zdes'  schitaetsya
promezhutok ot 6 do 9 Gc.
     Znachitel'nye psihotronnye effekty sil'nee vsego  vykazyvayutsya  na
chastote 7 Gc,  sozvuchnoj al'faritmu prirodnyh kolebanij mozga,  prichem
lyubaya umstvennaya rabota v etom sluchae delaetsya nevozmozhnoj,  poskol'ku
kazhetsya, chto golova vot-vot razorvetsya na melkie kusochki.
     Zvuk maloj intensivnosti vyzyvaet toshnotu i zvon v ushah,  a takzhe
uhudshenie  zreniya  i  bezotchetnyj  strah.  Zvuk  srednej intensivnosti
rasstraivaet  organy  pishchevareniya  i  mozg,  rozhdaya   paralich,   obshchuyu
slabost',   a   inogda  slepotu.  Uprugij  moshchnyj  infrazvuk  sposoben
povredit',  i dazhe  polnost'yu  ostanovit'  serdce.  Obychno  nepriyatnye
oshchushcheniya nachinayutsya so 120 dB napryazhennosti, travmiruyushchie - so 130 dB.
     Infrachastoty okolo 12 Gc pri sile v 85-110 dB,  navodyat  pristupy
morskoj  bolezni  i golovokruzhenie,  a kolebaniya chastotoj 15-18 Gc pri
toj zhe intensivnosti vnushayut chuvstva  bespokojstva,  neuverennosti  i,
nakonec, panicheskogo straha.

      (5). Sverhvysokochastotnoe (SVCH) neionizirovannoe izluchenie

     |to elektromagnitnoe   mikrovolnovoe  izluchenie  vozdejstvuet  na
biotoki,  imeyushchie chastotu ot 1 do 35 Gc.  V itoge voznikayut  narusheniya
vospriyatiya real'nosti,  pod容m i snizhenie tonusa, ustalost', toshnota i
golovnaya bol';  vozmozhny polnaya  sterilizaciya  instiktivnoj  sfery,  a
takzhe povrezhdeniya serdca,  mozga i CNS.  Volny, aktivno moduliruemye v
chastotah al'fa-ritma mozga,  sposobny vyzvat' neobratimye "zaskoki"  v
povedenii.
     SVCH izlucheniya vnedryayut informaciyu pryamo v  mozg,  i  v  ih  polyah
zametno   uskoryaetsya  lyubaya  psihoobrabotka  podsoznaniya.  V  kachestve
antennyh peredatchikov  takih  voln  vpolne  ispol'zuemy  telefonnye  i
radiolinejnye   provodki,  truby  kanalizacii  i  otopleniya,  a  takzhe
televizor,   telefon   i   protivopozharnaya   signalizaciya...   Rabochuyu
apparaturu,  po sushchestvu,  real'no izgotovit' v kustarnyh laboratornyh
usloviyah.
     Napravlennoe obluchenie SVCH obychno proyavlyaetsya v podergivanii nog,
zhzhenii v podoshvah,  boli v ushah,  rezi v glazah,  shchelchkah v  "gudyashchej"
golove, udarah v nosoglotku v soprovozhdenii kashlya, chihaniya i nasmorka,
v vozmozhnoj aritmii serdca i onemenii ruk.  Podobnye  simptomy  obychno
ischezayut posle uhoda cheloveka iz zony izlucheniya.



     |tot osobyj  vid fizicheskogo izlucheniya ne ekraniruetsya prirodnymi
sredami  i  potomu  ispol'zuya  ego  mozhno   legko   razzhech'   kakoe-to
zabolevanie,  snyat' nezhelatel'noe vozbuzhdenie,  ponizit' ili uvelichit'
psihofizicheskuyu aktivnost',  usugubit' razlichnye zhelaniya,  podsunut' v
podsoznanie ob容ktu neobhodimuyu programmu...
     Special'naya apparatura  prikladnogo  primeneniya   zasekrechena   i
trebuet krome togo uchastiya umelo podgotovlennogo operatora. Zadejstvuya
"podpol'nuyu" nauku,  vsegda est' krupnyj shans narvat'sya  na  obmanshchika
ili shizofrenichnogo fanata.



     Pod terminom    "zombirovanie"    podrazumevaetsya   forsirovannaya
obrabotka  podsoznaniya   cheloveka,   blagodarya   kotoroj   on   teryaet
napravlyayushchij   kontakt   so   svoim   proshlym   i  programmiruetsya  na
bezogovorochnoe,  pritom  neosoznavaemoe  podchinenie  prikazam   svoego
hozyaina.  Izvestny "zhestkoe" i "myagkoe" psihoprogrammirovanie,  prichem
"zhestkogo" zombi neredko udaetsya opredelit' po "ekster'eru"  i  manere
povedeniya  (otreshennost'  na  lice,  ne  sootvetstvuyushchaya  vyrazhaemym v
slovah emociyam, neobychnost' cveta belkov glaz, vyalye intonacii golosa,
nepravil'naya    rech',    otsutstvie    sposobnosti    sosredotochit'sya,
zamedlennost' reakcij  i  provaly  v  pamyati,  nelepaya  stereotipnost'
povedeniya...),   togda   kak  "myagkij"  zombi  po  sushchestvu  nichem  ne
otlichaetsya ot vseh drugih lyudej.
     Professional'noe zombirovanie  po  "myagkoj" kategorii chrezvychajno
slozhno  i  trebuet  doskonal'nogo  izucheniya  psihofiziologii  ob容kta,
ispol'zovaniya   special'noj  medicinskoj  i  komp'yuternoj  apparatury,
zadejstvovaniya kodirovshchikov-gipnotizerov, virtuozno vladeyushchih tehnikoj
mnogostupenchatogo gipnoza.
     Dlya orientiruyushchego    oznakomleniya    s    tipichnymi     priemami
zombirovaniya, predstavim paru prosten'kih, no otrabotannyh na praktike
metodik "zhestkogo" psihicheskogo pereprogrammirovaniya cheloveka.



     - personu  izymayut  iz  ee  prezhnej  sredy,  kontakty  s  kotoroj
polnost'yu preryvayutsya;
     - rezhim dnya dolzhen celikom protivorechit' ee prezhnim privychkam;
     - aktivno  provociruetsya  nedoverie ko vsem,  kto zhertvu okruzhaet
(ee naglo obmanyvayut, na nee podlo donosyat, ej zlobno ugrozhayut...);
     - osushchestvlyayutsya  nepreryvaemye  akcii diskreditacii (podtasovka,
vysmeivanie...) vsego, chem chelovek dorozhit;
     - dieta preimushchestvenno uglevodnaya i bezbelkovaya, s podmeshivaniem
otuplyayushchih   soznanie   preparatov   (aminazin...)   i    obyazatel'nym
nedosypaniem;
     - po  dostizhenii   sostoyaniya   tupogo   bezrazlichiya,   provoditsya
neobhodimoe kodirovanie priemami aktivnogo vnusheniya ili gipnoza.



     |tot variant slagaetsya iz treh posledovatel'nyh stupenej,  takih,
kak:
     - promyvanie  mozgov  (ochistka pamyati ot nekogda eyu vosprinyatogo,
lomanie vremenno-prostranstvennyh orientirov, sozdanie bezrazlichiya i k
proshlomu, i k budushchemu...);
     - slovesnoe  kodirovanie  (aktivnoe  vozdejstvie  na  psihiku,  v
kotoruyu vnedryayut opredelennye idei i predstavleniya...);
     - zakreplenie (kontrol' usvoennosti vnedrennogo...).
     *Tehnika realizacii etih faz obychno takova*:
     - ispol'zuya gipnoz i sil'nye snotvornye (k  primeru,  barbamil  s
podmeshennym  k nemu aminazinom...) ob容kt pogruzhayut v dlitel'nyj (dnej
na 15) son,  prichem dva raza v  sutki  ego  shokiruyut  elektrotokom  (v
manere  sudorozhnoj  terapii  pri  amplitude  impul'sov  do 150 vol't),
kotoryj propuskayut cherez golovu;
     - v  techenie 10-15 dnej kruglye sutki cherez naushniki prokruchivayut
zapis' neobhodimogo vnusheniya,  a v zavershenie kazhdogo seansa dlya bolee
rel'efnogo   vosprinimaniya  vnedryaemogo,  ob容kt  podvergayut  dejstviyu
elektroshoka, no elektrody zdes' podvedeny k nogam;
     - ob容kta pichkayut narkotikami i nejroleptikami,  podavlyayushchimi ego
volyu (aminazin...);  na etom fone  provodyat  mnogochasovye  besedy,  vo
vremya kotoryh proveryaetsya, naskol'ko horosho usvoeno vnushennoe.



     |to -  vzaimovygodnyj  obmen,  gde  za  real'noe  sodejstvie libo
soglasie sotrudnichat' ob容kt poluchaet opredelennoe voznagrazhdenie.
     *Podkup chashche vsego ispol'zuetsya dlya*:
     - privlecheniya k sotrudnichestvu;
     - polucheniya informacii;
     - skloneniya  k  odnomomentnomu   dejstviyu   (ili   k   sluzhebnomu
bezdejstviyu);
     - sozdaniya kompromata (tehnika provokacii...).
     Podkup neredko  sochetayut  s  shantazhom (podslashchivanie pilyuli...) i
ubezhdeniem (druzheskaya podderzhka...).
     Zondiruya ob容kt  na  uspeshnost'  podkupa prosmatrivayut ego dos'e,
vyiskivaya *vse momenty, svidetel'stvuyushchie o gotovnosti vzyat' vzyatku*:
     - konkretnye   cherty   haraktera   (zavistlivost',   bespechnost',
impul'sivnost', zhadnost', vnushaemost'...);
     - riskovannost';
     - nameki i sluhi;
     - imeyushchiesya precedenty v proshlom;
     - vykazyvaemye prityazaniya i real'nye vozmozhnosti;
     - znachimyh  lic  v  okruzhenii  (zhena,  deti,  lyubovnica...)  i ih
predpolagaemye nuzhdy;
     - nalichestvuyushchie bytovye i material'nye usloviya;
     - segodnyashnyuyu situaciyu  (kar'ernye  i  material'nye  zatrudneniya,
vnezapnaya neobhodimost' v chem-libo...);
     - hobbi i manii.
     *V kachestve voznagrazhdeniya pri podkupe obychno vystupayut*:
     - znachitel'nye  material'nye  cennosti  i  nedvizhimost'  (valyuta,
den'gi,  antikvariat, proizvedeniya iskusstva, avtomobili, elektronika,
zhil'e, zemel'nyj uchastok, delo i firma...);
     - sodejstvie  ob容ktu i ego blizkim (vygodnoe trudoustrojstvo ili
rabochij  kontrakt,  ustrojstvo  v  prestizhnyj  vuz,  prodazha  dorogogo
predmeta   po  ochen'  nizkoj  cene,  obespechenie  vizoj,  znachitel'noe
prodvizhenie po sluzhbe...);
     - razlichnye  potrebnosti  (kollekcionnye  ili hobbijnye predmety,
narkotiki, prestizhnye znakomstva, zhelaemaya informaciya...).
     *Osnovyvayas' na fakture dos'e, mozhno*:
     - vyzvat' (ili pojmat') moment ostroj potrebnosti ob容kta  i  ego
blizkih v den'gah (proigrysh v azartnoj igre, trebovanie starogo dolga,
vnezapnaya vozmozhnost' priobresti nechto ves'ma  zhelannoe,  ischeznovenie
ili porcha vzyatoj na vremya cennoj veshchi...);
     - predlozhit',  ogranichivaya  srok,  kakuyu-to  ves'ma  interesuyushchuyu
ob容kt (ili ego lyubimyh...) veshch';  pri etom predlagayushchij i podkupayushchij
mogut kak budto by ne znat' drug druga, ili zhe vystupat' v odnom lice;
     - rastravlivaya  shag za shagom appetity ob容kta,  ego privazhivayut k
den'gam (uchityvaya,  chto privychku legche sozdat',  chem  polomat'...),  a
posle trebuyut za novye "in容kcii" opredelennye uslugi;
     - ottachivaya  zavist'  ob容kta  i  ego  blizkih  k  preuspevayushchemu
kollege   libo   sosedu,   podsovyvayut   emu   shans  dostich'  vysokogo
material'nogo libo prestizhnogo urovnya poslednih;
     - prosya ob容kt o melochnoj usluge,  blagodaryat ego v toj forme,  k
kotoroj zatrudnitel'no pridrat'sya i  otkazat'sya  (podarok  dlya  detej,
bilety  na koncert,  butylka horoshego vina...);  eto lomaet vnutrennij
bar'er i oblegchaet vozmozhnost' posleduyushchego podkupa.
     Pri podkupe  kar'eroj,  nagradoj,  kontraktom  ili pristraivaniem
kuda-libo prohodit blefovyj  variant,  kogda  ot  pobochnogo  istochnika
zaranee  uznayut  o  namechaemom sobytii,  no podayut ego kak probivaemoe
voznagrazhdenie za ozhidaemuyu uslugu.
     Gotovnost' "vzyat' na lapu" opredelyayut po glazam i reagirovaniyu na
skol'zyashchie nameki, a takzhe po slovam doverennyh posrednikov.
     Process peredachi  vzyatki  (vpryamuyu iz ruk v ruki,  cherez kur'era,
podsovyvaniem  v  stol  ili  v  karman,   posredstvom   tret'ih   lic,
oficial'nym perevodom po kontraktu za nevypolnennuyu rabotu...) zavisit
ot real'noj situacii i  mesta  dejstviya  (na  yubilee,  na  rabote,  na
otdyhe...)  i  dolzhen  byt'  neoskorbitelen  (hotya  ne  vsegda...) dlya
poluchatelya.
     Pri etom  sleduet ne isklyuchat' i nepredvidennogo povorota sobytij
(vnezapnoe napadenie,  formal'noe zaderzhanie,  grubyj obman...) i byt'
vsegda gotovym k samym nepriyatnym neozhidannostyam.
     Fakt peredachi vzyatki zhelatel'no nadezhno zafiksirovat' (raspiskoj,
pomechennymi   veshchami,   svidetelyami,   audio-  ili  videozapisyami...),
organizuya kompromat dlya primeneniya ego v dal'nejshem.



     Pod shantazhom  podrazumevaetsya  populyarnyj  metod  vozdejstviya,  v
processe kotorogo sub容kta stavyat pered vyborom:  libo on vypolnit vse
trebovaniya  shantazhiruyushchego,  libo  porochashchaya  ego   informaciya   budet
predstavlena opredelennym licam.
     *Podgotovlenie i osushchestvlenie shantazha trebuyut  realizacii  takih
meropriyatij, kak*:
     - poisk sfer real'noj uyazvimosti ob容kta;
     - vybor konkretnogo predmeta shantazha;
     - ustanovlenie teh lyudej,  kotorym po suzhdeniyu ob容kta  predel'no
nezhelatel'no znat' ochernyayushchie ego dannye;
     - podbor i oformlenie kompromata, nalichestvuyushchego libo special'no
sozdavaemogo;
     - opredelenie taktiki i stilya shantazha,  vklyuchaya formu  i  poryadok
pred座avleniya kompromata;
     - planirovanie i provedenie epizodov po podryvu voli ob容kta;
     - vybor udobnogo momenta i mesta osushchestvleniya central'noj akcii;
     - produmyvanie povedeniya pri raznyh (v tom  chisle  maloveroyatnyh)
reakciyah  ob容kta  i  prochih  zatrudneniyah,  vozmozhnyh v hode osnovnoj
popytki.
     Rassmotrim eti aspekty nemnogo podrobnee.



     Vse, chem   ob容kt  dorozhit  i  chto  opasaetsya  vnezapno  poteryat'
(kar'era,  polozhenie v  obshchestve,  lyubov'  kakoj-to  zhenshchiny,  schast'e
detej,  svoj biznes,  podderzhka i uvazhenie konkretnyh lic,  fizicheskaya
bezopasnost',  vklyuchaya  bezopasnost'   privyazannostej,   imushchestvennoe
obespechenie...)   sostavlyaet   sferu   ego  lichnoj  uyazvimosti.  CHtoby
opredelit' ih nadobno:
     - prosmatrivaya  personal'noe dos'e,  otmetit' osnovnye motivacii,
privychki,  ustremleniya,  zhelaniya  i  privyazannosti  ob容kta,  a  takzhe
ocenit'  ego  psihicheskie,  moral'nye  i  volevye  kachestva  (slabosti
haraktera,  soobrazitel'nost',  nepredskazuemost',   umenie   hitrit',
upryamstvo, impul'sivnost', samolyubie...);
     - obdumat' slozhivshuyusya situaciyu,  prikidyvaya,  kak  ona  sposobna
usilit'  uyazvimost' ob容kta (k primeru,  ozhidaya prodvizheniya po sluzhbe,
sub容kt stanovitsya bolee chuvstvitelen k lyubomu kompromatu,  chem  v  te
periody, kogda takaya perspektiva po sushchestvu otsutstvuet...).



     Doskonal'no oceniv   imeyushchuyusya   informaciyu  i  svoi  sobstvennye
vozmozhnosti v priobretenii (ili fabrikacii) neobhodimyh faktov,  mozhno
vyjti na temu namechaemogo shantazha, s ispol'zovaniem:
     - porochashchih materialov,  sposobnyh pomeshat' kar'ere  ili  biznesu
ob容kta (skryvaemye  fakty  biografii,  utaivaemye oshibki i upushcheniya v
rabote,  hishchenie sluzhebnoj  informacii,  razlichnye  zloupotrebleniya  i
prestupleniya, somnitel'nye svyazi, moral'naya nechistoplotnost'...);
     - komprometiruyushchih  dannyh,  mogushchih   isportit'   otnosheniya   so
znachimymi  licami  (ih  ochernenie ili zhe predatel'stvo,  poterya lichnoj
reputacii, "grehi" blizkih lyudej...);
     - skandal'nyh   faktov,  yavno  sposobnyh  zagubit'  lichnuyu  zhizn'
(porochashchie intimnye svyazi, shokiruyushchie postupki...);
     - ochernyayushchih   materialov  na  blizkih  dlya  ob容kta  lic  (nekuyu
zhenshchinu,  blizkih druzej,  rodnyh,  detej...) mogushchih izgadit' im  vsyu
zhizn';
     - real'nyh  ili  sfabrikovannyh  komprometiruyushchih  dannyh  sugubo
ugolovnogo haraktera.
     Udar po odnoj  zone  chuvstvitel'nosti  obychno  perenositsya  i  na
drugie zony.  K primeru, komprometaciya na rabote sposobna privesti i k
uhudsheniyu otnoshenij so znachimymi licami (v vidu poteri reputacii), i k
krahu v lichnoj zhizni (iz-za utraty social'nogo statusa).


               zreniya  ob容kta  predel'no nezhelatel'no
                      znat' chernyashchie ego dannye.

     Ob容kt mozhet  sovsem ne volnovat'sya,  esli porochashchie ego svedeniya
uznaet postoronnee lico, no v to zhe vremya on gotov budet pojti na vse,
tol'ko by ob etih faktah ne uznal drugoj, vpolne opredelennyj chelovek.
     Gotovyas' k shantazhu,  neobhodimo chetko  uyasnit',  komu  po  mneniyu
ob容kta  znat'  dannyj kompromat predel'no nezhelatel'no (nachal'stvu na
rabote,  partneru v biznese,  znachimym licam, skandal'nym zhurnalistam,
zhene,  druz'yam  i  nedrugam,  potencial'nym vragam,  organam nalogovoj
policii,  vnutrennih del i  sluzhby  bezopasnosti...)  i  akcentirovat'
vozmozhnost' peredachi materiala imenno v te ruki.


               vklyuchaya razrabotku i  provedenie akcij,
                       diskreditiruyushchih ob容kt

     *Fakty nacelennye na komprometaciyu ob容kta byvayut*:
     - poluchennymi v hode razrabotki cheloveka;
     - predpolagaemymi, no nikem ne podtverzhdennymi;
     - chastichno  ili  zhe  vsecelo  sfabrikovannymi,  no   v   obshchem-to
pravdopodobnymi;
     - umelo inspirirovannymi (t.e. podstroennymi).
     *Zadejstvovanie kazhdoj    iz   etih   grupp   imeet   sobstvennye
osobennosti*:
     - poluchennye  fakty dolzhny byt' po vozmozhnosti zadokumentirovanny
(audio-  i  videozapisi,  shemy  i  fotografii,  kopii  vazhnyh  bumag,
svidetel'stva  opredelennyh  lic...),  chtoby  ne  vyzyvat'  ni  u kogo
opravdannyh somnenij;
     - predpolagaemye  fakty  vyvodyatsya na osnovanii pobochnyh dannyh i
primenyayutsya chashche vsego kak dopolnitel'nye;
     - iskusno   sfabrikovannye  fakty  izgotovlyayut  vyhvatyvaniem  iz
konteksta  dejstvitel'nyh  vyskazyvanij  i   postupkov   individa   so
specifichnoj ih interpretaciej,  smeshchayushchej akcent v nuzhnuyu vam storonu;
dobavlennye syuda vymyshlennye fakty  v  svete  predshestvuyushchih  istinnyh
kazhutsya ochen' real'nymi (dobavlennye fakty mogut byt' i podlinnymi, no
izvlekaemymi iz drugogo  vremeni  i  situacij;  dovol'no  perspektiven
takoj variant  kogda  fon  obespechivayut vymyshlennye fakty,  a real'nye
okazyvayutsya pri etom kompromatom;
     - umelo  inspirirovannye fakty yavlyayut optimal'nyj vid kompromata,
esli v proshlom i v nastoyashchem dannogo cheloveka ne vidno yavnyh "zacepok"
ili  net  vremeni  (libo  vozmozhnostej)  na  skrupuleznuyu proverku ego
zhizni.  Tip  inspirirovannogo   fakta   zavisit   ot   psihofizicheskih
osobennostej   ob容kta,   ego   privychek,   obstanovki,   vozmozhnostej
manipulyatora i namechaemogo napravleniya  komprometacii,  uchityvaya,  chto
"pugayushchee"  odnogo  mozhet  sovsem  ne volnovat' drugogo.  Nekotorye iz
inspirirovannyh faktov udobny v kachestve uderzhivayushchih  i  dopolnyayushchih,
prichem  vse  sozdannye  situacii  dolzhny  byt'  chetko  zafiksirovany i
zadokumentirovany.
     *Prostejshimi podstroennymi   situaciyami  mogut  sluzhit',  skazhem,
takie*:
     - vtyagivanie   ob容kta  v  dela  kakoj-to  sovershenno  bezobidnoj
neformal'noj  organizacii   (kruzhka,   kluba...),   kotoraya   vnezapno
okazyvaetsya vrazhdebnoj obshchestvu ili konkretnoj gruppe;
     - pros'ba k ob容ktu o neznachitel'noj usluge  (zajti  kuda-libo  i
peredat'  chto-libo...),  kotoraya posredstvom izmeneniya akcentov uzhe ne
budet vyglyadet' tak bezobidno;
     - podbrasyvanie   ob容ktu   (v   kvartiru,   ofis,   portfel'...)
kakih-libo    komprometiruyushchih    veshchej    (narkotiki,    disketa    s
konfidencial'noj informaciej, orudie ubijstva...), o chem soobshchaetsya na
pike shantazha,  tak chto izbavit'sya ot nih uzh prosto net vozmozhnosti;
     - iz座atie   u   cheloveka   razlichnymi  putyami  (krazha,  obman...)
nerazglashaemyh rabochih dokumentov,  ischeznovenie kakovyh  chrevato  dlya
nego  bol'shimi  nepriyatnostyami  (s nih pri etom mozhet byt' snyata kopiya
ili oni budut vozvrashcheny pri shantazhe...);
     - podsovyvanie   ob容ktu   seksual'nogo  partnera  s  posleduyushchej
fiksaciej intimnogo obshcheniya ili ugrozoj obvineniya v iznasilovanii;
     - inscenirovka     ugolovnoj    situacii    (avarii,    ubijstva,
iznasilovanii,  grabezha,  torgovli   narkotoj,   podzhoga,   krazhi...),
aktivnoe uchastie v kotoroj vneshne pravdopodobno pripisyvaetsya ob容ktu;
     - fal'sifikaciya  razlichnyh  dokumentov  o  yakoby  imevshem   mesto
predatel'stve ob容kta...



     Pri shantazhe   obychny   metody   "goryachego"  (pod  svoim  imenem),
"holodnogo" (pod chuzhim imenem) i "beskontaktnogo" (vsecelo anonimnogo)
podhodov.
     *CHtoby "prizhat' ob容kt k stene" neobhodimo*:
     - prodemonstrirovat'     ser'eznost'     i    dokumentirovannost'
kompromata;
     - uverit'   cheloveka   v  tverdoj  reshimosti  zadejstvovat'  etot
kompromat, esli ob容kt budet artachit'sya;
     - ubeditel'no dokazat' emu, chto etomu soobshcheniyu poveryat;
     - dostupno    opisat'     real'nye     posledstviya     pospeshnogo
neosmotritel'nogo otkaza;
     - soobshchit' ob容ktu, kak on mog by popytat'sya zashchitit'sya, i pochemu
eto bessmyslenno (t.e. "ubit' nadezhdu");
     - predel'no ogranichit' variativnost' ego vybora;
     - davit' faktorom vremeni;
     - podstrahovat'sya dopolnitel'nym svezhim kompromatom.
     Taktika manipulirovaniya    materialami    opredelyaetsya   prirodoj
figuriruemyh   faktov,   ih   zadokumentirovannost'yu,   harakterom   i
opytnost'yu  shantazhiruemogo,  a  takzhe  osobennostyami  situacii.
     *Fakty obychno pred座avlyayut*:
     - vnezapno (osharashivaya ob容kt);
     - poocheredno (po stepeni narastaniya ih sily).
     Ot taktiki  podachi  materiala  inoj raz zavisit uspeh vsej akcii.
Tak kak,  esli "volevoj" ob容kt pereneset vnezapnost' napadeniya, to on
v  dal'nejshem  budet  slabo reagirovat' na ostal'nye,  a esli podavat'
nalichnuyu  fakturu  po  mere  narastaniya   ser'eznosti,   to   veroyatno
adaptirovanie  k  nej,  i  samyj  sil'nyj  fakt uzhe ne okazhet dolzhnogo
emocional'nogo vozdejstviya.
     Pri pred座avlenii  kakih-to dokumentov luchshe vsego demonstrirovat'
ih kopii,  chtoby sub容kt vnezapno ne iz座al (s unichtozheniem) originaly,
dazhe esli opasnost' etogo kazhetsya predel'no neznachitel'noj.
     Pri otsutstvii real'nyh dokumentov vozmozhno  blefovat',  soobshchaya,
chto  oni  nalichestvuyut  (hotya  esli ob容kt uveren,  chto ih net,  takie
zayavleniya lish'  usilyat  veroyatnoe  soprotivlenie...),  libo  konkretno
ukazat'  ih  mestonahozhdenie,  proiznesya  s  usmeshkoj,  chto  on  mozhet
poprobovat' iz座at' sej kompromat (eto dovol'no effektivno, ibo rozhdaet
vpechatlenie,   chto   shantazhiruyushchij   uveren  v  svoih  silah).  Vsegda
osteregajtes' blefovat', esli na etom mogut izlovit'.
     Pri ispol'zovanii predpolagaemyh faktov manipulirovat' neobhodimo
predel'no  ostorozhno,  real'no  ogranichivayas'  namekami  i  shutkam   s
vnimatel'nym  otslezhivaniem  reakcij  ob容kta.  Dovol'no  perspektivno
"raskachivanie" cheloveka namekami na nekij ochen' veroyatnyj,  no  sovsem
ne yavnyj fakt;  k reshitel'nomu pressingu pri etom perehodyat lish' posle
poyavleniya sootvetstvuyushchej  reakcii  ob容kta.  V  pred座avlyaemom  nabore
shchekotlivyh  materialov,  predpolagaemoe  nado  razmeshchat'  mezhdu vpolne
nadezhnym.
     Aktivno operiruya   umelo  sfabrikovannymi  faktami,  mozhno  i  ne
skryvat',  chto eto - fabrikaciya,  a inoj raz  utverzhdat',  chto  eto  -
istinnaya  pravda.  Vazhno  prodemonstrirovat' vzaimosvyaz' poddel'nogo i
poshlinnogo  i  ukazat'  na   nevozmozhnost'   obosnovannogo   otricaniya
"faktury",  a takzhe na to,  chto vse vosprimut material imenno tak, kak
polagaet shantazhiruyushchij.
     Pri "atake"  inspirirovannymi  faktami  polezno  v  pike  shantazha
soobshchit' ob容ktu ob podsunutom emu kakom-to kompromate,  zametiv,  chto
sie  lish'  odin  melkij  epizod  iz  serii podobnyh.  Ob容kt mozhet bez
promedleniya  ocenit'  pravdivost'  soobshchennogo  libo   vpryamuyu,   libo
pozvoniv po telefonu.
     Pri vyrazhennyh kolebaniyah individa inoj raz  ne  meshaet  pokazat'
emu  svoyu reshimost' afishirovaniya kompromata putem zvonka po telefonu v
"opasnoe" dlya  shantazhiruemogo  mesto  libo  vkladyvaniya  dokumentov  v
konvert,  na  kotorom  pishetsya  konkretnyj  nezhelatel'nyj dlya cheloveka
adres,  s ugrozoj opustit' ego v pochtovyj yashchik  ili  vruchit'  kur'eru.
Vozmozhen, vprochem, zdes' i blef s pustym, uzhe zakleennym konvertom.
     Obosnovanie togo,    chto    porochashchej     informacii     poveryat,
osushchestvlyaetsya  lish'  v  sluchae,  esli ona ne ochen' nadezhna ili ob容kt
slishkom samouveren.  Zdes' ponachalu  ob座asnyayut  vvidu  chego  soobshcheniyu
poveryat,  a  posle  uzh,  dlya  bol'shej  ubeditel'nosti,  vyskazyvayut  i
vozmozhnye somneniya, vklyuchaya to, kak vse oni oprovergayutsya.
     Opisanie nepriyatnostej,   poluchennyh  ot  razglasheniya  kompromata
imeet smysl lish' v tom sluchae, esli u ob容kta ogranichennoe voobrazhenie
i  yasno,  chto  on  prosto  ne  sposoben  samostoyatel'no ocenit' ugrozu
shantazha.  CHashche vsego,  odnako,  zaprosto hvataet nameka, uchityvaya, chto
voobrazhenie aktivno dorisuet ostal'noe.
     V kontakte s cel'yu shantazha sleduet  vnimatel'no  otslezhivat'  vse
proyavlyayushchiesya  v  lice,  dvizheniyah,  golose  i frazah cheloveka reakcii
nadezhdy  i,  uloviv  ih,  tut  zhe  nejtralizovat'  poslednie   zaranee
podobrannoj argumentaciej.  Mozhno operedit' ob容kt,  obrisovav emu kak
by   prepyatstvuyushchie   shantazhu   meropriyatiya,   posle    chego    vpolne
argumentirovano provernut' ih.
     Poluchiv soglasie  ob容kta  na  sotrudnichestvo,  nado  totchas   zhe
zadokumentirovat'   etot   fakt   (video-   i  audiozapis',  raspiska,
fotografiya...) i (v chastnosti, pri sfabrikovannoj fakture) poprobovat'
razzhit'sya  u  nego  dobavochnoj  komprometaciej  na  samogo  sebya  libo
avtoritetnyh lic v kachestve svidetel'stva iskrennosti soglasiya.


                     po podavleniyu voli cheloveka.

     CHtoby namechennyj   ob容kt  stal  neskol'ko  pokladistee,  polezna
predvaritel'naya podgotovka,  orientirovannaya na podavlenie  ego  voli.
Pri etom primenyayutsya takie tryuki, kak:
     - gruboe terrorizirovanie cheloveka telefonnymi zvonkami (i  dnem,
i   noch'yu),   chastymi   anonimkami   i   neposredstvennym   fizicheskim
vozdejstviem;
     - rasprostranenie  lozhnyh sluhov o yakoby imeyushchemsya sotrudnichestve
zhertvy s konkurentami;
     - fabrikaciya   poslanij  ot  delovyh  partnerov  i  soratnikov  s
ugrozami raspravit'sya za nekoe predatel'stvo;
     - fabrikaciya  poslanij  ot lyubimyh lic,  soobshchayushchih o neozhidannom
razryve otnoshenij;
     - inscenirovka sluchaev, rascenivaemyh kak zloveshchie primety;
     - vozdejstvie na sluhovuyu, nervnuyu i zritel'nuyu sistemy ob容kta s
pomoshch'yu  demoralizuyushchih  soobshchenij (smert' ili arest blizkih,  krazha i
iznasilovanie  rebenka,   uhod   lyubimoj   zheny,   krushenie   real'nyh
nadezhd...),  psihodelichnoj muzyki, shokiruyushchih izobrazhenij (foto zheny v
intim-kontakte s kem-libo...);
     - razlichnye    meropriyatiya    predstavlennye   v   podrazdele   o
zapugivanii...
     Mozhno dovol'no   effektivno   podavlyat'   chuzhuyu  volyu  s  pomoshch'yu
standartnyh medicinskih  preparatov  (durmana,  triftazina,  vasil'ka,
kornya ipekakuany, johimbina, gidrohlorida...). Takie veshchestva ukradkoj
dobavlyayut v pit'e  i  pishchu,  v  rastvore  s  dimeksidom  vnedryayut  pri
kontaktirovanii   s   kozhej,  a  inogda  podsovyvayut  vmesto  obychnogo
lekarstva.

      (7). Vybor momenta i mesta osushchestvleniya central'noj akcii

     Blagopriyatnyj moment dlya provedeniya shantazha obychno voznikaet pri:
     - kratkovremennom  snizhenii  volevyh  kachestv  ob容kta  (v  itoge
podgotavlivayushchih    meropriyatij,    bioritmichnosti    ili     nalichnoj
situacii...);
     - predel'noj nezhelatel'nosti komprometacii dlya  cheloveka  (period
prodvizheniya v kar'ere, blazhenstvo rasslableniya posle uspeha...).
     *Mesto osushchestvleniya  osnovnogo  epizoda*  obychno  vybiraetsya   v
zavisimosti   ot   obstoyatel'stv,  no  v  sootvetstvii  so  sleduyushchimi
trebovaniyami:
     - polnoe otsutstvie lishnih lyudej;
     - nyuansy   obstanovki   niskol'ko   ne   dolzhny    sposobstvovat'
psihologicheskoj podderzhke shantazhiruemogo;
     - u ispolnitelya dolzhna byt' chetkaya  vozmozhnost'  uskol'znut'  pri
atakuyushchej reakcii ob容kta ili drugih voznikshih neozhidannostej;
     - zdes' ne dolzhno byt'  nikakoj  potencial'noj  nepriyatnosti  dlya
zhizni  i  zdorov'ya  shantazhiruyushchego (blizost' zheleznodorozhnogo polotna,
mesto tusovki narkomanov...);
     Akciya shantazha   na   yarkom  fone  toniziruyushchej  ritmichno-marshevoj
melodii neredko  vyzyvaet  usilenie  volevogo  soprotivleniya  ob容kta,
togda kak  fon  rok-muzyki  rozhdaet  agressivnye tendencii.  Naprotiv,
meropriyatiya pri poseshchenii diskoteki byvayut ochen' effektivny, poskol'ku
gromkoe   zvuchanie  i  cvetomuzyka  vozdejstvuyut  podobno  alkogolyu  i
podavlyayut volyu cheloveka, lishaya ego dolzhnoj sobrannosti.
     *Rabotaya v "holodnom" variante vozmozhno*:
     - dogovorit'sya  o  svidanii  po  telefonu,  dejstvuya   ot   imeni
znachimogo lica;
     - "pod容hat'"  k  individu  na  ulice  ili  podsest'  k  nemu   v
restorane;
     - zajti k ob容ktu napryamuyu domoj;
     - razzhigaya   lyubopytstvo   cheloveka,   pozvat'   ego   na   nekuyu
tainstvennuyu  vstrechu  pis'mom,   podpisannym   kakim-to   neizvestnym
adresatom.
     Pri beskontaktnyh sposobah, kak pravilo, ispol'zuyut odnostoronnij
kanal  faksa  i  telefona,  vklyuchaya  sotovuyu  i  kosmicheskuyu  vyaz',  s
obespecheniem  nezasekaniya  svoego  nomera   ("anti-AON"...)   libo   s
ispol'zovaniem  postoronnej  abonentskoj linii bez vedoma ee real'nogo
hozyaina.  V  poslednem  sluchae  proshche  vsego   priobresti   kakoj-libo
radiotelefon  i  vybrav biznes-centr ili "bogatyj dom",  raspolozhit'sya
vozle nego i nachinat' menyat' rabochuyu chastotu,  poka  ona  ne  sovpadet
(orientiruyas' po poyavleniyu gudka...) s parametrami odnogo iz apparatov
stoyashchih v  dannom  zdanii  i  dejstvuyushchih  bez  parolya.  Eshche  nadezhnee
ispol'zovat'   pochti  ne  zasekaemogo  "dvojnika"  zaregistrirovannogo
kem-to sotovogo radiotelefona.


                     pri  raznyh reakciyah ob容kta
                        i veroyatnyh syurprizah

     Hotya predvidet' vse prakticheski nevozmozhno,  polezno  rassmotret'
veroyatnye  reakcii  ob容kta  na  shantazh,  orientiruyas'  po  skladu ego
psihiki i nekotorym precedentam  v  proshlom.  Dlya  kazhdoj  iz  reakcij
cheloveka produmyvaetsya i sootvetstvuyushchee otvetnoe povedenie.
     *Vsegda zhelatel'no predusmotret'*:
     - plan uskol'zaniya s mesta sobytij;
     - pravdopodobnye ob座asneniya na sluchaj zaderzhaniya;
     - kopii vmesto podlinnikov;
     - fizicheskoe prevoshodstvo nad ob容ktom.
     *Pri neudache shantazha vozmozhny*:
     - polnaya diskreditaciya ob容kta (sozdanie precedenta...);
     - chastichnaya diskreditaciya ob容kta, chtoby tot horosho prochuvstvoval
ser'eznost' sobstvennogo polozheniya);
     - zakonservirovanie  situacii (s kanalom svyazi dlya ob容kta na tot
sluchaj, esli on vdrug peredumaet).



     Zapugivanie -  eto  dramatizirovannaya  ugroza   fizicheskogo   ili
psihologicheskogo   nasiliya  nad  chelovekom  i  ego  blizkimi  s  cel'yu
podchineniya ob容kta chuzhoj vole.  V otlichii ot rafinirovannogo  shantazha,
kompromentiruyushchaya informaciya pri etom ne zadejstvuetsya.
     Zapugivanie chashche vsego ispol'zuyut dlya:
     - polucheniya informacii;
     - verbovki;
     - nasil'stvennogo prinuzhdeniya k kakomu-libo dejstviyu;
     - pristrunivaniya    "zarvavshegosya"     ob容kta...     Standartnym
motivatorom   lyudskogo   povedeniya  pri  akciyah  zapugivaniya  yavlyaetsya
real'noe opasenie za:
     - fizicheskuyu bezopasnost' (sebya i svoih blizkih);
     - sohrannost' svoej sobstvennosti;
     - normal'noe funkcionirovanie svoego dela (biznesa, hobbi...).
     *Ispol'zuya chuzhoe chuvstvo straha polezno znat', chto*:
     - izvestny  neskol'ko  gradacij straha:  ispug (pervaya reakciya na
ugrozu),    trevoga    (chuvstvo    neopredelennosti    pri    ozhidanii
neblagopriyatnogo  razvitiya  sobytij),  boyazn' (reagirovanie na real'no
vidimuyu opasnost'), panika (nekontroliruemyj zhivotnyj strah);
     - u  kazhdogo sub容kta sushchestvuet predel psihicheskoj vynoslivosti,
po prevyshenii kotorogo on  ne  sposoben  na  dal'nejshee  soprotivlenie
emocii straha, vpadaya v haoticheskoe povedenie ili kakoe-to ocepenenie;
     - shok, voznikayushchij ot straha, obychno dlitsya ot 15 do 30 minut;
     - fiziologicheskimi   proyavleniyami   straha   yavlyayutsya:  usilennoe
serdcebienie,  drozh',  slabost', myshechnaya zatormozhennost', peresyhanie
rta i gorla,  potlivost',  toshnota,  golovokruzhenie, nehvatka vozduha,
urchanie v  zhivote,  chastye  pozyvy  k  mocheispuskaniyu,  neproizvol'noe
oporozhnenie zheludka i mochevogo puzyrya...;
     - vozdejstvuya na psihiku,  strah vyzyvaet  narusheniya  vospriyatiya,
rasstraivaet  pamyat'  i myshlenie i ne daet vozmozhnosti sosredotochit'sya
na vypolnyaemoj rabote;
     - samyj   sil'nyj   strah   obychno  voznikaet  pri  yavnoj  ugroze
sobstvennoj zhizni i zhiznyam naibolee blizkih cheloveku lic;
     - kogda sub容kt schitaet,  chto est' kakoj-to vyhod iz sozdavshegosya
polozheniya, no on ne mozhet im vospol'zovat'sya - togda voznikaet panika;
     - strah pered neizvestnym vsegda bolee muchitelen, chem strah pered
vidimoj i ponyatnoj opasnost'yu;  kogda lyudi ne znayut,  chto ih  ozhidaet,
obychno ozhidayut hudshego;
     - razzhiganiyu straha sposobstvuet kak vynuzhdennoe bezdejstvie, tak
i utrata nadezhdy i neizvestnost';
     - strah pered  smert'yu  znachitel'no  usilivaetsya  v  processe  ee
ozhidaniya;
     - bolee sklonny vsego opasat'sya lyudi s  rastorgnutymi  v  proshlom
brakami,   a   takzhe   rano   zhenivshiesya  ili  sovershivshie  kakoe-libo
pravonarushenie.
     *Ispol'zuya zapugivanie, uchtite, chto*:
     - rezkoe trebovanie,  dopustimoe po otnosheniyu k  sangviniku  libo
flegmatiku,   sposobno   vyzvat'   vzryv   negodovaniya  u  holerika  i
ugnetennost' u melanholika;
     - ustavshie  fizicheski  ili  moral'no  lyudi znachitel'no pokornee i
podatlivee, chem otdohnuvshie i samouverennye;
     - sub容kty  s  sil'nym  tipom  nervnoj  sistemy pri pereutomlenii
vedut sebya kak lyudi so slabym psihotipom;
     - vnezapnyj  sdvig  v  ustanovivshihsya  vzaimootnosheniyah  u lic so
slabym tipom nervnoj sistemy obychno  vyzyvaet  psihicheskuyu  travmu,  a
proshche govorya,  rasteryannost',  strah i otchayanie; pri sil'nom psihotipe
podobnye reakcii obychno menee proyavleny;
     - cygane,  a takzhe evropejcy s temnymi glazami i volosami zametno
menee podverzheny  strahu,  chem  malye  narody  severa  (chukchi...)  ili
goluboglazye blondiny;
     - chuvstvo bessiliya i straha neslozhno  vyzvat'  himicheskim  putem,
podmeshivaya,  naprimer,  v  tabak  sushenyj  vasilek  libo  vvodya  lyubym
sposobom v organizm (vmeste s pit'em,  ukolom  ili  cherez  kontakty  s
kozhej...) smes' lyuminala s lofoforoj ili gidrohlorid johimbina.





     - prosmatrivaetsya  dos'e  ob容kta s ocenkoj ego veroyatnoj reakcii
na yavnuyu ugrozu;
     - esli   on   trusovat,  planiruetsya  i  vypolnyaetsya  ryad  akcij,
napravlennyh na sokrushenie  ego  voli  (psihologicheskoe  i  fizicheskoe
terrorizirovanie...),  prichem  bez  pred座avleniya  cheloveku  kakih-libo
uslovij i ob座asnenij;
     - pri  osnovnom  kontakte  fizicheskogo  izbieniya  net,  no  chetko
govoryat,  chto ono budet,  esli ob容kt ne podchinitsya pred座avlennym  emu
trebovaniyam.



     - prosmatrivaya  dos'e  ob容kta,  opredelyayut to,  chem on predel'no
dorozhit (k primeru, eto - avtomobil'...);
     - vyskazyvaetsya vezhlivoe delovoe predlozhenie;
     - v sluchae otkaza, osushchestvlyaetsya preduprezhdayushchaya akciya (kanistra
s goryuchim na kryshe garazha...);
     - pri povtornom otkaze,  provoditsya forsirovannoe  preduprezhdenie
(eshche odna kanistra s goryuchim, plyus korobok so spichkami...);
     - esli opyat' otkaz - ugroza tut zhe realizuetsya (garazh  s  mashinoj
szhigayut...) i delaetsya uzhe ne predlozhenie, a trebovanie.



     - prosmatrivaya dos'e ob容kta, otyskivayut tam osobenno blizkih emu
lyudej;
     - protiv  otobrannyh  person  osushchestvlyayut  terroriziruyushchie akcii
stupenchato usilivaemoj agressivnosti;
     - ob容kta  stalkivayut s al'ternativoj:  zhizn' i zdorov'e lyubimogo
lica ili...;
     - esli  "lyubimoe  lico" imeet yavnoe vliyanie na ob容kta,  podobnuyu
al'ternativu mozhno predstavit' i emu;
     - produmyvayutsya  mery,  meshayushchie cheloveku vospol'zovat'sya pomoshch'yu
oficial'nyh ili kriminal'nyh struktur,  libo kuda-to spryatat' znachimoe
lico  (vozmozhno,  vprochem,  rasschitat'  tak,  chto  za  sodejstviem ili
sovetom ob容kt sam obratitsya k vam...);
     - strahuyas'   ot  dal'nejshih  nepriyatnostej,  u  zhertvy  poluchayut
kompromat na samogo sebya ili drugih.



     - prosmatrivaya  dos'e  ob容kta,  opredelyayut  lic   (deti,   zhena,
lyubovnica...) ili  imushchestvo  (zhivotnoe,  kollekciya...),  kotorye  emu
osobo  dorogi,  i  tshchatel'no  prikidyvayut,  imeet  li  kakoj-to  smysl
aktivnost' protiv nih;
     - osushchestvlyaetsya (libo imitiruetsya) popytka  pohishcheniya  izbrannoj
persony (ili veshchi...);
     - ob容ktu soobshchayut o pohishchenii,  postaviv  pered  nim  konkretnuyu
al'ternativu;
     - produmyvayut mery,  prepyatstvuyushchie cheloveku pribegnut' k  pomoshchi
drugih;
     - berutsya pod kontrol'  kontakty  (proslushivanie  telefona...)  i
povedenie (slezhka...) ob容kta;
     - ob容ktu  dostavlyayut  pis'ma,  a  takzhe  audio-  i   videozapisi
pohishchennogo,  s  dusheshchipatel'noj  mol'boj  poslednego o pomoshchi i nekim
podtverzhdeniem  (foto  so   svezhej   gazetoj,   kratkij   kontakt   po
telefonu...), chto tot poka eshche zhiv;
     - ob容kta ochen' konkretno ubezhdayut (otrezannaya  mochka  uha...)  v
ser'eznosti svoih namerenij;
     - pytayutsya dobit'sya ot ob容kta kompromata na samogo sebya ili  ego
blizkih i udostoveryayutsya v real'nosti poluchennogo;
     - zadejstvuyut    raznoobraznye    mery    predostorozhnosti     ot
nepriyatnostej so storony pohishchennogo cheloveka kak svidetelya;
     - po poluchenii zhelaemogo,  pohishchennyj  osvobozhdaetsya,  a  ob容kta
kontroliruyut cherez predstavlennyj im kompromat;
     - (vozmozhen utonchennyj variant,  kogda "lyubimoe lico"  samo  daet
sebya  "pohitit'",  pytayas'  otvesti  ot  glavnogo ob容kta real'nuyu ili
nadumannuyu ugrozu).
     *Pri predvaritel'nom   terrorizirovanii   cheloveka   chashche   vsego
ispol'zuyut takie akcii kak*:
     - "pustye" libo ugrozhayushchie i oskorblyayushchie zvonki po telefonu;
     - razmeshchenie specifichnyh ob座avlenij v gazete ili raskleivanie  ih
na ulice s ukazaniem tam adresa i telefona;
     - zapugivanie delovogo partnera;
     - izbienie kak samogo ob容kta, tak i togo, kogo on lyubit;
     - razygryvanie popytki pohishcheniya, ili pokusheniya;
     - obstrel iz ognestrel'nogo oruzhiya okon kvartiry;
     - porcha ili podryv dverej kvartiry libo ofisa;
     - vtorzhenie s porchej imushchestva;
     - podzhog ili podryv zdaniya (kottedzha,  dachi, garazha, ofisa...), a
takzhe lichnogo avtomobilya;
     - blokirovanie    telefona,    vodosnabzheniya,     otopleniya     i
elektrichestva...
     V improvizirovannyh   variantah   ispol'zuyut   sil'no    pugayushchie
dejstviya,  real'no  ugrozhayushchie  zhizni  dannogo cheloveka i ego blizkih,
prichem period na  obdumyvanie  zdes'  rezko  ogranichivayut.  Konkretika
zadejstvovannogo tryuka opredelyaetsya vozmozhnostyami i izobretatel'nost'yu
ispolnitelya, k primeru:
     - zasovyvanie stvola oruzhiya v uho;
     - nozh poperek gortani s vozmozhnym nadrezaniem kozhi;
     - okatyvanie benzinom i demonstraciya zazhigalki...



     Pytka - eto celenapravlennoe agressivnoe vozdejstvie na individa,
napravlennoe na prichinenie emu sil'nogo fizicheskogo  ili  psihicheskogo
stradaniya.
     Pytku chashche vsego ispol'zuyut dlya:
     - polucheniya informacii,
     - chuvstvitel'nogo nakazaniya,
     - lomaniya  voli  cheloveka.
     Priemy pytochnogo  vozdejstviya  kak  pravilo  soobrazuyutsya  s  ego
potencial'noj   cel'yu,   faktorom  vremeni,  nalichnymi  vozmozhnostyami,
predelom dopustimosti  i,  razumeetsya,  ishodnym  sostoyaniem  ob容kta,
uchityvaya,   chto   povyshennoe   vydelenie   adrenalina   (tipichnoe  pri
proyavleniyah boli) aktivno razrushaet serdce.
     Esli v zapase mnogo vremeni, gumannee i effektivnee zadejstvovat'
malo-pomalu nagnetaemoe davlenie na psihiku v  soprovozhdenii  telesnoj
boli,   kogda  zhe  vremeni  pochti  chto  net  -  proshche  vospol'zovat'sya
primitivnym fizicheskim nasiliem.
     *Ob otnoshenii cheloveka k boli polezno znat', chto*:
     - cygane,  negry, kitajcy i zlostnye professional'nye prestupniki
ponizhenno  vosprinimayut  bol',  a mnogie narody Severa (chukchi,  yakuty,
evenki...) i goluboglazye svetlovolosye evropejcy - perenosyat ee ochen'
ploho;
     - sub容kty sklonnye k obshcheniyu ustojchivee  k  boli,  chem  te,  kto
lyubit odinochestvo;
     - kastraty i narkomany,  ne nahodyashchiesya pod  vliyaniem  narkotika,
muchitel'no perezhivayut bol';
     - strel'cy (23.11 - 21.12)  i  l'vy  (23.07-22.08)  ochen'  boyatsya
boli, togda kak kozerogi (22.12 - 20.01) - uporno ignoriruyut ee;
     - sil'nye emocii (gnev,  gore, polovoe vozbuzhdenie, nenavist'...)
obychno priglushayut bol';
     - pri ozhidanii bolevogo oshchushcheniya chuvstvitel'nost' na bol' zametno
povyshaetsya,  osobenno  esli  sub容kt ves'ma ee ne lyubit libo trusliv i
malodushen;
     - znachitel'naya bol' legko i nadolgo zapominaetsya;
     - ostree vsego bol' ispytyvaetsya noch'yu (pri  maksimume  v  1  chas
nochi...), slabee - dnem, eshche slabee - vecherom;
     - v  osobennosti  chuvstvitel'ny  k  vozdejstviyu:  pul'pa   zubov,
glaznye yabloki, oblast' podmyshek, kozha vek, kosti klyuchic i pah;
     - o tom,  chto chelovek perezhivaet muchitel'nuyu bol' obychno  govoryat
stisnutye  zuby  libo  pronzitel'nye kriki i stony,  vypyachennye glaza,
rasshirennye nozdri,  obil'nyj pot, sil'nye rasstrojstva krovoobrashcheniya
i dyhaniya (pri zatrudneniyah s poslednim bagroveet lico...); kogda bol'
dlitsya slishkom dolgo, vozmozhny takzhe blednost' kozhi, upadok sil, drozh'
i, v konechnom schete, obmorok;
     - znakom  real'nosti  ispytyvaemogo  stradaniya  nado  schitat'  ne
kriki,  a  znachitel'noe  rasshirenie  zrachkov  (pri yavnoj simulyacii oni
zametno ne menyayutsya...).
     Lyuboe pytochnoe  vozdejstvie  dolzhno  byt'  tochno doziruemym,  ibo
kogda ob容kt lishaetsya  soznaniya,  ono  stanovitsya  bessmyslennym.  Dlya
preodoleniya etoj nepriyatnosti zhertvu okatyvayut holodnoj vodoj i vvodyat
ej farmakostimulyatory.



     Pri sokrushenii voli cheloveka  horosho  dejstvuyut  poboi,  a  takzhe
unizitel'nye  oskorbleniya  slovom  i  delom (makanie golovoj v sosud s
der'mom,  promazyvanie  polovym  chlenom  po  gubam,   tak   nazyvaemoe
"opusikanie", ili iznasilovanie...) vnezapno zastavlyayushchie ob容kt ostro
prochuvstvovat' svoyu bespomoshchnost',  nichtozhestvo i unizhenie.  Predel'no
effektiven  variant prinuzhdeniya cheloveka sovershit' kakuyu-libo podlost'
po otnosheniyu k svoim blizkim.
     |ffektivnym priemom  podavleniya  voli  schitaetsya  takzhe  sozdanie
takih situacij,  pri koih zhertva prichinyaet sebe bol' sama.  |to  imeet
mesto, v   chastnosti,  pri  slishkom  dolgom  prebyvanii  v  navyazannyh
staticheskih pozah (stoyanie na noskah,  i nevozmozhnost'  opustit'sya  na
podoshvy  iz-za ostryh shipov pod nimi...) ili kogda svoi zhe sobstvennye
dvizheniya vyzyvayut rezkuyu  muchitel'nuyu  bol'  (beg  golymi  stopami  po
oblomistym kamnyam ili kolyuchkam...).  Inogda na golovu ob容kta nadevayut
metallicheskoe vedro,  otrazhayushchee voznikayushchie v nem zvuki,  i dejstvuyut
na  cheloveka elektroshokom,  pri etom kriki zhertvy stokratno otdayutsya v
ee mozgu i tem ostree, chem sil'nee ona krichit.
     Horosho lomaet  volyu  otklyuchenie  ot  vseh sensornyh razdrazhitelej
(posadka  na  den'-drugoj  v  temnuyu  i  absolyutno  zvukoizolirovannuyu
komnatu...)  libo  znachitel'nyj  izbytok  sveta (ispol'zovanie boksa s
molochno-belymi    odnoobraznymi    stenami    i     yarko     svetyashchimi
prozhektorami...), a takzhe polnoe lishenie ob容kta sna.



     CHashche vsego  eto osushchestvlyaetsya cherez banal'noe izbienie,  kotoroe
mnogo raz proizvoditsya improvizirovannymi sredstvami,  ne ostavlyayushchimi
yavnyh  vneshnih  sledov  (kusok  rezinovogo  shlanga,  nosok zapolnennyj
peskom...) libo special'nymi prisposobleniyami,  rozhdayushchimi potryasayushchuyu
bol' (sdelannye iz dereva lopatki so mnogimi otverstiyami v nih,  pleti
s "krovavymi" uzlami....).
     Na bolevye  nervnye  receptory  sub容kta vozdejstvuyut kakimi-libo
razdrazhitelyami  libo  v  estestvennoj  (hlesty  krapivoj  po   polovym
organam...),  libo v medicinskoj (vpryskivanie pod nogti ili v moshonku
efira...) manerah.  |ffektivno dejstvuyut i vlazhnye  kozhanye  braslety,
szhimayushchie pri vysyhanii pal'cy.
     Ochen' muchitel'no   blokirovanie   dyhaniya,   bez   dovedeniya   do
otklyucheniya soznaniya (ne slishkom dlitel'nye,  sekund po 30,  pogruzheniya
lica pod vodu;  rezkoe otkidyvanie golovy i zalivanie v  nozdri  vody;
zasovyvanie   ob容kta   v   plastikovyj   meshok,   nepronicaemyj   dlya
vozduha...).
     Horosho zarekomendovalo   sebya  ispol'zovanie  elektrotoka  strogo
doziruemoj  velichiny,  chtoby  izlishne  moshchnyj  razryad   ne   obespechil
otklyuchenie  soznaniya  ili nenuzhnuyu smert' (podrobnee ob etom skazano v
razdele  ob  elektroshoke).  Funkcioniruyushchie  elektrody  obychno  krepyat
plastyrem  k  samym  razlichnym  chastyam tela,  vybor kotoryh inoj raz i
opredelyaet  effekt,  realizuemyj  v   itoge.   Tak,   zamykanie   cepi
posredstvom pal'cev raznyh ruk yavno opasnee podobnogo zhe zamykaniya, no
pal'cami odnoj ruki,  ibo v poslednem sluchae  tok  ne  prohodit  cherez
vnutrennie  organy.  Posle ispol'zovaniya elektrotoka vsegda muchitel'no
bolyat vse myshcy i sustavy.



     Tehnika polucheniya  informacii  posredstvom  pytki  osushchestvlyaetsya
razlichnymi putyami, takimi, skazhem, kak:
     - otlavlivanie informacii v processe pytki;
     - podgotovitel'noe   pytochnoe   vozdejstvie   na   cheloveka   dlya
sokrusheniya  ego  voli  bez  zadavaniya  voprosov,  a  posle  uzhe   faza
doznavaniya, bez primeneniya pytki;
     - dopros bez pytochnogo nasiliya,  kotoroe totchas  zhe  primenyaetsya,
esli ob容kt ne pozhelaet govorit' ili obmanyvaet;
     Otlavlivanie informacii v processe pytki chashche vsego  ispol'zuetsya
pri  nedostatke  vremeni  libo  truslivosti  ob容kta.  Inoj  raz zdes'
vozmozhno ogranichit'sya odnoj ugrozoj (podnesenie zazhzhennoj  sigarety  k
telu...),    raskrutkoj    voobrazheniya   ob容kta   (nalichie   pytochnyh
prisposoblenij i   navodyashchie   drozh'   zvuki...)    libo    prostejshim
vozdejstviem  (para  chuvstvitel'nyh  udarov  pod  dyh,  v  pah  ili  v
pechen'...).
     Ochen' effektivno   vnutrivennoe   vvedenie   dozami   do   40  mg
miorelaksanta ditilina (on primenyaetsya pri  operaciyah  s  narkozom,  a
takzhe  pri  otlove  vsyacheskih zhivotnyh,  vklyuchaya,  kstati,  sobak...),
kotoryj rasslablyaet myshcy tela i vremenno paralizuet  ih.  Projdet  ne
bolee minuty, kak serdce stanet bit'sya rezhe, myshcy konechnostej ohvatit
paralich,  nejtralizuyushchij  zatem  vsyu   mezhdurebernuyu   muskulaturu   i
diafragmu.   Ob容kt  pri  etom  prebyvaet  polnost'yu  v  soznanii,  no
yavstvenno  ispytyvaet  oshchushchenie  nadvigayushchejsya  gibeli,   s   aktivnym
proyavleniem neperedavaemogo uzhasa i straha, chto prodolzhaetsya ot 2 do 5
minut.  V tot  moment  kogda  poyavitsya  udush'e,  ot  cheloveka  trebuyut
neobhodimyh  svedenij pod sil'nodejstvuyushchej na nego ugrozoj povtornogo
ukola.
     V eshche  odnoj  metodike  doprosa  sub容kta  vezhlivo  usazhivayut  na
taburet v fiksirovannoj poze na 2-3  dnya,  a  nahodyashchiesya  ryadom  lyudi
uporno  ne  dayut  emu  zasnut'.  V  itoge  vsego etogo ob容kt uzhe ne v
sostoyanii otlichit' real'nost' ot sna i mashinal'no  otvechaet  na  samye
kovarnye voprosy.
     Ne nado zabyvat',  chto svedeniya,  priobretaemye pod pytkoj,  inoj
raz mogut byt' vymyshlennymi;  i zdes' prihoditsya zametno polagat'sya na
intuiciyu i opytnost' doprashivayushchego.
     *V metodikah preodoleniya pytki zadejstvuyut takie sposoby, kak*:
     - sosredotochennost' vnimaniya na yarkom oshchushchenii  boli  s  aktivnym
stremleniem  uvelichit'  ee  do  maksimuma,  pri  koem  ona  bol'she  ne
vosprinimaetsya ("perezhiganie nerva"...);
     - sosredotochennost'  na  parallel'nom  razdrazhitele  (sdavlivanie
promezh zubov chego-libo...);
     - vozbuzhdenie  moguchej  emocii  (yarosti,  nenavisti...) sposobnoj
zablokirovat' impul'sy boli;
     - obespechenie     otklyucheniya    soznaniya    izyskanno-mental'nymi
(posredstvom koncentracii i  mantr...)  ili  grubo-fizicheskimi  (udary
golovoj o stenu...) sposobami;
     - "vyhod v astral" iz svoego  tela  priemami  buddijsko-daosskogo
transa;
     - psihicheskaya transformaciya sebya v ob容kt,  kotoryj ne sposoben k
perezhivaniyu boli (oblako, kamen'...).







     Ne obladaya  podderzhkoj  razlichnyh  politicheskih,  kommercheskih  i
oficial'nyh silovyh struktur kachestvenno provesti kakuyu-libo ser'eznuyu
operaciyu  obychno  udaetsya  tol'ko  skryv  svoyu  istinnuyu  deyatel'nost'
("nelegaly dela"), i svoe istinnoe lico ("nelegaly lichnosti").
     |to otnositsya   kak   k   samodeyatel'nomu   individu,   tak  i  k
neoficial'noj gruppirovke,  special'no sozdannoj dlya resheniya  kakih-to
shchekotlivyh, ne pol'zuyushchihsya vseobshchim odobreniem zadach.
     Takaya zhe problema voznikaet i  togda,  kogda  po  nekoej  prichine
persone    nado   skryvat'sya   ot   razlichnyh   sluzhb   kommercheskogo,
gosudarstvennogo, kriminal'nogo, politicheskogo roda.
     Tipichnym nelegalom  mozhno  stat'  i  namerenno,  i vynuzhdenno.  V
lyubom,  odnako,  sluchae neobhodimo znat' hotya by  minimum  standartnyh
taktik bezopasnosti,  chtoby udachno proskochit' etot period,  ne poteryav
po yavnoj gluposti fizicheskoj ili psihicheskoj svobody,  a  poroj  samoj
zhizni.



     Uroven' ispol'zuemyh  mer strahovki sil'no zavisit kak ot stepeni
zhelaemoj konspiracii cheloveka (ili gruppy),  tak i ot situacii,  sredy
i, razumeetsya, ot vozmozhnostej samih strahuyushchihsya.
     Otdel'nye priemy lichnoj bezopasnosti  dolzhny  stat'  estestvennoj
privychkoj  i  vypolnyat'sya  vne zavisimosti ot potrebnostej siyuminutnoj
situacii.
     Predstavlennoe zdes'  ne  ischerpyvaet vozmozhnyh sredstv obydennoj
strahovki,  kriteriem dlya primeneniya kotoryh vsegda  yavlyayutsya  vysokoe
mnenie o protivnike, i, konechno, zdravyj smysl samih strahuyushchihsya. Net
neobhodimosti "palit' iz pushki po vorob'yam",  no ne meshaet pomnit' to,
chto "berezhenogo Bog berezhet"...
     *Tipichny sleduyushchie vidy bezopasnosti*:
     - VNESHNYAYA (v hode obshcheniya s postoronnimi);
     - VNUTRENNYAYA (pri kontaktirovanii v svoej srede i gruppe);
     - LOKALXNAYA (v razlichnyh situaciyah i dejstviyah).
     Rassmotrim vse eto nemnogo podrobnee.



     Razlichnye nepriyatnosti mogut vozniknut' pri  obshchenii  s  obychnymi
lyud'mi i gosstrukturami,  no mnogoe zdes' mozhno predvidet' i izbezhat',
ispol'zuya banal'nyj princip treh "ne":  ne razdrazhat', ne svyazyvat'sya,
ne vydelyat'sya.
     *Neobhodimo*:
     1. Ne  privlekat' k sebe izlishnego vnimaniya (taktika "rastvoreniya
v srede"):
     - ne  vydelyat'sya  vneshnim  vidom  (obydennaya  strizhka,  prilichnaya
odezhda,  otsutstvie  chego-libo  "kriklivogo";   esli,   odnako,   vashe
okruzhenie ekstravagantno, to - bud'te kak oni...);
     - ne vvyazyvat'sya v ssory i skandaly (eto, vo-pervyh, privlekaet k
vam nenuzhnoe vnimanie,  a,  vo-vtoryh,  mozhet byt' prosto provokaciej,
nacelennoj na zaderzhanie ili "nakazanie");
     - akkuratno vnosit' vse kommunal'nye platezhi i prochie gosposhliny;
vsegda oplachivat' proezd v transporte;
     - starat'sya  tochno  sledovat' risunku izbrannoj social'noj roli i
ne  imet'  pretenzij  po  rabote  (i  ne  vydelyat'sya  tam   na   obshchem
kollektivnom fone...);
     - ne  raspalyat'  navyazchivogo  lyubopytstva  sosedej   neobychnost'yu
obraza zhizni ili vizitami raznyh lyudej;
     - ne  proyavlyat'  izbytochnoj  osvedomlennosti  v  chem-libo,  esli,
konechno,  etogo  ne  trebuet  vasha  rol'  (ne  zabyvajte  drevnih:  "u
bditel'nogo dolzhen byt' zakon o treh net:  "ne znayu", "ne slyhal", "ne
ponimayu").
     2. Ne porozhdat' kakoj-libo nepriyazni  v  sosedyah,  sosluzhivcah  i
znakomyh, a vyzyvat' u nih simpatiyu:
     - ne byt' "beloj voronoj" (lyudej vsegda raspolagaet k  sebe  tot,
kto raskryvaetsya s ponyatnoj im storony...);
     - vyrabotat'  maneru  povedeniya,  ne  vyzyvayushchuyu   u   okruzhayushchih
vozmozhnoj   nastorozhennosti   (izlishnim   lyubopytstvom,   "umom"   ili
navyazchivost'yu...) libo nepriyazni (bestaktnost'yu, zanudstvom, gordynej,
grubost'yu...);
     - byt' rovnym i lyubeznym so vsemi okruzhayushchimi i,  po-vozmozhnosti,
okazyvat' im melkie (no ne lakejskie!) uslugi;
     - ne delat' nichego,  chto mozhet vyzvat' nedovol'stvo i lyubopytstvo
sosedej (hlopan'e dver'yu noch'yu, izbytok posetitelej, vozvrashchenie domoj
na  taksi,  vizity  zhenshchin,  pozdnie  vyzovy  po  telefonu   v   obshchej
kvartire...).
     3. Tshchatel'no kontrolirovat' vse svoi svyazi i  kontakty  (pomnit',
chto "opasnee vsego tot vrag, o koem ne podozrevaesh'"...):
     - hranit' tajny ot svoih blizhnih  (zheny,  druzej,  rodstvennikov,
lyubovnicy...);
     - s  privychnoj  nastorozhennost'yu  ("zachem  i   pochemu?")   vsegda
vosprinimat'  popytki sblizit'sya s Vami (sluchajnoe znakomstvo,  ch'i-to
rekomendacii...);
     - vnimatel'no  otnosit'sya  ko  vsem  rabotnikam  remontnyh sluzhb,
reklamy  i  servisa,  prosmatrivat'  ih  dokumenty   i   vezhlivo,   no
obosnovanno   sveryat'   identichnost'   po   telefonu,   a  zatem  -  u
"sosluzhivcev";
     - byt' ostorozhnym so vsemi,  kto predlagaet kak by "beskorystnye"
uslugi (daet den'gi vzajmy,  aktivno v chem-to pomogaet,  predostavlyaet
po deshevke chto-libo nuzhnoe...).
     4. Vyyasnit' sobstvennye  uyazvimosti  i  znat',  kak  mozhno  zdes'
podstrahovat'sya:
     - proanalizirovat' vsyu svoyu  zhizn'  i  vydelit'  te  somnitel'nye
momenty, kotorye mogut ispol'zovat'sya dlya shantazha ili diskreditacii;
     - real'no ocenit' vozmozhnye posledstviya ot oglasheniya  sih  faktov
vsem tem, komu oni mogut byt' soobshcheny;
     - prikinut', kto i po kakoj prichine sposoben znat' sej kompromat,
i kak vozmozhno nejtralizovat' podobnuyu osvedomlennost';
     - opredelit' ob容kty svoej uyazvimosti (zhenshchina,  deti,  moral'nye
ustoi...) poskol'ku cherez nih na Vas mogut osushchestvlyat' davlenie;
     - vyyavit'  svoi  slabosti  (hobbi,  vino,  seks,  den'gi,   cherty
haraktera...) i pomnit', chto ih vsegda mogut ispol'zovat' protiv Vas.
     5. Ne vvyazyvat'sya v  somnitel'nye  afery  ne  svyazannye  s  obshchim
delom.  V  riskovannye avantyury,  imeyushchie otnoshenie k delu,  vstrevat'
tol'ko pri razreshenii svyshe.



     Kontakty v   sobstvennoj   srede   nel'zya    rassmatrivat'    kak
garantirovanno   bezopasnye.  Pomnite,  chto  "naibol'shij  vred  obychno
poluchaetsya  ot  dvuh  uslovij:  ot   razglasheniya   tajny   i   doveriya
verolomnym".
     1. Sohranenie tajny lichnosti:
     - vzamen  podlinnyh  imen  vsegda ispol'zuyutsya psevdonimy (obychno
imennye,  no takzhe cifrovye,  bukvennye ili "prozvishchnye");  na  kazhdom
napravlenii "igroki" prohodyat pod otdel'nym psevdonimom, hotya vozmozhna
rabota i pod  neskol'kimi  variantami,  a  takzhe  dejstvie  pod  obshchim
psevdonimom neskol'kih raznyh lic;
     - chleny komandy,  po vozmozhnosti,  znayut drug  druga  tol'ko  pod
psevdonimami;  o  podlinnyh  familiyah,  domashnih  adresah  i telefonah
dolzhny byt' osvedomleny lish' doverennye lica;
     - pri   navisayushchej   vozmozhnosti   provala   i  rasshifrovki,  vse
primenyavshiesya psevdonimy, kak pravilo, menyayutsya;
     - ne  sleduet  davat'  komu  by  to ni bylo kakih-libo intimnyh i
prochih svedenij o sobstvennoj persone;
     - pytat'sya sozdavat' (ispol'zuya nameki ili sluhi) vymyshlennuyu, no
vneshne pravdopodobnuyu "legendu" o sebe;
     - nikto  v  gruppe  ne  dolzhen  proyavlyat'  izbytochnogo interesa k
zanyatiyam, privychkam i intimnoj zhizni svoih tovarishchej;
     - nikto  ne  dolzhen  soobshchat'  drugim nikakih dannyh o partnerah,
esli togo ne trebuet nasushchnaya neobhodimost';
     - v  otdel'nyh  sluchayah  imeet  smysl  vizual'no  izmenyat'  oblik
(pricheska,  boroda,  grim,  pariki,  tatuirovki,  cvet  kozhi,  ochki  s
prostymi ili dymchatymi steklami i raznymi opravami,  vstavki, menyayushchie
golos i pohodku...);
     - neobhodimo  obresti privychku ne ostavlyat' posle sebya kakih-libo
material'nyh sledov,  svidetel'stvuyushchih  o  tom,  chto  vy  zdes'  byli
(okurkov,  broshennyh  bumazhek,  sledov ot obuvi,  kontrastnyh zapahov,
zametnyh izmenenij v  obstanovke...).
     2. Sohranenie tajny dela:
     - aktivnye rabochie kontakty podderzhivayutsya so strogo ogranichennym
naborom  lic  (sistema  troek  ili  pyaterok  v zavisimosti ot reshaemyh
zadach...),  pri  etom  sotovarishchi  ne  dolzhny  znat'   chem   konkretno
zanimayutsya partnery;
     - kazhdyj specializiruetsya lish' v dvuh-treh oblastyah,  posle  togo
kak deyatel'nost'yu v odnoj iz nih emu stalo slishkom opasno zanimat'sya -
vozmozhny peredyshka, a takzhe perehod na drugoe napravlenie;
     - neobhodimo   strogo   razlichat'  operativnuyu  i  informacionnuyu
raboty; pust' kazhdyj zanimaetsya lish' svoim delom;
     - luchshe vsego maskiruyut podgotovku k konkretnoj akcii meropriyatiya
po voploshcheniyu drugoj;
     - rasskazyvat'  o  svoej  deyatel'nosti  drugim mozhno tol'ko v tom
sluchae,  esli sie neobhodimo im dlya dela;  pomnit', chto tajna hranitsya
maksimum 5-yu lyud'mi;
     - peredavat'  poluchennuyu  informaciyu  nado  lish'  tem,  komu  ona
zavedomo neobhodima (vykazyvanie izbytochnoj osvedomlennosti v chem-libo
sposobno vyyavit' istochnik informacii,  a  eto  mozhet  privesti  k  ego
nejtralizacii);
     - byt' osmotritel'nym pri zadejstvovanii  sredstv  svyazi,  dayushchih
yavnye vozmozhnosti dlya perehvata informacii (pochtovye poslaniya,  radio-
i telefonnye peregovory...);
     - ni  v  koem  raze ne pisat' otkrytym tekstom v pis'mah real'nyh
adresov, imen i ustanovok,  ne upominat' ih v razgovorah vedushchihsya  na
ulice ili po telefonu;
     - ispol'zovat'  kody  i  psevdonimy  dazhe   pri   vnutrigruppovom
obshchenii, vremya ot vremeni menyaya ih;
     - gruppa dolzhna  imet'  2-3  otdel'nyh  shifra,  izvestnyh  raznym
lyudyam;
     - bol'she rasschityvat' na  pamyat',  chem  na  zapis';  v  poslednem
sluchae nado upotreblyat' svoj lichnyj kod i shifr;
     - starat'sya   ne   imet'   komprometiruyushchih   bumag,   napisannyh
sobstvennym pocherkom ili zhe otpechatannyh na sobstvennoj orgtehnike;
     - v obshchenii s "zasvechennymi" personami vozderzhivat'sya  ot  pryamyh
kontaktov,  ispol'zuya,  esli  ponadobitsya,  pobochnyh  lic  ili  drugie
sredstva svyazi;
     - vsegda   uchityvat'  i  pomnit',  chto  est'  vozmozhnost'  utechki
informacii  ili  predatel'stva  i  byt'  gotovym   k   sootvetstvuyushchim
kontrdejstviyam.



     Luchshej garantiej  uspeha  yavlyaetsya obychno podstrahovka,  i potomu
lyubye  dejstviya  zhelatel'no  osushchestvlyat'  s  uchetom  vseh   vozmozhnyh
nepriyatnostej   so  storony  protivnika  ili  sluchajno  podvernuvshihsya
svidetelej.
     Otdel'nye priemy   obespecheniya   bezopasnosti  (uhod  ot  slezhki,
vyyavlenie  proslushivaniya...)  upominalis'  nami  ranee,  a  zdes'   my
razberem eshche neskol'ko vstrechayushchihsya v praktike standartnyh situacij i
nekotorye mery, orientirovannye na ih prikrytie. Budut rassmotreny:
     1. Obshchie pravila pryamogo obshcheniya.
     2. Ispol'zovanie telefona.
     3. Organizovyvanie vstrech.
     4. "Uhod na dno".



     - starat'sya ne vesti informativnye  besedy  otkrytym  tekstom  na
lyudnoj ulice ili v obshchestvennom transporte;
     - ne sleduet upominat' v otkrytom  razgovore  podlinnyh  familij,
imen,   obshcheizvestnyh  prozvishch  i  adresov,  a  takzhe  ne  upotreblyat'
"vstrevozhivayushchuyu" terminologiyu;
     - ispol'zovat'   dlya   oboznacheniya   otdel'nyh  dejstvij  kodovye
naimenovaniya;
     - samye tajnye aspekty razgovora (podlinnye adresa, paroli, daty)
pishutsya na bumage, kotoraya zatem unichtozhaetsya;
     - neobhodimo  orientirovat'sya  v  tehnicheskih vozmozhnostyah sistem
podslushivaniya i znat' elementarnye mery protivodejstviya im (sm. razdel
o poluchenii informacii...);
     - pri podmechanii odnim iz sobesednikov vo vremya razgovora chego-to
nastorazhivayushchego,  partner  preduprezhdaetsya  osobym slovom ("atas"...)
ili  zhe  zhestom  (palec  k  gubam...)  i  vsya  beseda  perevoditsya   v
nejtral'noe ruslo;
     - esli Vy znaete,  chto Vas podslushivayut, informativnye peregovory
luchshe ne vesti ili ispol'zovat' ih dlya dezinformacii;
     - kogda Vas po vsej vidimosti  "slushayut",  a  poobshchat'sya  vse  zhe
nado,  to pol'zuyutsya uslovnym yazykom, gde bezobidnye predlozheniya imeyut
sovershenno drugoj smysl;  ispol'zuyutsya takzhe frazy, kotorye ne sleduet
uchityvat'  (o nih obychno soobshchaetsya kakim-libo obgovorennym zhestom,  k
primeru,  skreshchivaniem pal'cev...),  a zachastuyu i  standartnye  priemy
(pokashlivanie, vkladyshi vo rtu...) zatrudnyayushchie opoznanie govoryashchego;
     - kogda neobhodimo  obespechit'  polnuyu  tajnu  obshcheniya  v  lyudnom
meste,  ispol'zuyut  metody uslovnoj (neverbal'noj) svyazi,  takie,  kak
yazyk zhestikulyacii,  telodvizhenij  i  zhestov  pal'cami,  a  takzhe  kody
opirayushchiesya  na  atributiku  odezhdy (raznye polozheniya golovnogo ubora,
galstuchnogo  zazhima,  nosovogo  platka...)  ili   na   manipulirovanie
podruchnymi predmetami (chasami, sigaretami, klyuchami...).





     - starat'sya  obgovarivat'  vremya  chuzhih  i  sobstvennyh zvonkov i
ogranichivat' chastotu kontaktov;
     - ne  zloupotreblyat'  besedami po sobstvennomu telefonu (uchityvaya
chto ego mogut proslushivat') i ne davat' drugim bez yavnoj neobhodimosti
svoj nomer (znaya, chto po nemu neslozhno vyjti na Vash adres);
     - uchityvat',  chto slushat' mogut kak ves' telefonnyj razgovor (pri
podklyuchenii na linii...), tak i lish' to, o chem govorite Vy (zalozhennyj
"zhuchok" ili sosedka dver'yu...);
     - polezno vstroit' v apparat prostejshuyu "kontrol'ku" (fiksiruyushchuyu
padenie napryazheniya...) na podklyuchenie k linii chuzhoj apparatury;
     - ispol'zovat' AON (avtomaticheskij opredelitel' nomera),  a luchshe
by "anti-anti-AON",  chtoby  ne  afishirovat'  svoj  nomer  pri  vyzovah
drugih;
     - ne polagat'sya na nadezhnost' lyubyh radiotelefonov;
     - mezhdugorodnie  i prochie fiksiruemye kontakty luchshe osushchestvlyat'
s chuzhogo "nomera" po  sotovomu  "dvojniku"  ili  radioudlinitelyu  (sm.
razdel  o  shantazhe...),  a  takzhe cherez neposredstvennoe podklyuchenie k
lyuboj pare kontaktov v raspredelitel'nom shchite;
     - dlya  bol'shej  tajny  peregovorov  mozhno zadejstvovat' shifratory
(hotya by prosten'kie improvizirovannye inversory i  skremblery),  hotya
primenenie ih sposobno rezko stimulirovat' vnimanie drugih;
     - ne sleduet osobo doveryat' zashchite posredstvom  "zashumleniya"  ili
"pod容ma napryazheniya v linii";
     - esli vy ne  hotite  "rasshifrovyvat'sya"  sobesedniku,  to  mozhno
popytat'sya izmenit' svoj golos (posredstvom mehanicheskih i elektronnyh
shtuchek libo prostym pokashlivaniem,  vytyagivaniem  i  razvedeniem  gub,
perezhimaniem    nosa...)    i    stilisticheskij    risunok   razgovora
(ispol'zovaniem zhargona....);
     - ne  zabyvat',  chto inoj raz proslushivayutsya i telefony-avtomaty,
raspolozhenie kotoryh legko vychislyaetsya, kak i vseh prochih telefonov;
     - esli  chuzhoj  zvonok  Vam  nuzhen,  no  net  zhelaniya  davat' svoi
koordinaty,  ispol'zuetsya promezhutochnyj - s avtootvetchikom  ili  zhivym
"dispetcherom",  kotoryj mozhet libo znat', libo ne znat' (odnostoronnij
variant...) Vash chastnyj nomer - telefon;
     - v   otdel'nyh   sluchayah   vozmozhno  besslovesnoe  ispol'zovanie
telefona, kogda odin, a chashche neskol'ko "pustyh" zvonkov v nekoem ritme
yavlyayut nekotoryj kod;
     - konkretnym signalom inoj raz mozhet sluzhit' prosto  fakt  zvonka
opredelennogo  lica  pri  samom pustyakovom razgovore,  a takzhe kodovoe
upominanie nekih imen pri "oshibke nomerom".



     - ne provodit' delovye razgovory otkrytym tekstom;
     - ne nazyvat' podlinnyh dat, familij, adresov;
     - ispol'zovat' kodovye naimenovaniya otdel'nyh dejstvij;
     - pol'zovat'sya uslovnym yazykom,  v kotorom bezobidnye frazy imeyut
sovershenno drugoj smysl;
     - zvonit'  tol'ko  po neobhodimosti,  hotya vozmozhen takzhe variant
chastyh razgovorov "ne po delu" s odnim i  tem  zhe  chelovekom  (taktika
"rastvoreniya informacii").



     - ves'  dialog vedet partner,  a Vy lish' govorite "da" ili "net",
chtoby ryadom stoyashchie ni kapel'ki ne ponyali i ne uznali;
     - o tom,  chto ryadom postoronnie,  soobshchaetsya otkrytym tekstom ili
slovesnym kodom;  besedu posle etogo dolzhen vesti partner, kotoromu ne
podobaet zadavat' kakih-libo voprosov, trebuyushchih razvernutyh otvetov;
     - kogda imeetsya pryamoj kontrol'  ne  ochen'  druzhestvennogo  lica,
partner  preduprezhdaetsya  ob  etom  obgovorennoj frazoj-kodom (luchshe v
privetstvii...), posle chego ves' razgovor vedetsya v pustoporozhnem libo
v dezinformacionnom stile;
     - esli  odin   iz   sobesednikov   schitaet,   chto   telefon   ego
proslushivayut,  on srazu zhe staraetsya predupredit' ob etom zvonyashchih emu
posredstvom  horosho  izvestnoj  vsem  im  frazy  ("zuby  bolyat"...)  i
razgovor zatem svorachivaetsya v nejtral'noe ruslo.

      G) POLXZOVANIE OBSHCHIM TELEFONOM (V KVARTIRE, NA RABOTE...):

     - kak  mozhno menee ispol'zovat' podobnyj telefon (v osobennosti -
"na priem"),  esli sie ne svyazano s  razygryvaemoj  rol'yu  (dispetcher,
agent po reklame...);
     - zvonit' na dannyj telefon dolzhen odin i tot zhe chelovek;
     - starat'sya ne zvonit' izlishne pozdno i slishkom rano;
     - pri popytke postoronnih identificirovat' golos zvonyashchego  ("Kto
sprashivaet?"...), otvetit' vezhlivo-nejtral'no ("Sosluzhivec"...) i esli
vyzyvaemogo net, totchas prekratit' dal'nejshuyu besedu;
     - v sushchnosti,  neslozhno sdelat' i otdel'nyj telefon, ispol'zuya, k
primeru,  kodovyj razvetvitel',  tak chto pri etom specificheskij  nabor
obshchego  nomera  nadezhno  obespechit  vyzov tol'ko lish' Vashego apparata,
niskol'ko ne zatragivaya sosednij.



     Uroven' trebuemyh v konkretnyh sluchayah mer  bezopasnosti  zavisit
ot zhelaemoj stepeni konspirativnosti kontakta,  ot stepeni legal'nosti
ego uchastnikov i polagaemoj real'nosti kontrolya ego chuzhakami.



     - prismatrivaya  podhodyashchie  mesta  dlya  kontaktirovaniya,   obychno
opirayutsya na principy estestvennosti, obosnovannosti i sluchajnosti;
     - chastye  vstrechi  proshche  vsego  osushchestvlyat'  na  meste  fanovoj
tusovki  (vpisyvayas'  v  ee risunok...),  v zale sportivnoj sekcii,  v
rabochem pomeshchenii...;
     - osobenno  ser'eznye  sobraniya  mozhno  realizovat'  v ohotnich'ih
ugod'yah,  special'no snyatyh dachah,  v banyah,  kurortnyh sanatoriyah, na
vsyacheskih sportivnyh bazah, na plyazhah zagranicy;
     - parnye vstrechi naznachayutsya v metro i skverah,  v tualetah  i  v
avtomobilyah,  na  malo  ozhivlennyh  ulicah i zooparkah,  v muzeyah i na
vystavkah;  peresecheniya v sih mestah ne ochen' ozhidaemy,  a potomu  oni
menee opasnye;
     - sleduet vozderzhivat'sya ot  konspirativnyh  vstrech  v  izvestnom
restorane,  modnom kafe i na vokzale, uchityvaya, chto takie tochki obychno
kontroliruyutsya;
     - vozmozhno  provedenie  "sluchajnyh"  vstrech  v  chastnyh kvartirah
tret'ih lic  po  obosnovannomu  povodu  (pohorony,  yubilej,  "obmyvka"
nekogo sobytiya...);
     - ne  sleduet  osushchestvlyat'  kakih-to  vstrech   (krome   obydenno
privychnyh) v stereotipnyh kommunal'nyh kvartirah;
     - predel'no   ogranichenno   ispol'zovat'   dlya    kontaktirovaniya
sobstvennye kvartiry;
     - v   nekotoryh   sluchayah   imeet   smysl    snyat'    special'nuyu
konspirativnuyu   kvartiru,   po  vozmozhnosti  v  tom  dome,  gde  est'
dubliruyushchij vyhod;
     - osmatrivaya  mesto vstrechi,  vsegda imet' v vidu,  mozhno li tuda
nekontroliruemo proniknut',  i kakim obrazom  ottuda  mozhno  nezametno
uskol'znut';  pomnite  staruyu  istinu:  "Ne  vidya kak ujti - ne probuj
vhodit'!"



     - mesta vozmozhnoj vstrechi obychno obgovarivayut zaranee,  i vsem im
pridaetsya   kodovoe  -  bukvennoe,  cifrovoe  ili  zhe  "obmanchivoe"  -
naimenovanie, prichem neskol'ko na kazhdoe;
     - o namechaemom kontakte drugim soobshchaetsya po telefonu,  pejdzheru,
pis'mom,  a takzhe cherez svyaznika;  - sgovarivayas' o vstreche po  liniyam
"otkrytoj" svyazi,  ispol'zuyut kodovoe naimenovanie mesta,  shifrovannuyu
datu  (k  primeru,  den'  pered  ukazannym)  i  sdvinutoe  vremya   (na
postoyannoe libo skol'zyashchee chislo);
     - do   nastupleniya   namechennogo    sroka    neobhodimo    vydat'
podtverzhdenie kontakta libo otkrytym tekstom, libo signal'noj svyaz'yu;
     - v sluchae,  esli pri vstreche dopustimo  ozhidanie  (na  ostanovke
gorodskogo  transporta,  v  ocheredi  na  avtozapravke...),  zhelatel'no
ukazat' konkretnyj promezhutok vremeni,  posle kotorogo  zhdat'  uzhe  ne
nado.



     - na   mnogolyudnye   sobraniya  sleduet  pribyvat'  ne  skopom,  a
rassredotochivshis' i ne ostavlyaya v odnom meste vse lichnye avtomobili;
     - starat'sya izbegat' prisutstviya na sborah kakih-libo postoronnih
i lishnih lic;
     - ponimaya,  chto  o mnogolyudnyh tajnyh vstrechah skoree vsego budut
znat' i te,  komu  ne  nado,  neobhodimo  nikogda  ne  brat'  s  soboj
kakih-libo    yavno    komprometiruyushchih   veshchej   (oruzhiya,   poddel'nyh
dokumentov...), i pomnit', chto ih mogut inoj raz podsunut';
     - ochen'  zhelatelen kontrol' mesta obshcheniya special'nymi lyud'mi do,
vo vremya i posle vstrechi,  s tem,  chtoby pri neobhodimosti  oni  mogli
predupredit'  o  voznikayushchej  opasnosti po sobstvennym "uoki-toki" ili
ispol'zuya kakie-libo obgovorennye (uchityvaya svoj zahvat) signaly;
     - pri  vsyacheskom kontakte nado prikidyvat',  kakim zhe obrazom Vas
mogut podglyadet' ili podslushat',  upryamo zadavaya sebe kratkie voprosy:
"Gde? Kak? Kto?";
     - osobo tajnye besedy nado osushchestvlyat' v lokal'nyh izolirovannyh
tochkah,    proverennyh    i   podstrahovannyh   na   vse   vozmozhnosti
podslushivaniya, podglyadyvaniya i podryva;
     - zhelatel'no imet' hotya by prosten'kie indikatory,  soobshchayushchie ob
izluchenii radiomikrofonov ili zhe  o  nalichii  u  sobesednika  pishushchego
diktofona;
     - polezno primenenie dazhe "topornyh" iskrovyh glushitelej, a takzhe
generatorov stiraniya magnitnoj zapisi;
     - klassicheskie nelegal'nye parnye vstrechi  vsegda  rasschityvayutsya
do minuty i provodyatsya kak "sluchajnye";
     - chtoby vpritirku prijti na  tochku  vstrechi,  neobhodimo  zaranee
provesti  hronometrazh  dvizheniya  i  dat'  nekotoryj  zapas  vremeni na
vsyacheskie neozhidannosti (perekryvanie marshrutnoj trassy,  privyazyvanie
postoronnego, transportnaya avariya...);
     - kogda  peresechenie  zaplanirovano  na  ulice,  to   ne   meshaet
progulyat'sya   tam   gde-nibud'   za   chas   do   vstrechi,  vnimatel'no
priglyadyvayas' k kazhdomu prohozhemu i vsem parkuyushchimsya avtomobilyam; esli
Vas chto-to nastorazhivaet,  to kontakt neobhodimo otlozhit',  soobshchiv ob
etom svoemu partneru priemami zakamuflirovannoj signal'noj svyazi;
     - pri  vstrechah  s  neznakomymi  personami  poslednih  uznayut  po
opisaniyu ih vneshnego vida,  konkretnoj poze ili  zhestu,  upominaniyu  o
veshchah  uderzhivaemyh  v  rukah,  a  luchshe  vsego  -  po  fotografii,  s
dal'nejshim podtverzhdeniem identichnosti slovesnym (i drugim) parolem;
     - raspolagat'sya  v  stacionare  neobhodimo  tak,  chtoby vse vremya
kontrolirovat' yavnye mesta vozniknoveniya  ugrozy  (skazhem,  v  kafe  -
licom ko vhodu, vidya pri etom to, chto proishodit za oknom i razmeshchayas'
nedaleko ot otkrytogo sluzhebnogo hoda...);
     - pomnit'  i  vypolnyat'  vse  ranee  ukazannye pravila slovesnogo
obshcheniya.



     Byvayut situacii,  vykrutit'sya iz kotoryh vozmozhno  tol'ko  v  tom
sluchae,  esli  vremenno  (a  to  i  navsegda) ischeznut' iz polya zreniya
otdel'nyh lic,  struktur  ili  organizacij  |tot  aspekt  my  zdes'  i
rassmotrim:
     - "uhod   na   dno"   podrazumevaet   libo   polnoe   prekrashchenie
kakih-nibud' napominanij o sebe, libo elementarnoe skryvanie so sborom
sil dlya naneseniya pobednogo udara;
     - reshiv ujti,  nado prikinut':  kto,  kak,  i s kakoj aktivnost'yu
budet iskat'  Vas,  a  potom,  osnovyvayas'  na  takih  predpolozheniyah,
vyrabotat' sposob uskol'zaniya i shemu povedeniya v dal'nejshej zhizni;
     - ujti  mozhno  putem  prostogo  ischeznoveniya,  libo   posredstvom
imitacii  smerti  (neschastnyj sluchaj,  samoubijstvo...),  a inoj raz i
pohishcheniya;
     - pri imitacii smerti vozmozhny varianty namekov (odezhda na beregu
reki...) i svidetelej (razygryvanie tryuka...),  podmeny tela (s uchetom
veroyatnosti  popytki  identifikacii...),  a  v izyashchnoj kombinacii dazhe
inscenirovka   konchiny   s   nalichiem   Vashego   "trupa"   i    chetkoj
zadokumentirovannost'yu etogo fakta;
     - v prostejshem sluchae obychno  ogranichivayutsya  perebazirovaniem  v
drugoe   mesto  zhitel'stva,  nikak  ne  svyazannoe  s  lyubymi  proshlymi
kontaktami i biografiej;  dovol'no perspektivno uskol'zanie za granicu
libo tuda, kuda Vashi protivniki ne ochen'-to hoteli by sovat'sya;
     - na nekij srok pererubayutsya vse lichnye  i  rezko  ogranichivayutsya
delovye kontakty;
     - vzhivanie v novom meste vozmozhno  cherez  zhenshchinu  (zhenit'ba...),
rabotu  (kotiruemaya  special'nost'...)  ili  special'no podgotovlennyj
tryuk (vnezapno obnaruzhivshijsya rodstvennik...);
     - polezno   izmenit'  vse  pasportnye  dannye  (vzyat',  naprimer,
familiyu zheny ili vospol'zovat'sya poddel'nymi bumagami...)  i  hot'  by
neskol'ko - svoj oblik (pricheskoj,  borodoj,  usami,  nalichiem i tipom
ochkov...);
     - v   ser'eznyh  sluchayah  vozmozhny  plasticheskaya  (lico...)  plyus
hirurgicheskaya (pohodka...) operacii, a takzhe gipnoticheskie vozdejstviya
dlya ustraneniya staryh i obreteniya novyh privychek);
     - ne  nado  zabyvat',  chto  sovremennye  metodiki   (k   primeru,
geneticheskaya...)  identifikacii  sposobny  v  lyubom  sluchae ustanovit'
istinu;  vopros lish' v  tom,  sochtut  li  nuzhnym  sim  zanimat'sya  ili
privychno  ogranichatsya  standartnymi  rassprosami vkupe s issledovaniem
dokumentov i fotografij.



     Sohrannost' tajny  nekotoryh  svedenij  vsegda  yavlyaet  ser'eznuyu
problemu,  reshit'  kotoruyu  pytayutsya  samymi  razlichnymi  putyami,  i v
chastnosti - zadejstvuya steganografiyu i  kriptografiyu.  Znat'  hot'  by
minimum podobnyh metodik pozvolit Vam ne tol'ko primenyat' ih dlya sebya,
no i s uspehom raspoznat' popytki drugih person skryt' chto-libo vazhnoe
ot okruzhayushchih.



     Iskusstvo kriptografii  imeet  delo  s  "zatumanivaniem" kakoj-to
informacii.  Zadachi  kriptografii  prosty:  sdelat'   ponyatnoe   (t.e.
"otkrytoe")   soobshchenie   vsecelo  neponyatnym  (t.e.  "zakrytym")  dlya
neposvyashchennogo.  Podobnyj tryuk osushchestvlyaetsya pri pomoshchi kodirovaniya i
shifrovaniya, a to, chto poluchaetsya v itoge - zovetsya kriptogrammoj.
     Lyuboe shifrovanie  proizvoditsya   s   ispol'zovaniem   kakogo-libo
algoritma   (t.e.  posledovatel'nosti  dejstvij)  i  nekotoryh  dannyh
(obychno,  raznodlitel'nogo ryada opredelennyh simvolov, k primeru, bukv
i chisel),  izvestnyh pod nazvaniem klyucha i specifichnyh dlya konkretnogo
soobshcheniya.  Rasshifrovat' sokrytoe poslanie igrayuchi mozhet lish' tot, kto
znaet algoritm i klyuch dlya dannoj kriptogrammy.
     Protivodejstvuyushchaya iskusstvu kriptografii  nauka  nosit  nazvanie
kriptoanaliza.   Ona   pytaetsya  pomoch'  raskryt'  shifr  ili  kod  bez
predvaritel'nogo znaniya konkretnogo klyucha i algoritma.  Takoj  process
izvesten kak deshifrovanie.



     Kodirovaniem nazyvaetsya zamena slova,  gruppy slov, a takzhe celyh
fraz kakim-libo uslovnym slovom ili znakom, gruppoj simvolov. Otkrytye
slova  zdes'  nazyvayutsya  kodovelichinami,  a ih zakrytye ekvivalenty -
kodooboznacheniyami.
     Nabor kodovyh   simvolov   obychno   sostavlyaet   kodovyj  alfavit
(slovar'),  prichem v tablicah kodirovaniya v alfavitnom  poryadke  stoyat
kodovelichiny, a v tablicah raskodirovaniya - kodoboznacheniya.
     Dlya izbezhaniya povtorov v tekste i usredneniya chastot vstrechaemosti
odnomu    kodovomu   oboznacheniyu   neredko   sootvetstvuyut   neskol'ko
kodovelichin,  a   odnoj   kodovelichine   (esli   ona   slishkom   chasto
primenyaetsya...) neskol'ko (2-5) kodooboznachenij.
     Esli pri kodirovanii zhelatel'nogo slova v tablice ne okazyvaetsya,
to onoe kodiruetsya pobukvenno, prichem kazhdaya bukva rassmatrivaetsya kak
nekaya samostoyatel'naya kodovelichina.
     Dlya zatrudneniya  dekodirovaniya  obychno  ispol'zuyut tak nazyvaemye
"pustyshki", t.e.  kodooboznacheniya,  kotorye razbrasyvayutsya  po  tekstu
kriptogrammy,   no   ne  imeyut  nikakovskogo  znacheniya.  Drugoj  meroj
predostorozhnosti yavlyaetsya posleduyushee zashifrovyvanie  (obychno  shiframi
perestanovki) uzhe zakodirovannogo soobshcheniya.
     Vazhnejshie kodovye sootvetstviya polezno hranit' v pamyati, vkraplyaya
ih  pri neobhodimosti v otkrytyj tekst,  a takzhe inoj raz ispol'zovat'
prostejshij akrokod - chtenie pervyh bukv slov,  strok ili kakih-to  tam
chastej  (skazhem,  glagolov...) predlozhenij (k primeru,  fraza "nadobno
eshche trenirovat'sya" chitaetsya kak "net").  V otlichie ot istinnogo  koda,
zashchita v akrokode minimal'na.
     Dlya maskirovki cifr i  dat  neredko  primenyaetsya  tak  nazyvaemyj
primitivnyj kod, v kotorom bukvy klyuchevogo slova chetko privyazyvayutsya k
konkretnym cifram. K primeru, esli slovo-klyuch

     "KNIGOIZDATELXSTVO",
     12345 67890,...
     to data 03.06.97. zapishetsya kak "EIXEZSTDV".

     Pri dekodirovanii kodovyh poslanij ispol'zuetsya  logika  dogadok,
osnovannaya na analize togo,  chem zanimayutsya poslavshie, i chto oni mogut
skazat' o svoem soobshchenii.  Pri etom inoj  raz  ispol'zuyut  lovushki  s
podkidyvaniem  kakoj-to  informacii,  kotoruyu  ta  storona  konechno zhe
zahochet peredat'.  Rassmatrivaya kodogrammu, starayutsya ponyat' strukturu
ee   teksta,   opredeliv   kodooboznacheniya   dlya   znakov  prepinaniya;
uchityvayutsya takzhe povtory i obshcheprinyatye vyrazheniya.
     Korotkoe kodirovannoe  soobshchenie  bez  obladaniya kodovoj tablicej
vskryt' ochen' trudno, a poroj i nevozmozhno.



     Pod shifrovaniem imeetsya v vidu  pereinachivanie  otkrytogo  dotole
teksta   v   zakrytyj   shifrotekst   posredstvom   primeneniya   vpolne
opredelennyh pravil (algoritmov).
     Izvestny dve klassicheskih sistemy shifrovaniya:  shifry perestanovki
i zameny, - kotorye pri etom ochen' chasto sochetayutsya.



     V shifrah  perestanovki  bukvy  (ili  drugie  simvoly)   ishodnogo
soobshcheniya  niskol'ko  ne  menyayutsya,  a  lish' perestavlyayutsya po nekoemu
zakonu, delaya ves' tekst standartno nechitaemym.
     Izvestno mnozhestvo programm podobnyh shifrovanij, no my rassmotrim
harakternyj shifr dvojnoj perestanovki stolbcov i strok.
     Takie shifry  horoshi  dlya  podstrahovki zakodirovannogo teksta ili
otdel'nyh kriptogramm mnogoalfavitnogo shifrovaniya.
     Dlya zashifrovyvaniya dvojnoj perestanovkoj neobhodimo:

     
                               r241.tif

     
                               r242.tif

     - postroit' nekuyu tablicu, formaty kakovoj opredelyayutsya razmerami
dvuh klyuchevyh slov (skazhem,  "gevara" i "risk"),  kotorye vypisyvayutsya
pri etom sverhu i sboku tablicy;
     - v tablicu po opredelennomu marshrutu (k primeru,  "a") zanositsya
ishodnyj   tekst  (tablica  A),  a  neispol'zovannye  mesta  polnost'yu
zapolnyayutsya  lyubymi,  no  luchshe  vsego  chasto  vstrechayushchimisya  bukvami
(zdes': "s", "v", "i");
     - peremestit' stolbcy  v  poryadke,  sootvetstvuyushchem  raspolozheniyu
bukv u verhnego klyucha ("gevara") v obychnom alfavite (tablica B);
     - peremestit' vse stroki  v  sootvetstvij  s  posledovatel'nost'yu
bukv vtorogo klyuchevogo slova ("risk") v alfavite (tablica V);
     - vypisat'  posledovatel'no  bukvy   iz   poluchivshejsya   tablicy,
standartno  razbivaya ih na pyatiznakovye gruppy,  prichem esli poslednyaya
iz nih okazhetsya nepolnoj, ona dopisyvaetsya lyubymi chasto vstrechayushchimisya
bukvami  (otsutstvie  dopiski  mozhet pozvolit' vyyavit' razmer tablicy,
togda  kak  ispol'zovanie  rasprostranennyh  bukv  nemnogo   zatrudnit
deshifrovanie). Nash shifrotekst: "PEAAN RSIES VSEME EZHNMI.)
     Pri rasshifrovyvanii kriptogrammy sleduet  dejstvovat'  kak  by  s
konca:
     - shifrovka vpisyvaetsya v  tablicu  opredelyaemogo  dlinami  klyuchej
razmera;  stolbcy i stroki v nej posledovatel'no numeruyutsya, a izbytok
bukv otbrasyvaetsya (tak poluchaetsya tablica V);
     - stroki  raspolagayut  v  sootvetstvii  s  poryadkom  nomerov bukv
bokovogo klyuchevogo slova (tak poluchaetsya tablica B);
     - stolbcy  perestavlyayutsya  soglasno numeracii bukv verhnego klyucha
(tak poluchaetsya tablica A);
     - bukvy  vypisyvayutsya  v  stroku,  sleduya  obgovorennomu marshrutu
zapolneniya-chteniya.
     Dlya deshifrirovaniya shifra takogo tipa neobhodimo:
     - predpolozhit', chto zdes' ispol'zovan obychnyj shifr perestanovki v
ego tablichnom variante;
     - poprobovat' chtenie cherez  fiksirovannoe  ili  skol'zyashchee  chislo
bukv, pytayas' vyyavit' kakie-to zakonomernosti;
     - prikinut' dopuskaemyj razmer tablicy,  orientiruyas', k primeru,
na kolichestvo bukv v tekste;
     - vyyavit' znaki harakternyh bigramm (st, ms...) i sopostavit' vse
imeyushchiesya rasstoyaniya mezhdu ih sostavlyayushchimi v zakrytom shifrotekste; te
rasstoyaniya, kotorye osobo vydelyayutsya, ravnyayutsya chislu strok v shifrovoj
tablice;
     - uchityvaya  maloveroyatnost'  sochetaniya  otdel'nyh   bukv,   mozhno
poprobovat' najti real'nuyu posledovatel'nost' stolbcov;
     - teper' netrudno pravil'no rasstavit' vse  stroki,  orientiruyas'
po smyslu poyavlyayushchihsya fragmentov teksta.
     SHifry perestanovki ne slozhny dlya  opytnogo  deshifrovshchika  (a  tem
bolee  dlya  |VM!),  hotya  pri  kratkih tekstah vozmozhno i nepravil'noe
(anagrammnoe) osmyslennoe prochtenie.



     V podobnyh shifrah kazhdaya iz bukv v otkrytom tekste  podmenivaetsya
kakoj-to  drugoj  bukvoj  ili simvolom,  prichem poryadok samih bukv pri
etom ne menyaetsya.
     Zamena mozhet  byt' kak odnoznachnoj (v shifrah prostoj zameny,  gde
kazhdoj bukve sootvetstvuet lish' odin simvol),  tak i  mnogoznachnoj  (v
shifrah   mnogoalfavitnoj   zameny,   gde  kazhdoj  bukve  sootvetstvuyut
neskol'ko simvolov);  kak odnobukvennoj (poocherednaya zamena  bukvy  na
bukvu),  tak  i mnogobukvennoj (sistemy s zashifrovyvaniem odnovremenno
dvuh i bolee bukv).
     SHifry prostoj zameny legko deshifruyutsya pri dlitel'nosti teksta ne
menee dvuh-treh alfavitov putem analiza chastot  vstrechaemosti  bukv  i
cherez znanie tipichnyh sdvoennyh znakov, sochetanij i okonchanij.
     SHifry so sdvigom alfavita na nekotoroe fiksirovannoe  chislo  bukv
("shifr Cezarya") chitayutsya predel'no prosto, ispol'zuya, k primeru, metod
polosok,  na kazhdoj iz kotoryh nanesen  standartnyj  alfavit.  Poloski
zdes'   prikladyvayut   drug   k   drugu  tak,  chtoby  vyshlo  slovo  iz
kriptogrammy,  posle  chego  dvigayas'  vdol'  nih  nahodyat  osmyslennoe
prochtenie, opredelyaya takim obrazom velichinu namerennogo sdviga.
     Na praktike imeet smysl ispol'zovat' mnogoalfavitnoe shifrovanie s
tak nazyvaemym "tekuchim" alfavitom,  zadejstvuya kakuyu-libo knigu,  ili
mikrokal'kulyator (MK).
     *a) Pri shifrovanii s primeneniem knigi obychno dejstvuyut sleduyushchim
obrazom*:
     - beretsya ekzemplyar opredelennoj knigi i raskryvaetsya na klyuchevoj
stranice (podobnyj klyuch mozhet  privyazyvat'sya  k  date,  summiruemoj  s
nekim  chislom,  ukazyvat'sya  gde-nibud'  v  shifrovke libo peredavat'sya
drugim putem);
     - idut raschety s otmetkoj nomera strochki i nomera trebuemoj bukvy
v etoj stroke (kazhdaya bukva takim obrazom kodiruetsya vechno  menyayushchimsya
chetyrehznachnym chislom, uchityvaya nol' u odnoznachnyh);
     - poluchennye chisla gruppiruyutsya v pyaterki;
     - dlya  nekotorogo  uslozhneniya  shifra  mozhno nachinat' schitat' ne s
pervoj, a sovsem s drugoj (obgovorennoj, razumeetsya...) stroki;
     - dlya  oblegcheniya  nahozhdeniya  strok ispol'zuyut bumazhnuyu polosku,
prikladyvaemuyu vertikal'no k levomu krayu lista s prostavlennoj  v  nej
numeraciej vseh strochek.
     *b) Ispol'zovanie pri shifrovanii mikrokal'kulyatora*  osnovano  na
poluchenii s ego pomoshch'yu posledovatel'nosti sluchajnyh chisel,  togda kak
procedura zashifrovyvaniya provoditsya po  principu  sistemy  odnorazovyh
shifrobloknotov. Dejstvuyut zdes' po standartu tak:
     - otkrytyj tekst vypisyvaetsya  v  stroku,  i  nizhe  kazhdoj  bukvy
pomeshchaetsya ee dvuznachnyj nomer v poryadke alfavita (A-01,  B-02, V-03 i
t.d.);
     - pod  cifrovym  ekvivalentom  posledovatel'no  zapisyvayutsya  vse
znaki  nekoej  sluchajnoj  chislovoj   posledovatel'nosti,   vzyatoj   iz
shifrobloknota libo poluchennoj kakim-to drugim obrazom;
     - chisla   iz   verhnej   (otkrytoj)    i    nizhnej    (sluchajnoj)
posledovatel'nostej  skladyvayutsya  po  modulyu  10  (t.e.  bez perenosa
edinicy; skazhem, 17+25=32);
     - poluchennyj   slozheniem  shifrotekst  standartno  razbivaetsya  na
pyatiznakovye gruppy;
     - chisla  obychno  ne shifruyutsya,  a otdelyayutsya ot bukvennogo teksta
kakim-libo alfavitnym znachkom (skazhem, "/");
     - dlya   obreteniya   nechitaemosti   uzhe   ispol'zovavshijsya   kusok
chisloposledovatel'nosti ni v koem raze ne zadejstvuetsya vtorichno.
     *Pri procedure rasshifrovyvaniya vse operacii provodyatsya v obratnoj
ocherednosti*:
     - ves' shifrotekst raspisyvaetsya na pary chisel;
     - pod   nimi   tshchatel'no   vypisyvayutsya   vse   znaki    klyuchevoj
chisloposledovatel'nosti, analogichnoj primenyavshejsya pri zashifrovyvanii;
     - iz znakov shifroteksta poparno vychitayutsya (po modulyu  10)  znaki
sluchajnoj klyuchevoj posledovatel'nosti;
     - poluchennye pary chisel perevodyatsya v ih bukvennyj ekvivalent.
     Dlya polucheniya   sluchajnoj   (tochnee   skazat'  "psevdosluchajnoj")
posledovatel'nosti posredstvom  mikrokal'kulyatora  mozhno  ispol'zovat'
razlichnye priemy, vrode klassicheskih takih:
     - berut kakoe-libo chetyrehznachnoe chislo (skazhem,  5997), vozvodyat
ego   mikrokal'kulyatorom   v  kvadrat  (35964009),  a  iz  poluchennogo
rezul'tata (35964009) vypisyvayut srednie cifry (9640), rassmatrivaya ih
kak  sluchajnye;  teper' uzhe eti "sluchajnye" vozvodyat v kvadrat i snova
vydelyayut iz poluchennogo rezul'tata seredinu i  t.d.  (postroennaya  tak
posledovatel'nost'  cherez  desyatki ili sotni znakov - v zavisimosti ot
ishodnogo chisla - klyucha - obychno povtoryaetsya,  no pri korotkih tekstah
vpolne mozhet rassmatrivat'sya kak sluchajnaya);
     - ispol'zuyut MK s funkciej generirovaniya psevdosluchajnoj chislovoj
posledovatel'nosti  (k  primeru,  "|lektroniku MK-61"...);  v registry
kal'kulyatora zdes' vvodyat kombinaciyu kakih-to vos'miznachnyh chisel (eto
- klyuch shifra!),  posle chego pri nazhimanii nuzhnoj klavishi na indikatore
vysvechivayutsya   znaki    dolgoperiodnoj    psevdosluchajnoj    chislovoj
posledovatel'nosti.



     Prochityvanie zashifrovannogo   teksta   bez   predstavleniya  kakim
obrazom on  zashifrovan,  trebuet  zheleznoj  logiki,  intuicii,  znaniya
lingvisticheskoj statistiki. Otdel'nye nyuansy deshifrirovaniya konkretnyh
shifrov  upominalis'  nami  ranee,  a  teper'  my  privedem   neskol'ko
dopolnitel'nyh soobrazhenij.
     Sistemu shifra  (perestanovka,  zamena...)   pytayutsya   opredelit'
metodikoj    chastotnogo   analiza,   vyyavlyaya   sravnitel'nuyu   chastotu
prisutstviya razlichnyh bukv i sravnivaya ee s  izvestnym  etalonom  (sm.
tablicu 1).
     Znachitel'nuyu pomoshch'   v   rasshifrovyvanii   dayut    tablicy    po
vstrechaemosti  dvuh  bukv  (bigramm),  a  takzhe znaniya o vstrechaemosti
otdel'nyh bukv v nachalah i v koncah razlichnyh slov (k  primeru,  bukva
"P" chasto imeetsya v nachalah slov,  no redka v ih okonchaniyah, togda kak
"Y",  naoborot,  lyubit konec i krajne redko mozhet byt'  v  nachale...).
Polezen  budet  i  slovar'  dlya  predugadyvaniya  slov po ih izvestnomu
nachalu.
     Ves'ma ispol'zuem  priem  s  popytkoj  prosto  ugadat' kakoe-libo
(podpis', termin...) slovo v kriptogramme, v osobennosti, esli leksika
poslaniya  izvestna.  Zatem  cherez vychitanie predpolagaemogo slova (ili
frazy)  iz  shifroteksta,  mozhno  poprobovat'  najti   klyuch   k   shifru
mnogoalfavitnoj zameny.
     Deshifrovanie sistem shifrobloknotov i MK  vozmozhno  pri  povtornom
primenenii     kakogo-libo     iz    uchastkov    sluchajnoj    chislovoj
posledovatel'nosti  (grubejshaya  oshibka!).  Pri  etom  vychtya  iz  odnoj
shifroposledovatel'nosti  druguyu,  mozhno osvobodit'sya ot klyucha,  imeya v
rezul'tate raznost' dvuh sovershenno nezakrytyh tekstov.  Predpolozhiv v
odnom iz nih kakoe-libo veroyatnoe slovo,  poslednee pytayutsya "slozhit'"
s imeyushchejsya "raznost'yu".  Pri  pravil'nom  ugadyvanii  v  etom  sluchae
stanovitsya chitabel'nym i vtoroj tekst.
     Ataka na  razlichnye  slozhnye  shifry  dovol'no  chasto  zavershaetsya
vskrytiem  shifra  prostoj  zameny,  a  etot  shifr  ne  ochen'  slozhen v
rasshifrovyvanii vvidu izbytochnosti teksta.
     Opyt, priobretaemyj  pri  rasshifrovyvanii  odnoj  sistemy  obychno
slabo   pomogaet   pri   deshifrirovanii   drugoj,   i   zdes'    luchshe
vospol'zovat'sya  |VM,  hotya  pri  slishkom  bol'shoj  dlitel'nosti klyucha
mashina mozhet vydat' i sluchajnye osmyslennye,  hotya sovsem ne  istinnye
kuski yakoby deshifrirovannogo teksta.



     V osnove  etogo iskusstva lezhit popytka skryt' samo sushchestvovanie
sekretnogo soobshcheniya,  a potomu ego priemy zasluzhivayut samogo shirokogo
upotrebleniya.  Zdes'  mogut byt' ispol'zovany:  "podkladochnoe pis'mo",
kogda  zapis'  sokryta  kakoj-libo  zashchitnoj   obolochkoj,   "hobbijnoe
kodirovanie",   s   ispol'zovaniem   krossvordov,  muzykal'nyh  not  i
shahmatnyh partij, "zhargonnye shifry", v kotoryh vrode by nevinnye slova
imeyut sovershenno drugoj smysl...
     *Orientiruyushchimi primerami  dannyh  metodik  (ostaviv  v   storone
vozmozhnosti, davaemye elektronikoj...) mogut sluzhit'*:
     - zapis' nakolom bukv v konkretnom meste nekoj knigi  ili  gazety
(koncy slov otmechayutsya pri etom nakolom mezhdu bukvami);
     - soobshchenie kakih-to dannyh (nabor tovarov,  optovye  ceny...)  v
opredelennom poryadke;
     - pis'mo posredstvom  uzelkov,  gde  kazhdaya  iz  bukv  kodiruetsya
razmerom  v santimetrah (A-1 sm,  B-2 sm...) ili v diametrah mizinca i
otmechaetsya otdel'nym uzelkom na  nitke  ili  na  obvyazyvayushchem  svertok
shpagate; chitayut tekst namatyvaya nitku na palec;
     - zapis'  na  bokovoj  poverhnosti  kolody  kart,  podobrannyh  v
konkretnom poryadke (koloda posle etogo tasuetsya);
     - zapisi  na  oborotnoj  storone  etiketok  flakonov,  banok  ili
butylok;
     - tekst pod nakleennoj pochtovoj markoj;
     - zapis' na vnutrennej poverhnosti spichechnoj korobki, kotoraya dlya
etogo razlamyvaetsya, a posle skleivaetsya po novoj;
     - zapis'  vnutri  varenogo  yajca  (berut smes' kvascov,  chernil i
uksusa,  zapisyvayut eyu to,  chto neobhodimo na skorlupe obychnogo  yajca,
kotoroe potom vyderzhivayut v krepkom rassole ili uksuse, chtoby stravit'
sledy s ego poverhnosti;  yajco zatem varyat vkrutuyu,  prichem ves' tekst
okazyvaetsya sverhu belka pod skorlupoj);
     - zadejstvovanie  "isporchennoj"  pishushchej   mashinki,   v   kotoroj
nekotorye bukvy stavyatsya vyshe ili nizhe stroki (uchityvayut zdes' poryadok
i chislo etih bukv,  a takzhe promezhutki ih poyavleniya;  v kode  vozmozhen
variant azbuki Morze);
     - zapisi ot ruki not v notnoj tetradi (noty imeyut zdes'  znachenie
po azbuke Morze ili inomu kodu);
     - zapisi   v   vide   kardiogrammy   ili   zhe   grafika    nekogo
tehnologicheskogo processa (zdes', pri ispol'zovanii azbuki Morze, piki
povyshe oznachayut,  skazhem,  tochki, a te chto nizhe - tire, chertochki mezhdu
zubcami  soobshchayut  o  razdele  mezhdu bukvami,  razryvy linii fiksiruyut
konec slova);
     - zapisi   lish'   v  vertikal'nyh  stolbcah  cel'no  zapolnennogo
krossvorda (gorizontal'nye stroki pri  etom  zapolnyayutsya  proizvol'no,
samo zhe soobshchenie mozhet byt' libo pryamym, libo kodirovannym);
     - zapisi  po  trafaretu,  pri  koih  na  list   pochtovoj   bumagi
nakladyvayut trafaret s vyrezannymi v nem okoshkami, sleduya po kotorym i
vpisyvayut  istinnoe  soobshchenie;  vse  ostal'noe   prostranstvo   zdes'
tshchatel'no zapolnyaetsya "pustym" soderzhaniem,  tak,  vprochem chtoby slova
podlinnoj informacii  chetko  vhodili  v  tekst  yasnogo  maskirovochnogo
poslaniya;
     - shifr "Ave Mariya",  v kodovom variante kotorogo kazhdomu slovu, a
poroj i fraze stavyatsya v sootvetstvie neskol'ko slov yavnoj religioznoj
tematiki,  tak chto peredavaemoe soobshchenie vyglyadit  kak  specificheskij
tekst duhovnogo soderzhaniya.



     Upotreblenie simpaticheskih   (nevidimyh)   chernil   podrazumevaet
zapis' nerazlichimuyu v obychnyh obstoyatel'stvah,  no poyavlyayushchuyusya  posle
himicheskoj ili fizicheskoj proyavki. |to est' variant steganografii.
     Process upotrebleniya horoshih simpaticheskih chernil (ne  govorya  ob
ih izgotovlenii...) vklyuchaet sleduyushchie nyuansy:
     - zapis' vedetsya na liste bumagi povyshennogo  kachestva  tonkim  i
dlinnym derevyannym ostriem,  propitannym nuzhnymi chernilami (k primeru,
zubochistkoj ili  spichkoj  v  obkrutke  vatoj),  tonen'kim  sterzhen'kom
flomastera,  libo  tonkoj kistochkoj;  glavnoe,  chtoby dannoe "pero" ne
carapalo bumagu;
     - i  do,  i posle napisaniya list tshchatel'no razglazhivaetsya s obeih
storon po raznym napravleniyam myagkoj  materiej,  skryvaya  tajnopis'  v
poverhnostnom sloe bumagi;
     - list s tajnopis'yu  obrabatyvaetsya  parom,  a  posle  zazhimaetsya
mezhdu  stranicami  ob容mnoj knigi i horosho vysushivaetsya.  Ezheli na nem
poyavyatsya sledy ot "himii" ili oni budut  vidny  pod  ul'trafioletovymi
luchami - zapis' brakuetsya;
     - esli vse v poryadke - to na liste so skrytoj  informaciej  pishut
otkrytoe  pis'mo  ili  zhe  nekuyu  druguyu  bezobidnuyu  fakturu (skazhem,
stihotvorenie...).
     Strahuyas' ot   lyubitel'skih  popytok  vyyavit'  tajnopis'  metodom
"tyka",  mozhno  zadejstvovat'  razlichnye  ulovki,   vklyuchaya,   skazhem,
nitrovanie   bumagi   (vspyhnet  pri  izbytochnom  nagreve...)  ili  zhe
vypolnenie   zapisi    "svetoperom"    (svetodiodom...)    na    ochen'
chuvstvitel'noj k svetu bumage (napisannoe ischezaet na fone ot zasvetki
pri osveshchenii dnevnym svetom...).
     Dlya proyavleniya  tajnopisi  nado  vospol'zovat'sya  sootvetstvuyushchim
reaktivom i podobayushchej metodikoj. Sam proyavitel' zdes' nanositsya cherez
kasanie  -  protirku  gubkoj (vatnym tamponom),  cherez obryzgivanie iz
pul'verizatora,   ili   drugim   dostupno-optimal'nym   sposobom.    V
temperaturnyh  variaciyah  zadejstvuyut  proglazhivanie utyugom ili nagrev
vozle elektrolampochki.
     *V kachestve  priemlemyh  chernil  dlya tajnopisi mozhno ispol'zovat'
ochen'  mnogie  iz  podvorachivayushchihsya  pod  ruku  veshchestv*:  lekarstva,
bytovuyu himiyu,  otdel'nye  produkty  i  dazhe  chelovecheskie  vydeleniya.
Korotkij spisok simpaticheskih chernil podobnogo roda s  upominaniem  ih
proyavitelya predstavlen nami nizhe.  Suhie veshchestva zdes' rastvoryayutsya v
vode ili zhe v spirte, a koncentraciya sostava ustanavlivaetsya na opyte.
     1. Pivo  i  beloe  vino  -  pepel  sozhzhennoj bumagi (tekst slegka
uvlazhnyaetsya dyhaniem...).
     2. Saharnaya  voda  i  fabrichnyj  yablochnyj sok - pepel bumagi (pri
uvlazhnenii teksta).
     3. YAblochnyj  sok (pri "makanii" v yabloko) i moloko (razbavlennoe)
- nagrev.
     4. Sok luka i bryukvy - nagrev.
     5. Pishchevaya limonnaya kislota - benziloranzh.
     6. Piramidon (v spirtovom rastvore) - nagrev.
     7. Vyazhushchie sredstva dlya dezinfekcii rta i glotki - nagrev.
     8. Aspirin - soli zheleza.
     9. Fenolftalein - vsyakaya  razbavlennaya  shcheloch'  (skazhem,  gashenaya
izvest'...).
     10. Kvascy - nagrev.
     11. Sernaya (akkumulyatornaya) kislota (pri 10-15%) - nagrev.
     12. Vosk (hot' kak-to zaostrennyj fragment  svechi...)  -  kal'ciya
karbonat, ili zubnoj poroshok (posypat' i stryahnut').
     13. Stiral'nyj poroshok - svet  lampy  ul'trafioleta  (skazhem,  ot
probnika valyuty...).
     14. Slyuna - ochen' razbavlennye vodoj chernila.
     15. Mocha - nagrev.
     16. Krov' - (pri izryadnom razbavlenii) -  slabyj  (0,1%)  rastvor
lyuminola ( 1 ch) s dvuukglekisloj sodoj (5 ch).
     Ochen' udobnym sposoben okazat'sya inoj raz metod  tak  nazyvaemogo
"vodyanogo davleniya",   sleduya   kotoromu   nado   smochit'  vodoj  list
nelinovannoj bumagi i  pomestit'  ego  na  nekuyu  steklyannuyu  podlozhku
(skazhem,  na  zerkalo...).  Na  etot list kladut drugoj suhoj bumazhnyj
list,  i zatem tverdym karandashom ili  gustym  sterzhnem  ot  sharikovoj
ruchki  pishut  neobhodimyj  tekst.  Poka  bumaga  vlazhnaya - tekst budet
viden,  a kak tol'ko ona vysohnet -  ischeznet.  Posle  togo  kak  list
stanet suhim,  na nem nerastvorimymi v vode chernilami pishut kakoe-libo
maskirovochnoe poslanie. CHtoby sokrytoe soobshchenie poyavilos', nado vsego
lish' sunut' list v lyubuyu vodu i tut zhe vytashchit' ego obratno.





     Nalichie special'noj  apparatury  sposobno rezko uvelichit' delovoj
potencial razvedchika v lyuboj slozhnoj igre.
     Oficial'naya prodazha  takih  veshchichek chastichno ogranichena,  hotya na
dikom rynke mozhno najti kak firmennye obrazcy, tak i topornye poddelki
otechestvennyh fal'sifikatorov.
     Oni mogut imet' znachitel'nuyu cenu,  ne sootvetstvuyushchie  obeshchaniyam
parametry i rasshifrovannye dannye, igrayushchie na ruku vashim protivnikam,
osobenno esli postavka sdelana po individual'nomu zakazu.
     Izlishnie kontakty sposobny privesti k nenuzhnym nepriyatnostyam.  No
ochen' chasto mozhno obojtis'  dovol'no  primitivnymi  sredstvami  vpolne
samostoyatel'nogo   izgotovleniya.   Drugimi   povodami   dlya   podobnoj
samodeyatel'nosti mogut sluzhit' vnezapno  voznikayushchaya  neobhodimost'  i
ogranichennye vozmozhnosti finansovogo ili situacionnogo roda.
     Shemy predstavlennoj nizhe spectehniki predlozheny M.  SHustovym, G.
Taem   i   prochimi   otechestvennymi   i   zarubezhnymi   lyubitelyami   i
professionalami.  (Poleznuyu dopolnitel'nuyu  informaciyu  na  etot  schet
mozhno  najti,  k  primeru,  v spravochnoj knige V.I.  Andrianova,  V.A.
Borodina, A.V. Sokolova "SHpionskie shtuchki" (Spb. "Lan'", 1996).

     
     Ris. 1 - r255.tif

     
     Ris. 2 - r255.tif

     
     Ris. 3 - r256.tif

     
     Ris. 4 - r257.tif

     
     Ris. 5 - r258.tif

     
     Ris. 6 - r259.tif

     
     Ris. 7 - r260.tif

     
     Ris. 8 - r261.tif

     
     Ris. 9 - r262.tif
     Indikatory dlya nahozhdeniya nuzhnoj telefonnoj linii
     a) na  neonovoj  lampe  (trubka  polozhena  -   gorit   v   pryamom
napravlenii  i  ne  gorit v obratnom;  trubka snyata - ne gorit v lyubom
polozhenii;  vyzov - vspyshki pri protivopolyarnosti);
     b) na  svetodiode (vspyshka pri vyzove).

     
     Ris. 10 - r263.tif
     Indukcionnye otvodki dlya telefonnoj linii
     a) s  ispol'zovaniem  serdechnika ot ferritovoj antenny (katushka -
600 vitkov P|L 0,06 mm);
     b) s  ispol'zovaniem  bronevogo serdechnika (pri podklyuchenii chashki
razdvigayut i odna  zhila  linii  vstavlyaetsya  vovnutr'  magnitoprovoda;
katushka - 600 vitkov P|L 0,06 mm).

     
     Ris. 11 - r264.tif
     Shemy posledovatel'nyh radiozhuchkov
     a) diapazon:  65-108 MGc;  dal'nost': 10-15 m; L1-8V, 0,5 d=4,L2-
3V, d=0,5;

     
     Ris. 11 - r265.tif
     Shemy posledovatel'nyh radiozhuchkov (prodolzhenie)
     b) diapazon:  65-108 MGc;  dal'nost':  do 300 m;  antenna:  kusok
provoda 15-60 m, L1 - 2+2V, 0,5 zh 5; L2 - 2V 0,5 poverh L1.

     
     Ris. 12 - r266.tif
     Telefonnyj radiozhuchok s kvarcevoj stabilizaciej  chastoty,  dayushchij
izluchenie lish' pri snimanii telefonnoj trubki.
     Diapazon: 65-108 MGc (zavisit ot chastoty kvarcevogo  rezonatora);
dal'nost': do  600  m;  antenna:  kusok  provoda  30-50 sm,  svernutyj
spiral'no, L1-7V 0,8 d=8 mm, L1-L2 - 100V 0,1 na MLT 0,25 > 100 kOm; 7
vitkov provoda P|L 0,8 (ili analogichnogo), diametr katushki 8 mm.

     
     Ris. 13 - r267.tif
     Shemy prostejshih radiozakladok (f-66-74 MGc)
     a) L1-6V 0,5 d=4mm ili 1,5mm;
     b) L1-15V 0,5 d=4 mm; L2 -100V 0,1 na oblomke spichki;

     
     Ris. 13 - r268.tif
     Shemy prostejshih radiozakladok (f-66-74 MGc) (prodolzhenie)
     v) L1-6+6B 0,4 d=4mm.

     
     Ris. 14 - r269.tif
     Shema avtomaticheskogo   zapuska   magnitofona   v  moment  snyatiya
telefonnoj trubki

     
     Ris. 15 - r270.tif
     Shema, vklyuchayushchaya magnitofon pri poyavlenii zvukov golosa
     (vstraivaetsya v   magnitofon,    vrezayas'    v    cep'    pitaniya
(stabilizatora)  dvigatelya;  "A"  i  "B"-k  pereklyuchatelyu roda raboty,
chtoby na "A" podavalsya "+" pri "vosproizvedenii" i "peremotke" ,  a na
"B" - signal s vyhoda usilitelya zapisi.)

     
     Ris. 16 - r271.tif
     Universal'nyj usilitel' nizkoj chastoty,  rabotayushchij s mikrofonami
i indukcionnymi otvodkami

     
     Ris. 17 - r272.tif
     Improvizirovannyj "igol'chatyj" mikrofon

     
     Ris. 18 - r273.tif
     Shema elektroshokera-paralizatora





                     1. Tipy  vzryvnyh  ustrojstv
                   [Po knige  S.A.  Ivlieva  i  dr.
     "Poisk i obezvrezhivanie vzryvnyh ustrojstv" (Moskva, 1996).]

     VU mogut  byt' samymi raznoobraznymi kak po vneshnemu vidu,  tak i
po principu dejstviya.
     Naprimer, VU v vide sumki,  kejsa,  chemodana mogut vzorvat'sya pri
popytke sdvinut' ih s mesta, podnyat', otkryt'.
     Vzryv mozhet  proizojti  i  v  rezul'tate srabatyvaniya kakogo-libo
mehanicheskogo   ili   elektromehanicheskogo   vzryvatelya   zamedlennogo
dejstviya,  bez neposredstvennogo vozdejstviya na predmet,  po istechenii
zadannogo vremeni zamedleniya.
     Esli VU imeet radiovzryvatel', to vzryv takzhe mozhet proizojti bez
kontakta so vzryvnym ustrojstvom v lyuboj moment  vremeni  po  komande,
peredannoj po radio.
     Vzryv mozhet byt' osushchestvlen  po  provodam  elektrovzryvnoj  cepi
putem podklyucheniya kakogo-libo istochnika toka.
     Bol'shoe rasprostranenie     poluchili     vzryvnye     ustrojstva,
srabatyvayushchie  pri  vklyuchenii  radiopriemnika,  televizora  ili drugih
predmetov  bytovoj  tehniki,   rabotayushchih   ot   elektricheskoj   seti.
Vklyucheniem   etih   ustrojstv   zamykaetsya   elektrovzryvnaya  set',  v
rezul'tate  chego  srabatyvaet  elektrodetonator  ili  elektrozapal   i
proishodit vzryv zaryada VV.
     V avtomobile vzryvnoe ustrojstvo  mozhet  srabotat'  pri  povorote
klyucha zazhiganiya ili dazhe v tot moment,  kogda klyuch vstavlyaetsya v zamok
zazhiganiya libo vklyuchayutsya potrebiteli energii (fary, steklopod容mniki,
stekloochistiteli i t.d.).
     V avtomobile  vzryvatel'  mozhet  byt'  ustanovlen   v   vyhlopnoj
kollektor   dvigatelya,  v  glushitel'.  Pri  etom  zamykanie  kontaktov
proizojdet   posle   nagreva   chuvstvitel'nyh   elementov   vzryvatelya
(kontaktov) do opredelennoj temperatury.
     Mogut ispol'zovat'sya  takzhe   vzryvnye   ustrojstva   s   chasovym
mehanizmom.   CHasy   byvayut   mehanicheskie,   elektromehanicheskie  ili
elektronnye. Takie vzryvnye ustrojstva v sostoyanii srabatyvat' v lyuboe
ustanovlennoe zaranee vremya.

       2. Posledovatel'nost' obezvrezhivaniya vzryvnyh ustrojstv

     Obezvrezhivanie vzryvnogo ustrojstva ili lokalizaciya vzryva dolzhna
proizvodit'sya  podgotovlennymi   minerami-podryvnikami   ili   drugimi
obuchennymi  specialistami  posle  udaleniya  lyudej  iz  opasnoj  zony i
vystavleniya ocepleniya.
     Esli tol'ko   predpolagaetsya   nalichie   vo  vzryvnom  ustrojstve
radiovzryvatelya,  neobhodimo s pomoshch'yu special'nyh mehanizmov  sozdat'
radiopomehi   v  shirokom  diapazone  chastot.  Zatem,  priblizivshis'  k
predmetu (ob容ktu),  ostorozhno ukrepit' na kakih-libo vystupayushchih  ego
chastyah verevku,  imeyushchuyu na konce kryuchki,  karabiny i t.p.  Iz ukrytiya
(iz-za kolonny, iz kolodca) natyanut' verevku (lin', provod) i sdvinut'
predmet  s  mesta.  Vse  eti dejstviya dolzhen provodit' odin chelovek vo
izbezhanie neopravdannyh  zhertv,  v  tom  chisle  v  rezul'tate  razleta
oskolkov.
     Pri takom  vozdejstvii   na   vzryvnoe   ustrojstvo   srabatyvayut
natyazhnye,  obryvnye,  razgruzochnye,  vibracionnye  i  prochie elementy,
privodyashchie vzryvateli v dejstvie.
     Esli vzryva   ne  proizoshlo,  to  stepen'  opasnosti  znachitel'no
umen'shaetsya:  radiovzryvatel'  podavlen  postavlennymi  radiopomehami,
provokaciya   srabatyvaniya   natyazhnyh,   obryvnyh  i  drugih  elementov
vzryvatelej ne dala rezul'tata,  chto svidetel'stvuet ob ih  otsutstvii
ili nerabotosposobnosti po kakim-libo prichinam.
     Krome togo,  vo  vzryvnom   ustrojstve   mogut   nahodit'sya   eshche
vzryvateli,   srabatyvayushchie   ot   izmeneniya  magnitnogo  polya  Zemli,
akusticheskogo signala v opredelennom  diapazone  chastot,  harakternogo
zapaha  cheloveka  ili drugogo zhivotnogo,  a takzhe vse tipy vzryvatelej
zamedlennogo dejstviya.
     Vo vzryvnom    ustrojstve,   estestvenno,   dolzhen   byt'   zaryad
vzryvchatogo veshchestva, zapah kotorogo v sostoyanii obnaruzhit' special'no
obuchennaya   sobaka   minnorozysknoj   sluzhby   (MRS)  ili  specialist,
ispol'zuyushchij dostatochno slozhnuyu apparaturu, a imenno gazoanalizator.
     Poetomu dal'nejshie   dejstviya   po   obezvrezhivaniyu   VU   dolzhny
nachinat'sya s posylki sobaki MRS k mestu  raspolozheniya  podozritel'nogo
predmeta.  Obychno sobaka obuchena takim obrazom, chto pri obnaruzhenii VV
(zaryada VV) ona saditsya ryadom s predmetom.
     Esli obnaruzhen zaryad VV i, sledovatel'no, vzryvnoe ustrojstvo, to
rukovoditel'  rabot  prinimaet  reshenie  na  ego  obezvrezhivanie   ili
unichtozhenie.   Unichtozhenie  vozmozhno  v  tom  sluchae,  esli  opasnost'
razrushenij  ili  povrezhdenij  vzryvom  minimal'na,  a   poteri   lyudej
polnost'yu isklyuchayutsya.



     *Dlya obezvrezhivaniya   vzryvnogo  ustrojstva  primenyayut  razlichnye
sredstva i sposoby*.
     Odnoj iz  poslednih  otechestvennyh  razrabotok  yavlyaetsya kompleks
blokirovki vzryvnyh ustrojstv,  v dal'nejshem nazyvaemyj  blokiratorom.
On  ustanavlivaetsya na zashchishchaemom transportnom sredstve i prednaznachen
dlya zashchity zhizni voditelya i passazhirov.
     Blokirator vzryvnyh  ustrojstv perekryvaet garantiruemyj diapazon
radiochastot,  tem samym blokiruya distancionnoe upravlenie izvestnyh  i
teoreticheski perspektivnyh razrabotok sistem vzryvnyh ustrojstv.
     Kompleks polnost'yu  avtomatizirovan.  |to  pozvolyaet  blokiratoru
avtomaticheski nachinat' svoyu rabotu i vremenno zaderzhivat' otklyuchenie v
interesah obespecheniya bezopasnosti vyhodyashchih iz transportnogo sredstva
passazhirov i voditelya,  a takzhe vklyuchat' zatem avtosignalizaciyu. Vremya
blokirovki    otklyucheniya    kompleksa    proporcional'no    rasstoyaniyu
bezopasnosti (r 50 m) ot avtomobilya.
     Princip dejstviya   kompleksa   osnovan   na   podavlenii   raboty
priemnikov podryva (RVU) special'nymi shirokopolosnymi signalami pomeh,
posylaemymi peredatchikom. Diapazon raboty obespechivaet podavlenie vseh
izvestnyh i perspektivnyh chastot distancionnogo upravleniya vzryvom.
     Dlya umen'sheniya neravnomernosti spektra signalov  pomeh  primenena
original'naya  shirokopolosnaya  shlejfovaya  antenna,  prednaznachennaya dlya
izlucheniya s metallicheskih poverhnostej.
     Kompleks malogabariten.   Ego   ekspluataciya   vozmozhna   kak   v
stacionarnom,  tak i v mobil'nom rezhime pri nalichii lyubyh vozmozhnostej
elektropitaniya  (pod  zakaz).  V  mobil'nom  rezhime  vozmozhna stykovka
kompleksa s bol'shinstvom sistem ohrannoj signalizacii otechestvennogo i
zarubezhnogo proizvodstva.
     Dlya otdel'nyh vidov radioupravlyaemyh vzryvnyh ustrojstv,  imeyushchih
nizkuyu  imitostojkost',  ne isklyuchen samopodryv vo vremya ego ustanovki
terroristom pri rabotayushchem komplekse blokirovki.
     Odnako v  zone  zashumleniya  perestayut  rabotat'  radioelektronnye
pribory  bytovogo  naznacheniya  (veshchatel'nye   priemniki,   televizory,
radiostancii v rezhime priema, pejdzhery i t.p.).
     Orientirovochnaya cena blokiratora kolebletsya  v  predelah  700-900
dollarov  SSHA  (v  zavisimosti  ot  tipa  zashchishchaemogo avtomobilya,  pod
zakaz).
     Ne rekomenduetsya  afishirovat'  fakt  ustanovki na svoj avtomobil'
kompleksa blokirovki dejstviya vzryvnyh ustrojstv.



     Demaskiruyushchie priznaki vzryvnogo ustrojstva  obuslovleny  glavnym
obrazom sleduyushchimi faktorami:
     - nalichiem VV v konstrukcii vzryvnogo ustrojstva;
     - nalichiem     antenny     s    radiopriemnym    ustrojstvom    u
radioupravlyaemogo VU;
     - nalichiem    chasovogo   mehanizma   ili   elektronnogo   tajmera
(vremennogo vzryvatelya);
     - nalichiem provodnoj linii upravleniya;
     - nalichiem lokal'no raspolozhennoj massy metalla;
     - neodnorodnostyami vmeshchayushchej sredy (narushenie poverhnosti grunta,
dorozhnogo pokrytiya,  steny zdaniya,  narushenie cveta rastitel'nosti ili
snezhnogo pokrova i t.d.);
     - nalichiem  teplovogo  kontrasta   mezhdu   mestom   ustanovki   i
okruzhayushchim fonom;
     - harakternoj formoj VU.
     Vzryvnoe ustrojstvo  soderzhit  kak pravilo ot neskol'kih desyatkov
grammov do neskol'kih kilogrammov VV.  Poetomu  VU  v  principe  mozhno
obnaruzhit'   putem   registracii   gazoobraznyh   isparenij  produktov
medlennogo   razlozheniya   ili   ispareniya   VV.   Registraciya    mozhet
osushchestvlyat'sya s pomoshch'yu himicheskogo, massspektrometricheskogo i drugih
sposobov. Koncentraciya  parov  VV  dostigaet  10-7  -   10-8   g/l   u
poverhnosti  grunta  nad  mestom  ustanovki  protivotankovoj miny (pri
polozhitel'noj temperature), nahodyashchejsya na glubine 5 sm. Vblizi VU bez
maskiruyushchego  sloya  koncentraciya  parov  VV  mozhet  byt'  na neskol'ko
poryadkov vyshe.
     Himicheskij sposob  obnaruzheniya  VV  realizuetsya   v   aerozol'nyh
testah.  Naprimer, otechestvennyj komplekt aerozolej "Expray" (OST-731)
pozvolyaet obnaruzhit' prakticheski vse vidy VV (trotil, tetril, dinamit,
nitroglicerin,  nitrocellyulozu, oksid pikrina). Nalichie togo ili inogo
cveta, kotoryj proyavlyaetsya na testovoj bumage, pozvolyaet dokazat', chto
v   proveryaemom   ob容kte   (kejse,  korobke,  pis'me)  nahoditsya  VV.
Provedenie polnogo testa zanimaet ne bolee minuty.



     Sleduet otmetit',  chto v nastoyashchee  vremya  luchshim  detektorom  VV
yavlyaetsya  sobachij  nos.  Special'no  obuchennye  sobaki minno-rozysknoj
sluzhby sposobny izbiratel'no obnaruzhivat' ves'ma malye kolichestva  VV.
Pri  etom  zaryad  VV  mozhet byt' v grunte,  bagazhe passazhirov,  kejse,
avtomobile  i  t.d.  K  sozhaleniyu,  effektivnost'  poiska  zavisit  ot
psihofiziologicheskogo   sostoyaniya   sobaki.  Sobaki  dolzhny  postoyanno
trenirovat'sya.  Propuski v rabote ili  trenirovke  bolee  1-2  mesyacev
nedopustimy. Pri vysokoj temperature (svyshe +25-30 'C) sobaki sposobny
rabotat' ne bolee 30-40 minut,  a zatem trebuetsya  otdyh  v  teni  kak
minimum v techenie 1-2 chasov. ZHelatel'no, chtoby pri poiske VV sobaku ne
otvlekali postoronnie lyudi, shum tehniki i t.d.
     Obnaruzhenie radioupravlyaemyh   VU   mozhet   osushchestvlyat'sya  putem
ispol'zovaniya    metoda    nelinejnoj    radiolokacii.    Sushchestvuyushchie
otechestvennye  perenosnye pribory nelinejnoj lokacii "Oktava",  "Ob'",
"Onega",  a takzhe zarubezhnye  pribory  prednaznacheny  dlya  obnaruzheniya
ustrojstv,  soderzhashchih poluprovodnikovye elementy (tranzistory, diody,
mikroshemy i t.p.) v  svoej  konstrukcii.  |lektronnaya  shema  ob容kta
poiska  (VU)  mozhet nahodit'sya kak vo vklyuchennom,  tak i v vyklyuchennom
sostoyanii.  S pomoshch'yu etih priborov  vozmozhno  takzhe  obnaruzhenie  VU,
soderzhashchih elektronnye tajmery (vremennye vzryvateli).
     Ob容kty poiska  mogut  raspolagat'sya   v   poluprovodyashchej   srede
(grunte,  vode,  rastitel'nosti),  a  takzhe  v stenah zdanij,  stolah,
vnutri  avtomobilej  i  drugih  mestah.  Poisk  zatrudnen   tol'ko   v
neposredstvennoj   blizosti  ot  |VM,  faksov,  nekotoryh  sovremennyh
telefonov i drugih ustrojstv, soderzhashchih poluprovodnikovye radiodetali
v  svoej konstrukcii.  Pribory nelinejnoj lokacii sostoyat iz antennogo
ustrojstva (na teleskopicheskoj shtange) i priemo-peredayushchego bloka. Dlya
rasshireniya  takticheskih  vozmozhnostej  pribora v priemnom i peredayushchem
ustrojstvah predusmotrena  regulirovka  kak  chuvstvitel'nosti,  tak  i
moshchnosti.  Kontrol' rabotosposobnosti pribora osushchestvlyaetsya s pomoshch'yu
nelinejnogo imitatora.
     Pribory nelinejnoj  lokacii  rabotayut  kak pravilo v decimetrovom
diapazone radiovoln.  Ih harakternye  razmery  sostavlyayut  0,2-0,4  m,
massa -  do  4-8  kg.  Dal'nost'  obnaruzheniya  VU  s radioelektronnymi
ustrojstvami - do 1,5-2  m.  Vremya  raboty  ot  avtonomnyh  istochnikov
pitaniya - do 4-6 chasov.
     Vprochem, neobhodimo otmetit',  chto v otdel'nyh  sluchayah  vozmozhen
podryv prostejshih neekranirovannyh samodel'nyh radioupravlyaemyh VU pri
podnesenii k nim  vplotnuyu  antennogo  ustrojstva  pribora  nelinejnoj
lokacii.  Za  rubezhom vypuskayutsya special'nye perenosnye "unichtozhiteli
bomb" (Bomb Ranger),  podryvayushchie radioupravlyaemye VU  putem  bystrogo
perebora   vozmozhnyh   komand   upravleniya  na  rasstoyanii  do  1  km.
Ustanovlennyj zaranee v ohranyaemyj avtomobil' on vyzovet podryv  VU  i
spaset zhizn' vladel'ca avtomobilya.



     Vzryvnye ustrojstva  s  chasovym  zamykatelem  (vzryvatelem) mogut
obnaruzhivat'sya putem ispol'zovaniya portativnyh  kontaktnyh  mikrofonov
(fonendoskopov). |ti pribory pozvolyayut snimat' akusticheskuyu informaciyu
cherez steny,  potolki i drugie ograzhdayushchie konstrukcii vokrug VU.  Dlya
snizheniya   urovnya   vneshnih  shumov  datchik  neobhodimo  zakreplyat'  na
germetike v teh mestah ograzhdayushchih konstrukcij, gde oni ton'she vsego i
ne ochen' plotny.
     Provodnye linii  upravleniya  VU  mozhno  obnaruzhivat'  v   polevyh
usloviyah  putem primeneniya perenosnyh elektromagnitnyh kabeleiskatelej
(R-210, R-480 - SSHA i t.p.). Oni vklyuchayut v sebya peredayushchij i priemnyj
bloki,  zakreplyaemye na koncah nesushchej shtangi dlinoj  1-1,4m.  Rabochie
chastoty 40-100 kGc. Glubina obnaruzheniya nahodyashchihsya v grunte kabel'nyh
linij upravleniya - do 1 m. Raschet - 1 chelovek, skorost' vedeniya poiska
- do 2-3 km/ch. Massa priborov - do 4-6 kg.
     Metallicheskie elementy  konstrukcii  VU  mogut  obnaruzhivat'sya  s
primeneniem perenosnyh i stacionarnyh ("vorota")  metalloiskatelej.  V
nih   ispol'zuyutsya   dva   metoda   obnaruzheniya   -  indukcionnyj  ili
magnitometricheskij. Pervyj obespechivaet obnaruzhenie kak cvetnyh, tak i
chernyh  metallov.  Vtoroj  - tol'ko chernyh (stal' i ee splavy),  no on
bolee chuvstvitelen, chem pervyj metod.
     Naprimer, otechestvennye    indukcionnye   portativnye   detektory
metallov AKA-7202  (massa  0,4  kg)  i  "STERH-92AR"  (massa  1,5  kg)
obespechivayut   obnaruzhenie  pistoleta  na  rasstoyanii  do  0,4-0,6  m,
avtomata -  do  1-1,2  m.  Bolee  chuvstvitel'nyj  pribor  "STERH-92AR"
obespechivaet  krome  togo  selekciyu  predmetov  na  chernye  i  cvetnye
metally.  Dal'nost' obnaruzheniya metallicheskih  predmetov  v  grunte  i
presnoj  vode  prakticheski  takaya zhe,  kak i v vozduhe.  Otechestvennyj
metalloiskatel' arochnogo tipa ("vorota"),  marka OST-751,  sluzhit  dlya
obnaruzheniya  metallicheskih  predmetov pri prohode cherez dvernoj proem,
arochnuyu  peregorodku  i  t.d.  Vozmozhna   nastrojka   chuvstvitel'nosti
neposredstvenno  na  konkretnyj predmet (granatu,  pistolet,  holodnoe
oruzhie i dr.).  SHirina arochnogo proema 90-120 sm.  Pribor prednaznachen
dlya  ispol'zovaniya  v  bankah,  ofisah,  tamozhennyh  sluzhbah  i drugih
organizaciyah  dlya  presecheniya  nesankcionirovannogo  pronosa   oruzhiya,
apparatury, vzryvnyh ustrojstv, dragocennyh metallov.
     Ves'ma udobny   i   nadezhny    v    ekspluatacii    ferrozondovye
metalloiskateli     firmy     FERSTER     (Germaniya),     ispol'zuyushchie
magnitometricheskij  metod   obnaruzheniya.   Iz   naibolee   miniatyurnyh
zarubezhnyh   indukcionnyh  metalloiskatelej  sleduet  otmetit'  pribor
LBD-105 (SSHA),  prednaznachennyj dlya bystrogo  osmotra  lyudej,  bagazha,
ofisnoj mebeli i t.p.  v celyah obnaruzheniya VU, strelkovogo i holodnogo
oruzhiya.
     Neodnorodnosti vmeshchayushchej   sredy   v  meste  ustanovki  VU  mozhno
registrirovat'   s   pomoshch'yu   spektrozonal'nyh   i    polyarizacionnyh
portativnyh   opticheskih   priborov.   Podobnye   perenosnye   pribory
ispol'zuyutsya v  stroitel'stve  dlya  distancionnogo  kontrolya  kachestva
razlichnyh  konstrukcij  (zhelezobetonnyh i metallicheskih balok,  opor i
t.d.).
     V nochnoe     vremya     effektivno    primenenie    malogabaritnoj
teplovizionnoj  apparatury,  obladayushchej  razreshayushchej  sposobnost'yu   v
desyatye doli gradusa Cel'siya.
     Vzryvnye ustrojstva,   ustanovlennye   v   grunte,   mogut   byt'
obnaruzheny takzhe s ispol'zovaniem shchupov.  Nakonechniki shchupov neobhodimo
izgotavlivat' iz tverdyh nemetallicheskih materialov (sitalla i  t.p.),
chto  isklyuchit  podryv  pri  ispol'zovanii  protivoshchupnyh elektricheskih
zamykatelej.
     Harakternye priznaki   formy   vzryvnyh   ustrojstv   i   oruzhiya,
nahodyashchihsya  v  bagazhe,   mozhno   vyyavlyat',   ispol'zuya   stacionarnuyu
rentgenovskuyu apparaturu,  rabotayushchuyu na "prohod".  Ona ispol'zuetsya v
sankah, ofisah i drugih mestah.
     Neobhodimo otmetit',   chto   ni  odin  iz  rassmotrennyh  metodov
obnaruzheniya ne mozhet v polnoj mere obespechit'  nadezhnost'  obnaruzheniya
VU.   Celesoobrazno   kompleksno   ispol'zovat'   metody  i  poiskovuyu
apparaturu.  Naibol'shaya bezopasnost' obespechivaetsya pri etom  za  schet
primeneniya teleupravlyaemoj robotizirovannoj tehniki.




                           [Glavy iz knigi
           A.E. Tarasa "Bezopasnost' biznesmena i biznesa"
                           (Minsk, 1996).]



     Zakonodatel'stvo razreshaet grazhdanam ispol'zovat' dlya  samozashchity
pnevmaticheskoe  i  gazovoe  oruzhie.  Na  pervoe  ne trebuetsya nikakogo
razresheniya.  No i tolku ot  nego  nikakogo.  |to  igrushka.  Na  vtoroe
trebuetsya poluchit' "dobro" v milicii. Pravda, dannoe vedomstvo sdelalo
vse  ot  nego  zavisyashchee,   chtoby   otbit'   zhelanie   obrashchat'sya   za
sootvetstvuyushchim   dokumentom.   No   esli   vy  terpelivy,  energichny,
nastojchivy,  ne  obrashchaete  vnimanie  na  takie  melochi,  kak  hamstvo
chinovnikov v mundirah,  ih,  myagko govorya,  formalizm i glubokuyu k vam
nepriyazn', to v konce-koncov, cherez mesyac ili dva ezhednevnyh usilij vy
poluchite neobhodimuyu bumazhku.  I smozhete togda kupit' gazovuyu "pushku",
tochnuyu  kopiyu  boevoj  modeli.  Skoree  vsego,  eto  budet   "mauzer",
"Val'ter"   ili   kakoj-nibud'   drugoj   obrazchik  slavnoj  oruzhejnoj
promyshlennosti Germanii. Ceny dlya bogatyh bolee chem dostupnye: 200-300
dojchmarok, razve eto den'gi?
     Vot tut i voznikaet vopros: kakaya vam ot gazovogo pistoleta (libo
revol'vera) pol'za?  YA vyskazhus' po dannomu povodu rezko: pol'za pochti
nulevaya,  vred ochen' bol'shoj.  Delo v tom,  chto kogda vy  dostaete  iz
karmana  ili  kobury svoe neubojnoe oruzhie,  vneshne ono vyglyadit tochno
tak zhe, kak "nastoyashchee", boevoe. Sledovatel'no, lyuboj prestupnik reshit
(i   chisto  tehnicheski  budet  vpolne  prav),  chto  vy  sobralis'  ego
pristrelit'. Sledovatel'no, emu ne ostanetsya nichego drugogo, krome kak
primenit'  svoe oruzhie pervym (vystrelit',  metnut' nozh,  sbit' s nog,
nakonec).  Posle etogo vy uzhe ne  smozhete  emu  dokazat',  chto  hoteli
vsego-navsego "vzyat' na ispug", a ne kalechit' i, tem pache, ne ubivat'.
Zapomnite:  gazovoe  oruzhie   v   rukah   oboronyayushchegosya   provociruet
prestupnikov na bolee reshitel'nye i zhestokie dejstviya.
     CHto kasaetsya porazhayushchih harakteristik,  to oni u gazovogo  oruzhiya
krajne  nizkie.  Osobenno  na  otkrytom vozduhe,  gde gaz stremitel'no
rasseivaetsya, i gde proishodit bol'shinstvo napadenij na biznesmenov. A
v  zakrytom  pomeshchenii,  otrazivshis'  ot steny ili ot mebeli,  gazovoe
oblako dejstvuet na strelyavshego ne huzhe, chem na togo, v kogo on celil.
Ne sluchajno primenenie gazovogo oruzhiya v zakrytyh pomeshcheniyah zapreshcheno
instrukciej MVD.
     Skazannoe mnoj ponimayut mnogie. Poetomu oni stremyatsya obzavestis'
"nastoyashchim oruzhiem", naprimer, pistoletom "TT" (hot' i staraya sistema,
no neplohaya),  "Makarovym" ili cheshskim CHZ-85 (ochen' horoshaya mashinka) i
t.d.  CHto zh,  horoshij  pistolet  tem  i  horosh,  chto  s  nim  nevol'no
chuvstvuesh' sebya kak-to uyutnee i spokojnee.  Zabyvaesh' dazhe o tom,  chto
priobrel ego i  nosish'  pri  sebe  sovershenno  nezakonno.  Vprochem,  ya
realist.  Mne ponyatny rassuzhdeniya vrode takogo:  "raz miliciya zashchishchat'
nas ne mozhet i ne hochet,  prihoditsya spasat' sebya samim".  Pogovorim o
drugom.
     V kakih sluchayah strelok iz pistoleta sposoben ispol'zovat' ego  s
nadlezhashchej   effektivnost'yu?  Specialisty  davno  eto  sformulirovali.
Prezhde vsego,  otmechayut oni,  verh bezumiya  derzhat'  svoe  oruzhie  pro
zapas,  na sluchaj napadeniya,  gde-nibud' v yashchike stola, v attashe-kejse
ili vnutrennem karmane pidzhaka.  Dazhe v hudozhestvennyh fil'mah, ves'ma
dalekih ot pravdy zhizni,  personazham krajne redko udaetsya svoevremenno
izvlekat' pistolet  iz  podobnyh  mest.  V  real'noj  dejstvitel'nosti
podobnaya   vozmozhnost'  voobshche  isklyuchena,  ved'  gramotnoe  napadenie
sovershaetsya stremitel'no, vnezapno, v samyj nepodhodyashchij moment.
     YA uzhe upominal, chto nalety dovol'no redko proishodyat v kvartire i
na rabote.  Obychnoe mest dlya nih - doroga  tuda  libo  obratno.  Inymi
slovami - na vozduhe.  Umeete li vy strelyat' ne v tire, a pod otkrytym
nebom?  Iz neudobnogo polozheniya, naprimer, sidya ili lezha? Na begu? Pod
ognem v vashu storonu? Po lyudyam, pust' dazhe prestupnikam? Po dvizhushchimsya
v razlichnyh napravleniyah "mishenyam", v tom chisle po begushchim na vas?
     CHtoby vse   upomyanutoe   stalo   dlya  vas  vozmozhnym,  neobhodimo
ezhednevno (ya podcherkivayu, ezhednevno) kak minimum tridcat' minut (luchshe
chas) udelyat' trenirovke po vyhvatyvaniyu pistoleta ottuda, gde on u vas
nahoditsya,  i  pricelivaniyu  v  mishen'.  Snachala  mishen'  mozhet   byt'
nepodvizhnoj,   odnako   maksimum   cherez   mesyac   sleduet  perejti  k
pricelivaniyu navskidku  po  mishenyam  dvizhushchimsya.  Roli  takovyh  mogut
ispolnyat'  domashnie  zhivotnye  (koshki,  sobaki,  pticy),  chleny sem'i,
sosluzhivcy,  prohozhie. V poslednem sluchae nado byt' krajne ostorozhnym,
inache  delo  mozhet  konchit'sya  ochen'  nepriyatno  dlya vas.  Luchshe vsego
ezhednevno poseshchat' special'no oborudovannyj tir, esli takovoj imeetsya.
Kak  by  tam  ni  bylo,  esli vy ne razov'ete u sebya navyk mgnovennogo
vyhvatyvaniya pistoleta i tochnogo navedeniya ego na  cel'  po  stvolu  v
spokojnoj  obstanovke,  to  v  ekstremal'nyh  usloviyah  u vas zavedomo
nichego ne poluchitsya.
     Neobhodimo takzhe  ne  rezhe  dvuh  raz v nedelyu strelyat' iz svoego
pistoleta. Imenno iz svoego, ibo lichnoe oruzhie obyazatel'no dolzhno byt'
pristrelyano vladel'cem.  CHislo vystrelov za trenirovku ot 10 (minimum)
do 30 (maksimum).  Udovol'stvie ne iz deshevyh,  ved' odin patron stoit
primerno   dollar.   Strelkovye   uprazhneniya  nado  vremya  ot  vremeni
uslozhnyat'.  Naprimer:  za 6 sekund porazit' 5  mishenej,  raspolozhennyh
veerom  pered  vami  na udalenii ot 5 do 25 metrov.  Ili popast' v tri
misheni, dvizhushchiesya na vas s raznogo udaleniya i s raznoj skorost'yu.
     Nakonec, u  metkogo  strelka  dolzhna  byt'  tverdaya ruka i vernyj
glaz.  Sledovatel'no,  alkogol' v bol'shih dozah,  libo  ponemnogu,  no
chasto,  nochnye  posidelki,  dazhe  sigarety  snajperu  protivopokazany.
Gotovy li vy otkazat'sya ot preslovutyh "radostej  zhizni"  i  ezhednevno
trenirovat'sya  radi  togo,  chtoby  garantirovanno  primenit' oruzhie "v
sluchae chego"? Mne eto kazhetsya bolee chem somnitel'nym.
     Sdelaem vyvod: ne tol'ko gazovoe, no i boevoe oruzhie diletantu ne
pomogut.  V neumelyh rukah ono goditsya isklyuchitel'no dlya  togo,  chtoby
razmahivat'  im  pered  nosom  drugogo takogo zhe diletanta.  Eshche mozhno
pugat' im podchinennyh,  sosedej,  chlenov sem'i,  prohozhih. Poetomu moj
vam sovet:  ostav'te oruzhie professionalam,  esli vy sami ne yavlyaetes'
takovym.



     Po logike  veshchej,  professionalami  dolzhny  byt'   telohraniteli.
Naprimer, v Moskve v ohrane biznesmena "srednej ruki" inogda zanyato do
10 chelovek,  rabotayushchih v tri smeny. Inymi slovami, oni prikryvayut ego
kruglosutochno.  Vo  chto  eto  obhoditsya,  tochno  nikto ne znaet.  Esli
ishodit' iz togo, chto srednyaya rossijskaya zarplata na 1 oktyabrya 1995 g.
sostavlyala 145 dollarov,  to uzhe poluchaetsya ne menee 1500 "zelenyh". A
ved' tem,  kto ohranyaet vashu zhizn',  zhizn'  rodnyh  i  blizkih  lyudej,
platit'  nado  mnogo vyshe srednego urovnya.  Vidimo poetomu bol'shinstvo
predprinimatelej obhoditsya libo  bez  ohrany,  libo  nanimaet  odnogo,
maksimum, dvuh chelovek.
     Stremyas' k ekonomii,  otechestvennye biznesmeny  ispol'zuyut  svoih
"hranitelej" mnogofunkcional'no:  i shofery oni u nih,  i posyl'nye,  i
kamerdinery,  i bog znaet kto eshche.  Srazu skazhu, chto takoj podhod chashche
vsego  neveren.  Prostoj  primer:  u  vas dvoe ohrannikov v avtomobile
vmeste s vami.  Vy vyhodite,  odin iz nih otkryvaet vam dvercu, vtoroj
vyklyuchaet zazhiganie i pryachet klyuchi v karman. Sekundnoe delo, no ruki i
glaza u oboih zanyaty.  |tih dvuh-treh  sekund  vpolne  dostatochno  dlya
togo, chtoby bez vsyakih pomeh zastrelit' i vas, i ih. Lichno mne hvatilo
by na dannoe meropriyatie poltory sekundy.
     |ksperty ediny    vo    mnenii,    chto   dazhe   odin-edinstvennyj
telohranitel' sposoben uberech'  klienta  ot  mnozhestva  nepriyatnostej,
esli on - professional.  Pravda,  v teh sluchayah,  kogda za biznesmenom
nachinayut planomerno ohotit'sya drugie professionaly, ego shansy ostat'sya
v zhivyh rezko snizhayutsya.  Tem ne menee,  nadezhno "zakryt'" ot killerov
mozhno - v principe - lyubogo klienta.  Odnako eto trebuet celoj komandy
horosho   podgotovlennyh   specialistov,   sistematicheskoj  operativnoj
raboty,  pervoklassnyh tehnicheskih sredstv - to  est',  stoit  bol'shih
deneg. Malo  komu  po  karmanu  soderzhat'  "lichnuyu  gvardiyu"  v  10-20
chelovek. Podavlyayushchee bol'shinstvo biznesmenov v stranah SNG i Vostochnoj
Evropy staraetsya obhodit'sya ne bolee,  chem  dvumya-tremya  "hranitelyami"
svoego tela.
     Esli u  vas  odin telohranitel',  to luchshe vse vremya hodit' s nim
vmeste.  Esli zhe ih u vas dva,  to pered tem,  kak vhodit' v  pod容zd,
neobhodimo  odnogo otpravit' proverit' vse lestnichnye kletki.  Neploho
zaranee pobespokoit'sya i o bronezhiletah dlya vseh.
     Otkryv nebol'shuyu   tajnu,   skazhu,  chto  podavlyayushchee  bol'shinstvo
zakaznyh  ubijstv  na  Zapade  sovershaetsya   snajperami   s   bol'shogo
rasstoyaniya.  |to  v  pervuyu  ochered' ob座asnyaetsya tem,  chto za granicej
ochen' horosho  razvita  shkola  telohranitelej.  I  esli  u  nas  ubijcy
predpochitayut  pod容zdy,  to  na  Zapade telohraniteli v takoj situacii
mgnovenno prevratyat killera v resheto.
     Obychno biznesmeny sami reshayut, komu doverit' svoyu zhizn', zdorov'e
i material'noe blagopoluchie. Poetomu nado, chtoby oni orientirovalis' v
problemah,   svyazannyh  s  "bodigards"  -  "ohranoj  tela".  Nachnem  s
rassmotreniya nekotoryh rasprostranennyh mifov.
     *Mif e 1: Telohranitel' - eto shirokoplechij atlet vysokogo rosta i
s pudovymi kulakami*.
     Da, v  nekotoryh  vidah  ohrannoj  deyatel'nosti  (pri obespechenii
poryadka  na  massovyh  meropriyatiyah,  ohrane  bankov,  ofisov,  barov,
magazinov)  trebuyutsya  lyudi,  vnushayushchie  uzhas  svoej  massoj.  No esli
govorit'  o  lichnoj  ohrane,  to  zdes'  bol'she  cenyatsya  te,  kto  ne
vydelyaetsya ni vneshnost'yu,  ni odezhdoj,  ni povedeniem. Gorazdo vazhnee,
chtoby vashi zashchitniki imeli golovu na plechah i umeli  eyu  pol'zovat'sya.
Ved'  glavnaya  ih zadacha ne v tom,  chtoby zakryvat' vas ot pul' svoimi
telami (kstati, nikto etogo i ne stanet delat', razve chto sluchajno), a
v   predotvrashchenii   ekstremal'nyh   situacij  i  v  molnienosnyh,  no
celesoobraznyh i gramotnyh  dejstviyah,  esli  takie  situacii  vse  zhe
voznikayut.
     Bezuslovno, net  pravil  bez  isklyuchenij.  Sushchestvuyut   razlichnye
motivy  podbora  telohranitelej.  Esli  oni  nuzhny  vam iz soobrazhenij
prestizha ili radi ustrasheniya okruzhayushchih,  to vysokij roet i ves za 100
kg prosto neobhodimy.  Vse zhe ne zabyvajte, chto chem bol'she mishen', tem
legche v nee popast'.
     *Mif e  2:  Telohranitel' dolzhen imet' "chernyj poyas" v karate ili
byt' chempionom po kik-boksu*.
     Imet' bogatoe  sportivnoe proshloe mozhet byt' i priyatno dlya samogo
obladatelya pochetnyh zvanij.  Vpolne veroyatno  takzhe,  chto  etim  mozhet
hvastat' pered druz'yami i pressoj ego rabotodatel'. No sushchestvuyut, kak
minimum,  tri   dovoda,   pozvolyayushchie   usomnit'sya   v   neobhodimosti
komplektovaniya  svoej  "gvardii"  iz  byvshih  masterov  kulaka i nogi.
Vo-pervyh,  ognestrel'noe oruzhie pozvolyaet napadayushchim  ne  vstupat'  v
fizicheskij  kontakt  s ohranoj zhertvy.  Vo-vtoryh,  sportivnaya tehnika
neprigodna   dlya   real'nyh   "razborok".   V-tret'ih,    grosh    cena
professionalu,  esli  on sam stremitsya dovesti delo do rukopashnoj.  On
dolzhen tak stroit' svoe povedenie,  chtoby u  potencial'nogo  agressora
nachisto propadalo vsyakoe zhelanie napadat'.
     Skazannoe ne otricaet pol'zu regulyarnyh zanyatij rukopashnym  boem,
osobenno,  esli  v  processe ih delaetsya akcent na sparringi v zhestkij
kontakt. Takoj trening ukreplyaet u telohranitelya chuvstvo uverennosti v
sebe,   obespechivaet   ego   neuyazvimost'   v  potasovkah  s  obychnymi
huliganami, podderzhivaet vysokij uroven' fizicheskoj rabotosposobnosti.
     *Mif e 3: Za plechami telohranitelya obyazatel'no dolzhen byt' Afgan,
Bosniya ili CHechnya, na hudoj konec - sluzhba v specnaze libo desante*.
     Te, kotorye tak dumayut,  ne ponimayut, chto vsyakij opyt specifichen.
Umenie ustraivat' zasady v gorah  ili  prygat'  noch'yu  na  parashyute  v
principe  ne trebuetsya telohranitelyu.  Mnogie,  pravda,  schitayut,  chto
lyudi,  proshedshie   cherez   "myasorubku"   nastoyashchej   vojny,   poluchili
kolossal'nuyu psihologicheskuyu zakalku.  Otchasti eto verno, no tol'ko po
otnosheniyu  k  tem,  kto  otpravilsya  na  vojnu,  imeya  sootvetstvuyushchuyu
podgotovku  i  s  ubezhdeniem  v  neobhodimosti  lichnogo uchastiya v nej.
Takih,  kak izvestno, bylo nemnogo i oni, kak pravilo, ne nanimayutsya v
telohraniteli. Skoree mogut stat' naemnymi ubijcami.
     U ostal'nyh voennyj  opyt  privodit  k  alkogolizmu,  narkomanii,
nevrozam,  depressii.  Nemalo  i  teh,  u  kogo  prosto  "edet krysha".
Otmetim,  chto  lichnaya  ohrana  amerikanskih  biznesmenov  nikogda   ne
rekrutirovalas' iz byvshih morskih pehotincev, proshedshih cherez V'etnam,
hotya kinoboeviki uporno obygryvali takoj variant.
     *Mif e   4:   Samye  luchshie  telohraniteli  -  byvshie  sotrudniki
operativnyh podrazdelenij gosbezopasnosti ili milicii*.
     Dejstvitel'no, ih  professional'nyj  opyt  i  podgotovka blizki k
tomu,  chto   trebuetsya   telohranitelyu   (navyki   slezhki,   otkrytogo
nablyudeniya,  zahvata  prestupnikov,  strel'by,  vozhdeniya  avtomobilya i
t.d.). K tomu zhe u nih sohranyayutsya svyazi s byvshimi sosluzhivcami.
     Odnako koe-kakie  proshlye navyki mogut okazat'sya v chastnoj ohrane
vrednymi,  naprimer,  privychka  delat'  predupreditel'nyj  vystrel   v
vozduh.   Eshche   tyazhelee  privyknut'  k  rabote  v  usloviyah  pravovogo
bespredela.  Tak, oruzhie telohranitel' (esli u nego est' razreshenie na
ego  noshenie)  mozhet primenyat',  kak i vse grazhdane,  tol'ko v sluchayah
neobhodimoj oborony.  Doprashivat' zaderzhannyh voobshche ne imeet nikakogo
prava,  ved' s tochki zreniya zakona on - chastnoe lico. Mery fizicheskogo
vozdejstviya s cel'yu zashchity klienta legko kvalificirovat' kak  zlostnoe
huliganstvo,    a    presledovanie   prestupnika   -   kak   narushenie
neprikosnovennosti zhilishcha,  vtorzhenie v chastnuyu zhizn' grazhdan  i  tomu
podobnoe. Ved' mnogie yuristy sluzhat ne bogine spravedlivosti Femide, a
tem, kto bol'she platit.



     Pogovorim teper'   ob   otbore,   podgotovke   i    ispol'zovanii
telohranitelej.  Nachnem  s  otbora.  Delo  v  tom,  chto  odnoj  tol'ko
podgotovki,  dazhe po obshirnoj  programme  i  u  horoshih  specialistov,
nedostatochno,   chtoby   prevratit'   v   professionala   cheloveka,  ne
obladayushchego  neobhodimymi  psihofiziologicheskimi,  psihologicheskimi  i
moral'nymi  kachestvami.  Konechno,  zhizn' sama vse rasstavlyaet po svoim
mestam, no esli dejstvovat' po nauke, to ochen' mnogoe o cheloveke mozhno
uznat' zaranee, podvergaya ego special'nym ispytaniyam - testam.
     *Sredi psihofiziologicheskih kachestv* sleduet nazvat'  takie,  kak
bystrotu     reakcii,     horoshuyu     orientaciyu    v    prostranstve,
koordinirovannost' dvizhenij,  sposobnost' koncentrirovat' vnimanie  na
izbrannom ob容kte nevziraya na pomehi,  chuvstvo vremeni,  emocional'nuyu
ustojchivost',   sposobnost'   produktivno   rabotat'   v    stressovoj
obstanovke,  umenie bystro pereklyuchat'sya s odnogo vida deyatel'nosti na
drugoj.
     *Sredi trebuyushchihsya  psihologicheskih  kachestv  lichnosti*  naibolee
vazhnymi  yavlyayutsya  sleduyushchie:  intellektual'noe   razvitie   ne   nizhe
statisticheskoj   normy;   sposobnost'   bystro   reshat'   vsevozmozhnye
golovolomki; umenie izvlekat' uroki iz proshlogo (uchit'sya na oshibkah) i
predvidet'    posledstviya    razlichnyh    sobytij;   umenie   poetapno
analizirovat' i planirovat' konkretnye operacii;  stremlenie  dovodit'
do konca nachatye dela; nezavisimost' ot davleniya izvne.
     *Izuchaya kandidatov  v  telohraniteli,  neobhodimo  srazu  otseyat'
psihicheski   bol'nyh   lyudej*,   a   takzhe   psihopatov,   nevrotikov,
akcentuirovannyh lic,  prosto nervnyh. I eshche narkomanov i alkogolikov.
Ne  podhodyat  lyudi  s tak nazyvaemym "tyazhelym" harakterom,  obidchivye,
zlopamyatnye, slishkom mnogo o sebe voobrazhayushchie, boltlivye...
     *O moral'noj  storone*  chelovecheskoj  prirody  napisano mnozhestvo
tomov.  Poetomu ogranichus' odnoj frazoj:  ideal'nyj telohranitel' tot,
kto poryadochen,  chesten,  veren dolgu pered svoej sem'ej i pered shefom,
imeet normal'nuyu cel' v zhizni.  Koroche,  dostatochno ser'eznyj chelovek,
ne  sposobnyj  radi  siyuminutnyh  vygod  ili  somnitel'nyh predlozhenij
predat' doverivshihsya emu lyudej,  brosat'sya v avantyury, zhertvovat' tem,
chto u nego est'.  Tak chto izuchenie lichnosti kandidatov v telohraniteli
- eto ne prihot'.  Esli ohrana prizvana igrat' bolee  ser'eznuyu  rol',
chem sluzhit' dekoraciej,  k ee podboru nado otnosit'sya otvetstvenno, ne
zhaleya   vremeni   i   sredstv,    ispol'zuya    dlya    etogo    opytnyh
specialistov-praktikov.
     *Nemnogo o vozraste,  obrazovanii,  professii*.  Slishkom  molodye
lyudi   plohi   otsutstviem   zhitejskogo   opyta,   chasto   vstrechayushchej
moral'no-psihologicheskoj  nezrelost'yu,  nedostatochnym  obrazovatel'nym
urovnem.  Slishkom  staryh  trudno  pereuchivat',  daleko  ne  vsegda im
udaetsya  najti  nuzhnyj  ton  vo  vzaimootnosheniyah  s  biznesmenom,  na
kotorogo  oni  rabotayut.  Naibolee  priemlemyj vozrast dlya nachinayushchego
telohranitelya kolebletsya v intervale ot  25  do  30  let.  Obrazovanie
zhelatel'no  vysshee  ili  srednee special'noe.  Nedouchki opasny vo vseh
otnosheniyah.  CHto kasaetsya prezhnih zanyatij,  to nailuchshie telohraniteli
verbuyutsya  sredi byvshih mladshih oficerov i praporshchikov armii,  a takzhe
sredi  grazhdanskih  lic,  imeyushchih  vysshee  ili   srednee   special'noe
obrazovanie i horoshuyu fizicheskuyu podgotovku.
     Podobrav komandu (pust' v sostave vsego treh chelovek), neobhodimo
ee   tshchatel'no  podgotovit'.  Sredi  obyazatel'nyh  predmetov  chislyatsya
sleduyushchie:  otrabotka shtatnyh situacij;  kriminal'naya i  ekstremal'naya
psihologiya;   vladenie   oruzhiem  i  podruchnymi  sredstvami;  vozhdenie
avtomobilya;  rukopashnyj boj,  medicinskaya  podgotovka,  obshchefizicheskaya
podgotovka.
     *"SHtatnye" situacii* - eto tipovye  shemy  dejstvij  v  razlichnyh
variantah  napadeniya  na  biznesmena,  izvestnye  po praktike ohrannoj
deyatel'nosti,  a takzhe po materialam pressy. Kazhdaya iz nih obyazatel'no
dolzhna byt' proigrana v "nature",  na real'nyh ob容ktah.  Napadenie na
ulice,  vozle vhoda v pod容zd,  v pod容zde,  na lestnichnoj ploshchadke, v
koridore,  v lifte, na dache, na plyazhe, vo vremya massovogo meropriyatiya.
S  primeneniem  ognestrel'nogo  oruzhiya,   elektroshokovogo,   gazovogo,
holodnogo. S pomoshch'yu avtomobilya i bez nego. S cel'yu zahvata, naneseniya
telesnyh povrezhdenij,  ubijstva.  Snajperskaya zasada v udobnom  meste,
nalet vo vremya poezdki v avtomobile za gorodom, vzryv ili podzhog...
     Nado otrabotat' dejstviya telohranitelya v kazhdom  takom  sluchae  -
gde stoyat',  sidet',  idti,  kuda smotret',  kuda bezhat',  prygat' ili
polzti,  za  chto  pryatat'sya  samomu  i  gde  ukryvat'   klienta,   chem
otbivat'sya,  chto  delat'  v  pervye  sekundy  napadeniya,  chto  potom -
voprosov dlya prakticheskogo izucheniya zdes' ochen'  mnogo.  Imenno  takoj
podgotovki    katastroficheski    ne    hvataet    pochti    vsem    tem
sootechestvennikam,  kotorye gordo imenuyut sebya "telohranitelyami". Dazhe
gramotno  razrabotat'  marshrut  dvizheniya  po  gorodu  i  to  ne mogut.
Nadeyutsya na svoe umenie mahat' nogami i strelyat',  ne ponimaya,  chto  v
telohranitelya strelyayut pervogo, tol'ko potom - v ohranyaemoe im lico.
     *Kriminal'naya psihologiya* - eto,  prezhde vsego,  umenie  vyyavlyat'
sredi   okruzhayushchih   teh  lyudej,  kotorye  predstavlyayut  potencial'nuyu
opasnost',  chtoby "chitat'" skryvaemye imi namereniya  po  mimike  lica,
vyrazheniyu glaz,  mikrodvizheniyam i pozam tela.  Na yazyke professionalov
takoe umenie  nazyvaetsya  "poluchenie  kriminal'no-znachimoj  informacii
posredstvom  vizual'noj  psihodiagnostiki".  K  dannomu  razdelu tesno
primykayut dva drugih - motivaciya povedeniya prestupnikov  i  psihologiya
povedeniya zhertvy.
     *|kstremal'naya psihologiya*  -  eto  teoriya  povedeniya  v  slozhnyh
obstoyatel'stvah,  svyazannyh s povyshennym riskom,  s ugrozoj dlya zhizni.
Odnim iz ee  razdelov  yavlyaetsya  konfliktologiya  -  metody  analiza  i
optimal'nogo   resheniya  vsevozmozhnyh  konfliktov.  A  v  sovokupnosti,
kriminal'naya i ekstremal'naya  psihologiya  yavlyaetsya  celoj  naukoj,  so
svoimi   avtoritetami,   tverdo   ustanovlennymi  zakonomernostyami,  s
obshirnoj literaturoj. K sozhaleniyu, u nashih telohranitelej, i ne tol'ko
u nih, v etoj oblasti podgotovka prakticheski nulevaya.
     *Strelkovaya podgotovka* neobhodima hotya by uzhe potomu,  chto lyuboe
ser'eznoe napadenie osushchestvlyaetsya s pomoshch'yu ognestrel'nogo oruzhiya, ot
pistoletov do avtomaticheskih vintovok  i  granatometov.  Malo  kto  iz
telohranitelej  v  Rossii  imeet  razreshenie  na obladanie pistoletom.
Odnako fakty svidetel'stvuyut,  chto  nesmotrya  na  eto,  v  bol'shinstve
sluchaev  im  est' iz chego strelyat'.  Da i smeshno bylo by protivostoyat'
vooruzhennym do zubov prestupnikam s dubinkoj ili gazovym ballonchikom v
rukah.  Nelepost'  podobnogo  sootnosheniya vooruzheniya ne ponimayut razve
chto nekotorye zakonodateli.
     No, imeya oruzhie, malo kto iz ohrany umeet professional'no vladet'
im:  strelyat' na hodu, v padenii, v temnote "na zvuk", po dvizhushchimsya v
raznyh napravleniyah  neskol'kim  mishenyam,  iz  edushchego avtomobilya,  ne
celyas'.  Tryukam takogo roda  (kotorye  vovse  i  ne  tryuki,  a  navyki
snajperskoj  strel'by)  mozhno i nuzhno uchit'sya.  A potom sistematicheski
podderzhivat' eti navyki.  Polezno takzhe nauchit'sya rabotat' s nozhom  (v
tom  chisle  metat' ego v cel'),  s dubinkoj,  s dlinnoj palkoj,  umet'
prevrashchat' v oruzhie lyubye okazavshiesya pod rukoj predmety.
     *Vozhdenie avtomobilya*    -   veshch'   absolyutno   neobhodimaya   dlya
telohranitelya.  Trudno najti skol'ko-nibud' solidnogo  biznesmena,  ne
imeyushchego avtomobilya,  pust' zaregistrirovannogo na firmu, a ne na nego
lichno. Luchshe, esli voditel' odnovremenno yavlyaetsya i sotrudnikom lichnoj
ohrany.  Odnim iz sotrudnikov,  poskol'ku nuzhny,  kak minimum, eshche dva
takih zhe sotrudnika.  Vse oni dolzhny byt' obucheny  iskusstvu  vozhdeniya
avtomobilya v ekstremal'nyh usloviyah: ezda po bezdorozh'yu, po lestnicam,
pryzhki na avtomobile cherez prepyatstviya, tehnika stolknovenij s drugimi
mashinami, tehnika perevorachivaniya...
     *Obshchefizicheskaya podgotovka* telohranitelya tozhe vazhna  -  kak  dlya
razvitiya  funkcional'nyh  kachestv,  tak  i  dlya  podderzhaniya  "formy".
Otnositel'no pervogo yasno  bez  dokazatel'stv,  chto  horoshij  ohrannik
dolzhen obladat' vynoslivost'yu,  bystrotoj reakcii,  lovkost'yu,  dolzhen
otlichno orientirovat'sya v prostranstve,  umet' padat' i prygat', rezko
sryvat'sya  s mesta,  tochno popadat' v cel',  metaya,  skazhem kamen' ili
butylku. Vpolne mogut potrebovat'sya i bolee specificheskie sposobnosti:
projti  po  uzkoj  zherdochke,  zalezt'  na  bol'shuyu vysotu ili prygnut'
ottuda,  spustit'sya s kryshi mnogoetazhki po kanatu, perelezt' s balkona
na  balkon,  proplyt'  neskol'ko desyatkov metrov v odezhde,  nyrnut' na
glubinu i podnyat' ottuda gruz, ili eshche chto-nibud' v tom zhe duhe.
     A "forma"...  Skazhu tol'ko odno: propityj i prokurennyj "ambal" s
dryablymi  myshcami  -  slishkom   slabaya   garantiya   bezopasnosti   dlya
predprinimatelya.  Pri prochih ravnyh usloviyah vsegda nadezhnee tot,  kto
vedet trezvuyu zhizn' i ezhednevno treniruetsya..
     I eshche:  vneshnij  vid  i  manery.  Nemnogo  stoit tot ohrannik,  u
kotorogo bukval'no na lbu napisano,  kto on takoj,  kotoryj  ne  umeet
sebya vesti ni vo vremya protokol'nogo meropriyatiya,  ni v restorane,  ni
na ulice. V konce-koncov, po tem lyudyam, kotorye na vas rabotayut, sudyat
o hozyaine. A v mire biznesa reputaciya imeet pervostepennoe znachenie.
     *Rukopashnomu boyu* za korotkij promezhutok vremeni nauchit'  nel'zya.
Pri   ezhednevnom   intensivnom  treninge  pod  rukovodstvom  tolkovogo
instruktora potrebuetsya ne menee treh mesyacev,  chtoby bolee ili  menee
nadezhno osvoit' azy. V obychnyh usloviyah (2-3 trenirovki v nedelyu) nado
ne menee goda.  Prichem  izuchat'  nado  imenno  rukopashnyj  boj,  a  ne
kakoe-libo  sportivnoe  edinoborstvo  vrode boksa,  vol'noj bor'by ili
taekvondo.
     *Znachenie medicinskoj   podgotovki*   zaklyuchaetsya   v   tom,  chto
telohranitel',  umeyushchij okazat' dovrachebnuyu pomoshch' v sluchayah pulevyh i
nozhevyh ranenij,  mehanicheskih travm,  porazhenij ognem i elektricheskim
tokom,  pishchevyh otravlenij i prochih napastej,  vo mnogo  raz  povyshaet
shansy  klienta  (i  svoi sobstvennye) na vyzhivanie.  Slishkom mnogo eshche
byvaet sluchaev,  kogda chelovek pogibaet lish' potomu,  chto nekomu  bylo
sdelat'  massazh  serdca,  ukol sosudorasshiryayushchego preparata,  nalozhit'
zhgut na krovotochashchuyu konechnost'.  Kstati,  u vas v avtomobile, a takzhe
na   rabochem   meste  dolzhna  byt'  horosho  ukomplektovannaya  aptechka,
neobhodimo imet' populyarnyj medicinskij spravochnik po okazaniyu  pervoj
pomoshchi,  telohraniteli  dolzhny  znat'  vashu gruppu krovi,  pokazaniya i
protivopokazaniya k razlichnym lekarstvam.
     Razumeetsya, lichnuyu   ohranu   mozhno   uchit'  i  mnogomu  drugomu,
naprimer,  rabote  na   komp'yuterah,   ugolovnomu   pravu,   iskusstvu
oformleniya  inter'erov,  no  vse  eto  ne imeet pryamogo otnosheniya k ih
neposredstvennym obyazannostyam "hranitelej tela".
     V etoj   svyazi   *voznikayut  dva  voprosa*:  gde  mozhno  povyshat'
kvalifikaciyu  lichnoj  ohrany,  i  skol'ko  eto   udovol'stvie   stoit?
Slozhivshejsya   sistemy   podgotovki   i   perepodgotovki  ohrannikov  i
telohranitelej v SNG poka  ne  sushchestvuet.  Otdel'nye  ohrannye  firmy
pytayutsya  etim  zanimat'sya  naryadu  so svoej osnovnoj rabotoj,  odnako
kachestvo obucheniya, nesmotrya na intriguyushchuyu reklamu, yavlyaetsya nizkim. V
Moskve,   Sankt-Peterourge,   Rige   podgotovka   telohranitelej   uzhe
postavlena  "na  potok",  no  ne  vse  mogut  "otorvat'  ot  sebya"  na
poltora-dva-tri mesyaca svoih zashchitnikov,  chtoby poslat' ih na uchebu. K
tomu zhe "serijnoe proizvodstvo" tem i ploho,  chto isklyuchaet  "shtuchnyj"
(individual'nyj) podhod v obuchenii.
     *Teper' o  cenah*.  Standartnyj  trehnedel'nyj  kurs  obucheniya  v
Latvijskom filiale Mezhdunarodnoj Akademii bezopasnosti (g. Riga) stoit
2,5 tysyachi dollarov,  s prozhivaniem i pitaniem.  Stoimost' pyatidnevnyh
instruktivno-metodicheskih   seminarov   po  rukopashnomu  boyu,  ognevoj
podgotovke,  taktike  dejstvij  telohranitelej,  provodimyh  v  Moskve
Mezhdunarodnoj  kontrterroristicheskoj  treningovoj associaciej - po 500
dollarov za kazhdyj seminar, ne schitaya pitaniya i prozhivaniya.



     Voprosy ispol'zovaniya telohranitelej  -  delo  tonkoe.  Nastoyashchij
professional sam vse znaet, no takie professionaly - bol'shaya redkost'.
Dadim odin  primer,  pravda,  ne  iz  oblasti  lichnoj  ohrany,  odnako
pozvolyayushchij provesti koe-kakie paralleli.
     Predpolozhim, vam nado organizovat' perevozku avtomobilem  bol'shoj
summy  deneg  v  SKV.  I u vas est' opaseniya,  chto po doroge na mashinu
mogut napast'.  Kak luchshe postupit'?  Odin variant takov:  posadit'  v
salon  avtomobilya  chetyreh  muskulistyh  parnej,  k  tomu  zhe do zubov
vooruzhennyh,  a v soprovozhdenie im  dat'  vtoruyu  mashinu  s  takoj  zhe
komandoj.  Konechno,  eto  dast opredelennuyu garantiyu bezopasnosti.  No
stepen' ee budet  zaviset'  ne  ot  kolichestva  soprovozhdayushchih,  a  ot
razmerov  perevozimoj  summy.  Esli ona v samom dele ochen' velika,  to
prestupniki bez kolebanij perestrelyayut vseh passazhirov,  skol'ko by ih
ne  bylo.  Netrudno  videt',  chto  dlya  etogo  im nado znat',  skol'ko
dollarov lezhit v kejse, kogda i po kakoj doroge ih povezut.
     Sootvetstvenno, gramotnaya  zashchita  perevozimyh  cennostej  dolzhna
obespechivat'sya ne vzvodom "kachkov s pushkami", a umeloj dezinformaciej.
Ee neobhodimo akkuratno "vlozhit' v ushi" tem, komu nado. Akkuratno, eto
znachit kak by nechayanno,  a vovse ne soobshcheniem "po sekretu". Dlya etogo
nado znat' teh, komu ee "vvodit'". A mashina s den'gami poedet v drugoe
vremya po drugomu marshrutu i,  vpolne veroyatno, dazhe po drugomu adresu.
I   bez  vsyakih  ohrannikov,  privlekayushchih  povyshennoe  vnimanie.  |to
nazyvaetsya operativnym obespecheniem meropriyatiya.
     Nechto podobnoe  dolzhno  imet'  mesto  i v lichnoj ohrane:  shirokoe
ispol'zovanie dezinformacii;  postoyannoe izmenenie marshrutov dvizhenij;
znanie  vseh  sotrudnikov  firmy,  druzej,  znakomyh  i  rodstvennikov
(imenno otsyuda ishodyat svedeniya dlya organizacii "naezdov"); tvorcheskoe
ispol'zovanie   tehnicheskih   sredstv   nablyudeniya,   proslushivaniya  i
signalizacii; proverka partnerov i klientov, ih svyazej s "mirom tenej"
(konechno  zhe,  neglasnaya),  izuchenie obshchej kriminogennoj obstanovki po
mestu raspolozheniya firmy,  mestu prozhivaniya biznesmena i v  toj  sfere
biznesa,  v  kotoroj  on  zarabatyvaet  den'gi  - vse eto i eshche mnogoe
drugoe dolzhny delat' vashi telohraniteli.
     K sozhaleniyu,  v 95%  sluchaev delo vyglyadit sovershenno po-drugomu.
Dadim slovo odnomu byvshemu telohranitelyu:  "Ponachalu  vse  shefy  lyubyat
mnogo obeshchat': my kupim tebe kvartiru, produkty i veshchi budesh' pokupat'
u nas gorazdo deshevle,  chem v  magazinah,  dadim  bronezhilet,  avtomat
"Uzi",  zastrahuem, polgoda budesh' provodit' za granicej... Tol'ko vse
eto tufta. SHef dumaet tol'ko o sebe i esli tebya ne daj bog podstrelyat,
tebya  na  sleduyushchij  den'  vse  zabudut  - invalidy v ohrane nikomu ne
nuzhny,  i nikakoj strahovki konechno zhe ne bylo.  I bronezhilet poluchit'
problema, i oruzhie,  i mini-radiostanciyu.  Koroche,  - otnoshenie kak  k
tupomu byku, kotoryj neponyatno radi chego dolzhen riskovat' svoej shkuroj
zaslonyaya hozyaev.
     90% vremeni prihoditsya ispolnyat' obyazannosti slugi: podat' papku,
otkryt'  dver',  zagruzit'  komp'yutery  v  svobodnoe  ot raboty vremya,
podezhurit' v kvartire lyubovnicy shefa,  poka ona v otsutstvii,  - a  to
vdrug kto-nibud' ukradet vse to,  chto on ej nadaril. Eshche telohranitel'
mozhet ponadobit'sya, chtoby dat' v mordu komu-nibud' na ulice, esli shefu
chto-to ne tak skazali.  Tolstym i lysym,  nizkoroslym i pozhilym shefam,
krome togo ochen' nravitsya komandovat' zdorovennymi parnyami, im priyaten
strah, kotoryj oni vyzyvayut u prostyh lyudej"...
     Po mneniyu mezhdunarodnyh ekspertov,  vse  dolzhno  byt'  sovershenno
inache.  Krajne vazhno,  chtoby telohranitel' i ego shef nahodilis' vmeste
kak mozhno bol'she vremeni.  A potomu samyj luchshij telohranitel'  -  eto
sekretar',  referent,  perevodchik,  organizator  ili ispolnitel' osobo
vazhnyh  del,  to  est'  doverennoe  lico  v  biznese  i  prosto   drug
ohranyaemogo.  I  den'gi emu nado platit' ne za to,  chto dal komu-to po
zubam,  a za nedopushchenie  stychek,  za  predotvrashchenie  konfliktov,  za
razreshenie ih civilizovannymi metodami.
     Krome togo,  vazhno, chtoby telohranitel' byl lichno zainteresovan v
procvetanii toj firmy,  v kotoroj on rabotaet. Dlya etogo nado dat' emu
vozmozhnost'  vlozhit'  v  nee  svoi  sredstva  (mozhet  byt',  avansom),
poluchat'   procent   pribyli   ot   teh   ili   inyh  sdelok,  slovom,
zainteresovat'  ekonomicheski.  I  pomnit',   chto   umnyj,   sposobnyj,
chestolyubivyj  chelovek (a duraki,  kak izvestno,  huzhe vragov) ne mozhet
dovol'stvovat'sya perspektivoj  vsyu  zhizn'  ostavat'sya  telohranitelem.
Zainteresovat'  ego v vernosti vam i vashemu biznesu mozhno tol'ko cherez
vydvizhenie privlekatel'noj  celi.  Koroche  govorya,  neobhodimo,  chtoby
ohranyaya vas, on odnovremenno ohranyal i svoe budushchee!



     Istoriya ispol'zovaniya  dlya  ohrany  cheloveka  razlichnyh  zhivotnyh
stol' zhe drevnyaya,  kak i istoriya chelovecheskogo obshchestva. Kak izvestno,
"gusi Rim spasli" i bylo eto za 390 let do nachala hristianskoj ery!  V
kachestve  storozhej  vystupali  zmei  i  krokodily,  yadovitye  pauki  i
skorpiony, barsy i rysi, dikie kabany i kamyshovye koty... Za proshedshie
veka stalo yasno,  chto net luchshe druga i zashchitnika  dlya  cheloveka,  chem
sobaka.
     Konechno, rech' ne idet o milyh pesikah,  tipa bolonki  ili  taksy,
radostno  kidayushchihsya  na  sheyu  lyubomu,  kto voshel v kvartiru,  umil'no
vilyayushchih hvostom pri vide kostochki v chuzhih rukah.  Net,  sobaki dolzhny
byt'  horosho  dressirovany  special'no  dlya storozhevoj sluzhby.  V etom
sluchae sobakam  net  ravnyh  po  nadezhnosti  i  effektivnosti:  ih  ne
podkupish'  i ne zapugaesh',  ne zastanesh' vrasploh.  Oni menee uyazvimy,
chem lyudi,  bolee zhivuchi,  bolee agressivny.  Sobaka vsya,  ot mordy  do
hvosta, predstavlyaet soboj zhivoe oruzhie.
     Pochemu zhe,  v  takom  sluchae,  oni  dovol'no  redko  ispol'zuyutsya
biznesmenami dlya ohrany?  Otvet prost:  s nimi mnogo vozni. Sobak nado
special'no trenirovat',  kormit',  vygulivat', lechit'. Vse eto trebuet
vremeni,   deneg,   terpeniya.   I   sootvetstvuyushchih   znanij,   ibo  v
ispol'zovanii sobak  est'  ryad  tonkostej,  kotorye  obyazatel'no  nado
uchityvat':
     1. Sobaka  -  zhivoe  sushchestvo,  ochen'  umnoe   i   emocional'noe.
Obzavodyas' sobakoj,  vy berete na sebya otvetstvennost' za nee.  Tol'ko
zakonchennye podonki  sposobny  vygnat'  za  dver'  svoego  druga,  ch'ya
predannost'   obuslovlena  samoj  prirodoj.  V  to  zhe  vremya  derzhat'
ser'eznuyu sobaku dlya ser'eznyh celej,  ne imeya dlya etogo ni znanij, ni
deneg, ni vremeni mogut tol'ko neser'eznye lyudi.
     2. Poetomu tot chelovek,  kotoryj  budet  igrat'  rol'  provodnika
sluzhebnoj   sobaki   (vy,  kto-to  iz  chlenov  sem'i,  vash  sotrudnik)
obyazatel'no dolzhen  projti  kurs  podgotovki  i  provesti  dressirovku
sobaki.   Kvalificirovannym  yavlyaetsya  lish'  takoe  zhivotnoe,  kotoroe
nauchilos' pravil'no dejstvovat' v ekstremal'nyh  situaciyah  napadeniya.
|to   znachit:   ono  umeet  raspoznavat'  opasnost',  umeet  atakovat'
vooruzhennyh prestupnikov, umeet zashchishchat'sya ot nih, povinuetsya komandam
svoego provodnika.
     3. Sobaka  dolzhna  soderzhat'sya  v  nadlezhashchih   usloviyah.   Ravno
nedopustimy ee iznezhivanie,  i chrezmernaya surovost'.  Tak, sobaku nado
kormit' 2 raza v den',  osnovnaya pishcha - ovsyanka,  svarennaya bez  soli,
neskol'ko  mozgovyh  kostochek  i  vremya  ot vremeni - konservirovannyj
sobachij korm  s  vitaminami  i  mikroelementami.  Sobaku  imeet  pravo
kormit' tol'ko odin chelovek, ee provodnik. Iz chuzhih ruk dressirovannaya
sobaka pishchu brat' ne dolzhna.  Nedopustimo kormlenie storozhevoj  sobaki
konfetami, kolbasoj i prochimi "chelovecheskimi" lakomstvami.
     4. Sobaka   dolzhna   regulyarno   trenirovat'sya    v    special'no
oborudovannom  meste:  begat',  prygat'  cherez  prepyatstviya,  polzat',
napadat' na chuchelo, na cheloveka, izobrazhayushchego prestupnika, uskol'zat'
ot   navedennogo   na   nee  stvola  pistoleta,  ruzh'ya,  avtomata,  ot
petli-udavki.  Neobhodimo  sistematicheski  razvivat'   u   nee   takoe
kachestvo, kak "zlostnost'".
     5. Kategoricheski zapreshchaetsya bit' sobaku,  orat' na  nee,  topat'
nogami, otbirat' pishchu, lezt' k nej v p'yanom vide, shutya natravlivat' na
lyudej (sobaka shutok ne ponimaet), izdevat'sya nad nej (vot izdevku, kak
ni stranno,  sobaka ponimaet ochen' horosho).  Namordnik sleduet odevat'
lish' tam,  gde eto neobhodimo.  Povodok dolzhen byt' korotkim  i  legko
snimat'sya, chtoby vash zashchitnik ne mog zacepit'sya za kakoj-libo predmet.
     6. Po svoej konstitucii (teloslozheniyu) sobaki razdelyayutsya na  tri
osnovnyh tipa:  tyazhelye (naprimer,  dogi, rotvejlery, chernye ter'ery),
srednie   (naprimer,   nemeckie   ovcharki,   rizenshnaucery,    krupnye
dobermany), legkie (naprimer, erdel'ter'ery, boksery, pitbul'ter'ery).
Ne vdavayas' v diskussii, skazhu, chto naibolee optimal'nyj variant - eto
srednij  tip.  A  samaya  luchshaya  sobaka  -  ovcharka  ili lajka,  s toj
ogovorkoj, chto ovcharka zlee, a lajka umnee.
     7. Est' ryad "modnyh" porod sobak.  |to sobaki-ubijcy,  special'no
ispol'zuemye  dlya  tak  nazyvaemyh  "sobach'ih  boev":  pitbul'ter'ery,
stafordshiry,  krupnye  dogi.  Vse  oni  chrezvychajno agressivny,  ploho
upravlyaemy,  emocional'no legko vozbudimye,  potomu - ochen' opasny.  V
pervuyu  ochered'  dlya  samih  vladel'cev.  Uzhe izvestno nemalo sluchaev,
kogda te zhe pitbul'ter'ery,  obidevshis' na hozyaina,  napadali na  nego
spyashchego i ubivali. |ti pesiki zaprosto perekusyvayut kost' ruki, ne to,
chto  gorlo.  I  esli  tol'ko  pochuvstvuyut,  chto  hozyain  ih   nemnozhko
pobaivaetsya, kak momental'no voz'mut iniciativu v svoi ruki. Poetomu v
civilizovannyh stranah takih sobak libo zapreshchayut  derzhat'  v  chastnyh
zhilishchah,  libo trebuyut registracii v policii i regulyarnyh svidetel'stv
o blagonamerennom povedenii.
     Ne rekomenduyu    derzhat'   dlya   ohrany   kolli,   ch'ya   glupost'
obshcheizvestna.  Voobshche,  storozhevaya sobaka dolzhna byt' umna,  poslushna,
predanna,  legko i vysoko prygat',  imet' zdorovye ostrye zuby, moshchnye
lapy, sil'noe dyhanie, shirokuyu grud', korotkij hvost. Kastraciya boevoj
sobaki nedopustima.
     8. Osnovnye varianty ataki sobak "srednego"  tipa  zaklyuchayutsya  v
pryzhke  na  plechi,  v  udare  vsemi  chetyr'mya  lapami  (libo grud'yu) v
poyasnicu, a takzhe v udare golovoj pod koleni. Kak tol'ko chelovek upal,
sobaka puskaet v hod zuby. Dressirovannye sobaki umeyut kusat' za nogi,
pah,  lico,  gorlo. Osobenno vazhno vyrabotat' u sobak refleks ukusa za
tu  ruku,  kotoraya  derzhit oruzhie i napadat' ne tol'ko szadi ili sboku
(tak postupayut vse neobuchennye sobaki),  no i speredi.  Vse vidy  atak
neobhodimo otrabotat' s zhivotnym do polnogo avtomatizma dejstvij.
     Metody dressury v nastoyashchee vremya dostigli vysokogo sovershenstva,
ostanovka za malym - za tem,  chtoby delat' eto.  K sozhaleniyu,  slishkom
chasto delo ne idet dal'she pokupki porodistogo zhivotnogo,  s prekrasnoj
rodoslovnoj.  Mezhu  tem,  dlya  storozhevoj  sluzhby  vneshnij vid sobaki,
sostoyanie ee tela  i  psihiki  gorazdo  vazhnee  vseh  etih  pasportov,
neredko   "lipovyh".   Ne   bud'te  izlishne  doverchivy,  obratites'  k
specialistam imenno v oblasti primeneniya sobak,  i pokupajte  zhivotnoe
tol'ko  vmeste  s  nimi.  Ne  vsegda  samaya  dorogaya  sobaka  i  samaya
porodistaya  -  samaya  luchshaya.  Slishkom  porodistye  zhivotnye   -   eto
vyrozhdenie vida,  a ne ego rascvet.  Vam ved' zver' nuzhen dlya boya,  ne
dlya konkursa na samyj krasivyj hvost, ne tak li?
     9. V kakih mestah sobaka mozhet byt' ryadom s vami? V ochen' mnogih:
v kvartire,  v ofise,  na dache,  v  avtomobile,  v  garazhe,  vo  vremya
progulki  s  zhenoj  ili s det'mi.  Razve chto v teatre i v restorane ee
prisutstvie neumestno...



     Vzryv v ofise,  v pod容zde,  v avtomobile, v magazine stal chast'yu
povsednevnoj  zhizni  nashih  gorodov.  Naprimer,  v  Moskve v 93-m godu
proizoshlo  bolee  300  vzryvov  granat,  min,  vzryvnyh  ustrojstv.  V
Sankt-Peterburge  eshche  bol'she.  Rezul'tat  -  desyatki ubityh i ranenyh
lyudej, znachitel'nyj material'nyj ushcherb.
     Arsenal prestupnikov   dostatochno  raznoobrazen:  ot  samodel'nyh
vzryvnyh  ustrojstv  do   granat   F-1,   RGD-5,   protivopehotnyh   i
protivotankovyh min. Vsego dva primera prostejshih priemov minirovaniya:
granatu F-1  (ili  svyazku  granat  RGD-5)  prikreplyayut  k  avtomobilyu,
stoyashchemu  v  garazhe  libo  na otkrytoj stoyanke.  V kol'co cheki granaty
prodevayut lesku,  konec kotoroj prikreplen k nepodvizhnomu predmetu  za
avtomobilem.  Mashina  nachinaet dvizhenie,  cheka vydergivaetsya,  granata
vzryvaetsya.  Drugoj priem:  vinnuyu butylku  zapolnyayut  vysokooktanovym
benzinom i zakuporivayut probkoj,  pokrytoj sostavom,  chuvstvitel'nym k
treniyu. Pri vytyagivanii probki proishodit vosplamenenie, sleduet vzryv
i  tot,  kto  eto delal,  pogibaet ot strashnogo ozhoga.  Otmecheny takzhe
sluchai,  kogda prestupniki vzryvali radioupravlyaemye miny,  odnako chem
slozhnee  sposob  vzryva,  tem bol'she on trebuet vremeni na podgotovku,
dorozhe  obhoditsya  i  vyshe  veroyatnost'  neudachi   iz-za   tehnicheskih
nepoladok.
     CHashche vsego  ob容ktom  podryva  yavlyaetsya  lichnyj   ili   sluzhebnyj
avtomobil'  biznesmena.  Osnovnye mesta dlya minirovaniya v mashine,  eto
siden'e voditelya,  dnishche pod  perednimi  siden'yami,  benzobak,  kapot.
Znachitel'no  rezhe  zaryad  vzryvchatki  pomeshchayut v bagazhnik,  v kolesnye
nishi,  pod zadnie siden'ya,  v "bardachok" i drugie mesta.  Krome  togo,
mina  bol'shoj  moshchnosti mozhet ustanavlivat'sya nepodaleku ot avtomobilya
libo v sosednej mashine. No v etom sluchae trebuetsya upravlenie eyu izvne
po  radio ili podryv s pomoshch'yu elektricheskogo provoda.  Inymi slovami,
prestupnik dolzhen nahodit'sya nepodaleku ot mesta prestupleniya i  vesti
nablyudenie, chto vsegda schitaetsya nezhelatel'nym.
     *Nastorazhivayushchimi vas priznakami dolzhny sluzhit' sleduyushchie*:
     - poyavlenie kakoj-to novoj detali vnutri ili snaruzhi avtomobilya;
     - ostatki upakovochnyh materialov,  izolyacionnoj  lenty,  obrezkov
provodov nepodaleku ot avtomobilya ili vnutri salona;
     - natyanutaya leska,  provoloka,  provod,  shnur,  verevka,  tak ili
inache prikreplennaya k lyuboj chasti avtomobilya;
     - chuzhaya sumka, korobka, chemodan, paket, svertok vnutri salona ili
v bagazhnike;
     - poyavivshiesya uzhe posle  parkovki  mashiny  pakety  iz-pod  sokov,
moloka,   konservnye  banki,  svertki,  korobki  i  t.p.  nedaleko  ot
avtomobilya;
     Ostavlyaya mashinu  na  dlitel'nyj  srok bez prismotra (na noch',  na
vremya raboty,  na dache i t.d.), hotya by dazhe i v "nadezhnom" garazhe ili
na  ohranyaemoj  avtostoyanke,  ispol'zujte tak nazyvaemye "kontrol'ki".
|to znachit,  chto mezhdu kryl'yami i kapotom, na dveryah salona, na kryshke
gorloviny  benzobaka,  mezhdu  siden'em  i ramoj nado prikleivat' uzkie
poloski lipkoj lenty (izolyacionnoj,  lejkoplastyrya,  bumazhnoj i  t.d.)
pod  cvet dannogo uchastka.  Vmesto lentochek mozhno prikleivat' voloski,
oblomki  spichek.  Esli  eta  "signalizaciya"  okazhetsya  narushennoj,  ne
zavodite  mashinu,  nichego ne otkryvajte v nej (naprimer,  ne pytajtes'
podnyat' podushku siden'ya) do teh  por,  poka  ne  provedete  tshchatel'nyj
vizual'nyj  osmotr.  V  sluchae  vozniknoveniya podozrenij obrashchajtes' k
specialistam-saperam.
     Neobhodimo takzhe ustanovit' za pravilo,  chtoby mashinu obsledoval,
otkryval, zavodil, razogreval i trogal s mesta kto-to drugoj, a ne vy.
|tim  "drugim"  mozhet byt' vash lichnyj shofer,  telohranitel',  sluzhashchij
avtostoyanki libo kooperativnogo garazha, sosed po domu.
     Sovremennye vzryvchatye   veshchestva   (tipa   sovetskogo  plastita,
chehoslovackogo semteksa) i sredstva vzryvaniya pozvolyayut  specialistam,
imeyushchim   armejskuyu  podgotovku,  konstruirovat'  samye  raznoobraznye
miniatyurnye miny-lovushki.  K schast'yu, sredi prestupnikov takovyh malo.
Poetomu   oni   primenyat  v  bol'shinstve  sluchaev  kustarnye  vzryvnye
ustrojstva.
     Dlya pokusheniya  na  biznesmena  mozhet  ispol'zovat'sya  i  pochtovyj
kanal.  Vzryvnye ustrojstva,  napravlyaemye v pis'mah,  ispol'zuyutsya ne
dlya ubijstva,  a dlya ustrasheniya poluchatelya. Ved' 20-40 grammovyj zaryad
vzryvchatki mozhet  nanesti,  kak  pravilo,  tol'ko  ranenie  i  vyzvat'
sil'nyj  shok.  Dlya  unichtozheniya  primenyayut  ne  pis'ma,  a banderoli i
posylki.
     Vzryvnye ustrojstva,  kotorye zakladyvayut v konverty, banderoli i
posylki mogut byt'  kak  mgnovennogo,  tak  i  zamedlennogo  dejstviya.
Vzryvateli   mgnovennogo   dejstviya  vyzyvayut  srabatyvanie  vzryvnogo
ustrojstva  pri  nazhatii,  udare,   prokalyvanii,   snyatii   nagruzki,
razrushenii elementov  konstrukcii,  prosvechivanii  yarkim svetom i t.d.
Naprimer,  vzryvnye ustrojstva,  dejstvuyushchie po  principu  muzykal'noj
otkrytki,   vzryvayutsya   pri   ih  raskrytii.  Vzryvnye  ustrojstva  v
banderolyah srabatyvayut libo pri otkryvanii,  libo pri popytke  izvlech'
knigu  ili korobku iz upakovki.  Vzryvnye ustrojstva v posylkah obychno
srabatyvayut pri vskrytii kryshki posylochnogo yashchika.
     Vzryvateli zamedlennogo    dejstviya    po    istechenii    zaranee
ustanovlennogo sroka (ot neskol'kih chasov do  neskol'kih  sutok)  libo
vyzyvayut vzryv,  libo privodyat vzryvnoe ustrojstvo v boevoe polozhenie,
posle chego srabatyvanie vzryvnogo ustrojstva  proishodit  mgnovenno  v
sluchae vneshnego vozdejstviya na nego.
     Odnako, nezavisimo  ot  tipa  vzryvatelya  i vzryvnogo ustrojstva,
*pis'ma,  banderoli i posylki s podobnoj nachinkoj  neizbezhno  obladayut
ryadom  priznakov*,  po  kotorym  mozhno ih otlichit' ot obychnyh pochtovyh
otpravlenij.  |ti priznaki delyatsya na osnovnye  i  vspomogatel'nye.  K
chislu osnovnyh priznakov otnosyat sleduyushchie:
     - tolshchina pis'ma ot 3-h mm i vyshe,  pri etom v nem est' otdel'nye
utolshcheniya;
     - smeshchenie centra tyazhesti pis'ma (paketa) k odnoj iz ego storon;
     - nalichie v konverte peremeshchayushchihsya predmetov ili poroshkoobraznyh
materialov;
     - nalichie vo vlozhenii metallicheskih libo plastmassovyh predmetov;
     - nalichie  na  konverte maslyanyh pyaten,  prokolov,  metallicheskih
knopok, polosok i t.d.;
     - nalichie   neobychnogo   zapaha   (mindalya,   marcipana,   zhzhenoj
plastmassy i drugih);
     - "tikanie"  v  banderolyah i posylkah chasovogo mehanizma (odin iz
samyh prostyh i rasprostranennyh vzryvatelej delayut s pomoshch'yu obychnogo
budil'nika);
     - v  konvertah  i   paketah,   v   posylochnyh   yashchikah   pri   ih
perevorachivanii slyshen shoroh peresypayushchegosya poroshka.
     Nalichie hotya by odnogo iz perechislennyh priznakov  (a  tem  bolee
srazu   neskol'kih)  pozvolyaet  predpolagat'  prisutstvie  v  pochtovom
otpravlenii vzryvnoj "nachinki".
     *K chislu vspomogatel'nyh priznakov otnosyatsya*:
     - osobo tshchatel'naya zadelka  pis'ma,  banderoli,  posylki,  v  tom
chisle lipkoj lentoj, bumazhnymi polosami i t. d.;
     - nalichie nadpisej tipa "lichno v ruki",  "vskryt' tol'ko  lichno",
"vruchit'    lichno",    "sekretno",   "tol'ko   direktoru   (vladel'cu,
predsedatelyu)" i t. d.;
     - otsutstvie    obratnogo   adresa   ili   familii   otpravitelya,
nerazborchivoe ih napisanie, yavno vymyshlennyj adres;
     - samodel'naya nestandartnaya upakovka.
     S uchetom skazannogo,  sledujte trem  obyazatel'nym  pravilam:  vsyu
pochtu dolzhen vskryvat' tol'ko sekretar',  no ne vy;  delat' eto nado v
special'no otvedennom pomeshchenii podal'she ot vashego kabineta;  v sluchae
polucheniya   podozritel'noj   korrespondencii   sekretar'   dolzhen  vas
informirovat', a vam nado reshit', stoit li vyzyvat' specialistov.
     Skazannoe zdes'  o  postoronnih predmetah,  ostatkah izolyacii,  o
provodah i prochem, imeet znachenie i v otnoshenii ofisa, kvartiry, dachi,
pod容zda,  dazhe  obychnoj  vhodnoj  dveri,  esli  tol'ko vy etoj dver'yu
pol'zuetes' sistematicheski.  Krome togo,  obrashchajte vnimanie na  sledy
remontnyh  rabot,  svezhuyu okrasku (osobenno otdel'nyh uchastkov) sten i
polov,  na perestanovku mebeli,  na poyavlenie lyubyh  novyh  predmetov.
Naprimer,  200  gramm  plastita  netrudno  spryatat' v korpus faksa,  v
cvetochnyj gorshok,  v radiotelefonnuyu trubku.  No etih dvuhsot  grammov
bolee  chem dostatochno,  chtoby avtomobil' tipa "Vol'vo" vmeste so vsemi
passazhirami prevratilsya v pylayushchij katafalk,  a v komnate ploshchad'yu  24
kvadratnyh metra ne ostalos' ni odnogo zhivogo cheloveka!



     - izbegajte vyhodit' iz doma i ofisa v odinochku.  Peredvigat'sya v
gruppe vsegda bezopasnee;
     - starajtes',  po vozmozhnosti,  izbegat' postoyannyh marshrutov pri
poezdkah na rabotu i s nee.  Opyt pokazyvaet,  chto prestupniki  obychno
derzhat svoyu zhertvu pod nablyudeniem,  chtoby vybrat' naibolee podhodyashchee
mesto i vremya dlya napadeniya.  Vyberite hotya by  4  raznyh  marshruta  i
pol'zujtes'  imi  po  principu sluchajnogo vybora.  Nepredskazuemost' -
vasha luchshaya zashchita;
     - starajtes'  ezdit'  po  ozhivlennym dorogam,  izbegat' pustynnyh
ulochek i proselochnyh dorog.  Proveryajte, ne presleduet li vas kakoj-to
avtomobil'.  Pri  dvizhenii  po  mnogoryadnomu  shosse  zanimajte mesto v
srednem ryadu,  chtoby ne dat'  vozmozhnosti  prizhat'  vash  avtomobil'  k
obochine;
     - kogda  edete  v  mashine,  zakryvajte  vse  dveri   na   knopki,
ostavlyajte otkrytym lish' vetrovik. Esli vas ostanovili (naprimer, GAI)
ne vyhodite iz mashiny, vo vsyakom sluchae, esli mesto pustynnoe, a vremya
sutok  temnoe.  Mashinu derzhite na peredache,  chtoby imet' vozmozhnost' v
lyuboj moment dat' gaz;
     - esli  vam  kazhetsya,  chto  za  vami  sledyat  iz  drugoj  mashiny,
prover'te eto, vnezapno menyaya napravlenie dvizheniya ili skorost', rezko
perestraivayas'  iz  ryada  v  ryad  i  neozhidannymi ostanovkami.  Esli v
podozritel'noj   mashine   prestupniki,   im    pridetsya    reagirovat'
sootvetstvuyushchim obrazom;
     - esli vashi  podozreniya  opravdyvayutsya,  nemedlenno  svyazhites'  s
miliciej ili so svoej sobstvennoj "brigadoj bystrogo reagirovaniya". Na
etot sluchaj u vas obyazatel'no dolzhen imet'sya radiotelefon. |tot pribor
ne roskosh',  a zhiznenno vazhnoe sredstvo bezopasnosti i biznesa.  Nashli
den'gi na avtomobil', najdite i na radiotelefon;
     - esli mashina s prestupnikami peregorodila vam put' (chashche vsego v
takih sluchayah ispol'zuyut "nozhnicy" - odna  mashina  perekryvaet  dorogu
speredi,   drugaya  -  szadi),  na  bol'shoj  skorosti  bejte  v  mesto,
sootvetstvuyushchee odnoj treti mashiny  (srazu  za  perednim  kolesom  ili
pered  zadnim).  Ni v koem sluchae ne ostanavlivajtes'.  Esli mestnost'
pozvolyaet, uhodite na skorosti po obochine, po bezdorozh'yu;
     - esli  prestupnik  gotovitsya  nachat'  strel'bu  po vashej mashine,
uvelichivajte skorost' i naprav'te avtomobil' pryamo na  nego.  Ot  pul'
ukrojtes' prignuvshis' nizhe lobovogo stekla,  no prodolzhaya derzhat' rul'
rukami v izbrannom napravlenii.  Sbiv prestupnika mashinoj,  ne trat'te
vremya na vyyasnenie togo,  v kakom on sostoyanii. Nemedlenno uezzhajte na
maksimal'noj skorosti;
     - neobhodimo, chtoby vse mesta v avtomobile (a ne tol'ko perednie)
byli snabzheny poyasami bezopasnosti.  ZHelatel'no takzhe  ukrepit'  salon
iznutri  dopolnitel'nym  rebrom  zhestkosti,  isklyuchayushchim splyushchivanie v
sluchayah padeniya pod otkos  ili  tarana.  Voobshche  govorya,  pri  zhelanii
avtomobil'  lyuboj  marki  mozhno s pomoshch'yu umel'cev tak oborudovat' dlya
"vojny na dorogah", chto on stanet svoego roda "bronenosnym krejserom".
I togda vy smetete s puti lyuboj avtomobil', kto by im ni upravlyal;
     - esli v  salon  avtomobilya  zabrosili  butylku  s  zazhigatel'noj
smes'yu,  ne ostanavlivajtes'.  Temperatura vnutri salona ne podnimetsya
vyshe 55-60 gradusov,  a takaya temperatura  ne  opasna  dlya  zhizni.  Na
predel'noj  skorosti  uhodite  ot  mesta  proisshestviya  - ved' butylku
brosili imenno dlya togo,  chtoby "vykurit'" vas iz mashiny.  Esli  hotyat
unichtozhit',  to brosayut granatu tipa F-1,  a sam prestupnik nemedlenno
skryvaetsya.



     - *Priezzhajte na rabotu i uezzhajte s nee v  raznoe  vremya*.  Esli
vozmozhno,  pol'zujtes' raznymi vhodami v zdanie.  Esli vhod v vash ofis
tol'ko odin, obespech'te postoyannyj kontrol' za nim;
     - *Izbegajte  priezzhat'  v  ofis  v chasy,  kogda tam nikogo net*.
Osteregajtes' lyubogo  postoronnego  cheloveka,  bez  dela  slonyayushchegosya
vozle  zdaniya ili po koridoru.  Trebujte ot svoej ohrany vyyasneniya ego
lichnosti;
     - *Ne stojte bescel'no vozle okon*. Ne raspolagajte ryadom s oknom
svoe rabochee mesto,  esli ego mozhno prosmatrivat' s ulicy,  iz okon (v
tom chisle cherdachnyh) blizhajshih zdanij;
     - *Otnosites'  ostorozhno  k  pros'bam  o   fotografirovanii   ili
interv'yu  u  sebya doma*.  Predvaritel'no opredelite vremya vizita,  ego
prodolzhitel'nost',  chto vy pozvolite sfotografirovat' ili chto skazhete.
Na  vremya  vizita obespech'te sebya ohranoj.  Ne vpuskajte bol'shee chislo
lyudej,  chem eto bylo ogovoreno zaranee.  V lyubom sluchae ih  ne  dolzhno
byt' bolee dvuh;
     - *Sdelajte tak,  chtoby vashi deti hodili v shkolu  i  iz  shkoly  v
soprovozhdenii vzroslyh*. Predupredite uchitelej, chto vashih detej ni pri
kakih obstoyatel'stvah ne mogut vstrechat' i otvozit' domoj  postoronnie
lyudi, v tom chisle zhenshchiny;
     - *Ishodite  vsegda  iz  togo  predpolozheniya,  chto  vash   telefon
proslushivaetsya*.  Bud'te ochen' ostorozhny v telefonnyh razgovorah.  |to
kasaetsya kak sluzhebnyh telefonov,  tak i  domashnego,  a  tem  bolee  -
radiotelefona;
     - *Predupredite rodnyh i blizkih vam lyudej, chtoby oni ne vpuskali
v dom neznakomyh*, nikomu ne soobshchali svedenij o vashej deyatel'nosti, o
mestonahozhdenii  (pomimo  ofisa,  razumeetsya),  ne  prinimali  nikakih
paketov ili predmetov, esli ne znayut, ot kogo oni prislany;
     - *Otnosites' nastorozhenno k licam,  vydayushchim sebya za  rabotnikov
gorodskih  kommunal'nyh  sluzhb,  za  remontnyh  rabochih,  za roznichnyh
torgovcev*,  vdrug poyavivshihsya v rajone vashego  doma  ili  ofisa  (byl
sluchaj,  kogda  ubijca  zamaskirovalsya pod ulichnogo prodavca fruktov i
ustanovil svoyu telezhku  ryadom  s  domom  zhertvy.  Biznesmen  vyshel  iz
pod容zda i poluchil neskol'ko pul');
     - *Ne obsuzhdajte plany delovyh poezdok i vstrech  pri  postoronnih
lyudyah*. Ne  vedite  delovyh  peregovorov  po  telefonu  v  prisutstvii
posetitelej.  Esli vam v eto  vremya  zvonyat,  predlagajte  perezvonit'
pozzhe;
     - *Podderzhivajte  druzheskie  otnosheniya  s  sosedyami,  osobenno  s
pozhilymi*. Imenno pensionery (osobenno zhenshchiny),  provodyashchie celye dni
na  lavochkah  vozle   doma,   mogut   pervymi   vas   predupredit'   o
podozritel'nyh  tipah,  o tom,  chto kto-to interesuetsya vami ili vashej
mashinoj, vashimi det'mi, pytalsya proniknut' v kvartiru i t.d.;
     - *Obsudite  s sem'ej,  chto oni dolzhny delat' v tom sluchae,  esli
vas ili kogo-to iz nih pohityat*.  Sdelajte  neobhodimye  finansovye  i
inye rasporyazheniya na etot sluchaj, ukazhite nomera telefonov, po kotorym
nado zvonit',  voobshche razrabotajte svoj "krizisnyj  plan".  Esli  bedu
zhdesh', ot nee men'she vreda, kogda ona prihodit.



     *Reket ili   vymogatel'stvo*   -   samyj   rasprostranennyj   vid
prestuplenij,  sovershaemyh v otnoshenii biznesmenov.  Luchshaya zashchita  ot
vymogatel'stva   -  glubokaya  nishcheta.  No  poskol'ku  biznesmen  -  po
opredeleniyu - k nishchim ne otnositsya,  rassmotrim  *dva  naibolee  chasto
vstrechayushchihsya vida reketa*.
     1. Predprinimatelya shantazhiruyut tem, chto ugrozhayut predat' oglaske,
libo  napravit'  v  "kompetentnye  organy"  kakie-to  opasnye dlya nego
svedeniya.  Naprimer,  soobshchit' v nalogovuyu policiyu o tom, chto on skryl
ot   nee   ves'ma  znachitel'nuyu  summu.  Ili  kupil  vorovannyj  tovar
(varianty:  brakovannyj,  s vyshedshim srokom godnosti, nekondicionnyj i
t.d.).
     V etom sluchae,  prezhde vsego,  nado tyanut' vremya, chtoby vyyasnit',
naskol'ko osvedomlen shantazhist ob istinnom sostoyanii vashih del i chtoby
popytat'sya obnaruzhit' ego (s pomoshch'yu specialistov, konechno). Naprimer,
vy mozhete strastno i argumentirovano dokazyvat',  chto trebuemaya ot vas
summa nemyslimo velika,  u vas takih deneg prosto net, po krajnej mere
v  dannyj  moment.  Vy  mozhete  takzhe  ottyagivat'  vyplatu  pod vpolne
razumnym i ubeditel'nym predlogom proverki ser'eznosti teh dokumentov,
kotorye est' u shantazhista.
     Vpolne veroyatno,  chto svedeniya eti ne tak uzh i strashny,  a  to  i
vovse  oshibochny.  Ni  v  koem  sluchae  ne  speshite  radostno  soobshchat'
anonimnomu vragu o tom,  chto ego ugrozy vam  ne  strashny.  Ispol'zujte
informacionnoe   preimushchestvo   v   svoih   interesah.   Kak  minimum,
zapisyvajte svoi  telefonnye  peregovory  na  magnitofon.  Sovremennaya
tehnika  pozvolyaet  so  100%  tochnost'yu otozhdestvlyat' golosa lyudej,  k
kakim by uhishchreniyam oni ni pribegali dlya maskirovki.
     Eshche odno horoshee sredstvo zashchity - dezinformaciya. Esli u Vas est'
hotya by ten' podozreniya,  chto  kto-to  ohotitsya  za  komprometiruyushchimi
materialami - pojdite ohotniku navstrechu.  Organizujte rasprostranenie
sootvetstvuyushchih sluhov,  zagotov'te fal'shivye dokumenty i sdelajte vse
neobhodimoe  dlya  togo,  chtoby  "zhelayushchie" smogli oznakomit'sya s nimi.
Pustiv v obrashchenie "dezu",  vy skoree vsego  sprovociruete  vymogatelya
sdelat'  pervyj  shag.  Tem  samym vy smozhete ustanovit' ego lichnost' i
poluchite oruzhie protiv nego,  nichem  ne  riskuya  sami.  Obshchee  pravilo
glasit, chto shantazhisty chashche vsego nahodyatsya sredi blizhajshego okruzheniya
biznesmena.  |to mogut byt'  byvshie  sotrudniki,  partnery  po  delam,
sosedi,  dazhe  rodstvenniki,  nedovol'nye  vami  i  svoimi zarabotkami
sluzhashchie, vspomogatel'nyj personal.
     2. Vtoroj  variant,  - eto kogda prestupniki trebuyut im zaplatit'
za to,  chtoby oni  ne  sdelali  chego-nibud'  plohogo  biznesmenu,  ego
blizkim,  ego firme. Populyarnye varianty v dannom sluchae - navyazyvanie
"ohrany",  ili predlozhenie "vzyat' na rabotu" s ustanovleniem ogromnogo
oklada. V tom, chto voznikaet podobnaya situaciya, neredko byvaet vinovat
sam biznesmen.  Naprimer, v teh sluchayah, kogda on obrashchaetsya k "krutym
parnyam"  dlya vykolachivaniya dolgov u zlostnyh neplatel'shchikov.  I togda,
kogda  on  prosit  "avtoritetov"  prestupnogo  mira  uladit'  kakoe-to
shchekotlivoe delo, ne vpolne normal'noe s tochki zreniya zakona.
     Esli na vas "naezzhaet" krupnaya prestupnaya  gruppirovka,  to  ona,
skoree vsego,  ogranichitsya nalozheniem "dani", ne prevyshayushchej 10-15-20%
ot  dohoda  predpriyatiya.  A  vot  nebol'shie  bandy  ("bespredel'shchiki")
stremyatsya   k  maksimal'nomu  vybivaniyu  sredstv,  vplot'  do  polnogo
razoreniya predprinimatelya. No i v tom, i v drugom sluchae sleduet imet'
v vidu,  chto  vypolnenie  pervonachal'nyh  trebovanij  (chasto  dovol'no
umerennyh) - eto lish' sposob popast' na kryuchok.  Budut potom vse novye
summy i vse novye usloviya.
     Kak protivostoyat'?  Nu, prezhde vsego tozhe nado maksimal'no tyanut'
vremya,  chtoby  vyyasnit',  kto  na  vas  "naezzhaet",  i  kakova stepen'
real'noj  ugrozy.  Obyazatel'no  nado  obratit'sya  k  specialistam   iz
ohrannoj  firmy,  libo  v miliciyu - eto vam luchshe reshat' samomu,  komu
doverit'sya.  Samyj effektivnyj sposob protivodejstviya reketiram -  eto
vstrechnyj reket. No on zhe samyj slozhnyj i dorogostoyashchij. Gorazdo proshche
ogranichit'sya   reshitel'nym   otkazom,   podkreplennym    demonstraciej
kollektivnoj   sily:  poyavleniem  na  gorizonte  milicii,  ohrannikov,
telohranitelej,  osushchestvleniem kompleksa mer bezopasnosti,  vyyavlenie
istochnikov  informacii  (kto  na  vas  "stuchit"),  poiskom  podslushek,
razrabotkoj plana dejstvij vashih  rodnyh  i  sotrudnikov  v  krizisnoj
situacii  (zahvat  zalozhnikov,  pohishchenie  detej,  akcii  ustrasheniya).
Krizisnyj plan pomozhet maksimal'no smyagchit' udar, esli on vse zhe budet
nanesen, izbezhat' paniki, neprodumannyh reshenij.



     Sredi vseh vidov prestuplenij v SNG pochti 70%  sostavlyayut krazhi i
grabezhi  imushchestva  grazhdan   (vklyuchaya,   estestvenno,   biznesmenov),
sobstvennosti   predpriyatij   i  firm.  I  kazhdoe  tret'e  sredi  etih
imushchestvennyh prestuplenij bylo bukval'no sprovocirovano  bespechnost'yu
vladel'cev libo nedostatochnoj zashchishchennost'yu mest hraneniya material'nyh
cennostej.  S uchetom skazannogo ya hochu rasskazat' o merah preventivnoj
zashchity avtomobilya, kvartiry, kottedzha.
     *Avtomashina*. Samaya nadezhnaya mera predostorozhnosti - ne ostavlyat'
ee bez  prismotra  ni  na  minutu.  Naprimer,  esli  u vas est' lichnaya
ohrana,  pust' kto-to iz telohranitelej vsegda nahoditsya v  avtomobile
ili  ryadom  s nim.  Vsem ostal'nym biznesmenam sleduet vo vseh sluchayah
ostavlyat' mashinu v takom meste,  chtoby ona  byla  pod  prismotrom:  na
ohranyaemoj stoyanke, v pole zreniya iz okna ofisa (kvartiry), v garazhe.
     Napomnyu o takih prozaicheskih veshchah (Uvy!  Pochemu-to o nih slishkom
chasto zabyvayut),  kak zakrytye okna i zapertye dveri, kak otsutstvie v
salone cennyh veshchej,  portfelej i verhnej odezhdy (vory obychno  dumayut,
chto  tam lezhat den'gi),  kak klyuch zazhiganiya,  spryatannyj v vash karman.
Vernuvshis' k mashine posle otluchki,  zaglyanite vnutr', ubedites', chto v
nej   nikogo   net,  nikto  ne  spryatalsya  na  polu  mezhdu  siden'yami.
Osmotrites' vokrug,  net li nepodaleku podozritel'noj kompanii. Inogda
prestupniki "lovyat" vladel'cev avtomobilej imenno v tot moment,  kogda
oni otkryvayut  dveri,  chtoby  sest'  za  rul'.  Osobenno,  esli  mesto
bezlyudnoe ili temnoe.
     Skeptiki govoryat,  chto opytnogo ugonshchika  ne  ostanovit  ohrannoe
ustrojstvo,  odnako  na  to  oni  i  skeptiki.  Statistika  utverzhdaet
obratnoe.  Popytka ugona v vos'mi sluchayah iz desyati  provalitsya,  esli
mashina   oborudovana   tak   nazyvaemymi   "sekretkami",  otklyuchayushchimi
akkumulyator,  stoporyashchimi  rulevuyu  kolonku  i  pedal'   scepleniya   i
soedinennymi,  k tomu zhe, s signal'noj sirenoj. Konechno, stoprocentnoj
garantii  ne  dast  nikto  (tem  bolee,  chto  tehnicheskaya  odarennost'
nekotoryh  prestupnikov  vyzyvaet  voshishchenie),  no vse zhe special'nye
zashchelki na vetroviki, na perednie i zadnie stekla, hitroumnye stopory,
protivougonnye  ustrojstva  zastavlyayut  nervnichat'  dazhe samyh opytnyh
professionalov.  Oni tozhe lyudi,  rabotat' v usloviyah stressa ne lyubyat,
poetomu vyberut sebe bolee dostupnyj ob容kt, chem vasha "tachka".
     Ne polenites' nanesti special'nuyu  markirovku  na  fary,  stekla,
kolesa,   radiopriemnik  i  magnitofon.  |ta  markirovka  dolzhna  byt'
dostatochno izyashchnoj s tochki zreniya estetiki,  i v to zhe vremya zametnoj:
ne tak uzh mnogo najdetsya prestupnikov,  sposobnyh pozarit'sya na veshch' s
klejmom vladel'ca.  Ochen' horoshee sredstvo zashchity - special'naya plenka
ARM   360,   ustanavlivaemaya   na  avtomobil'nye  stekla,  znachitel'no
uvelichivayushchie vremya i rezko suzhayushchaya vozmozhnosti proniknoveniya  vnutr'
salona s pomoshch'yu lomika il molotka.
     Eshche odno   vazhnoe   obstoyatel'stvo   -   avtomobil'    neobhodimo
zastrahovat'. Davno ved' skazano, chto "skupoj platit dvazhdy". Esli vam
suzhdeno  poteryat'  svoego  "stal'nogo  konya",  vy  smozhete   hotya   by
kompensirovat' stoimost' utraty.



     *Pomeshchenie*. Dlya  togo,  chtoby  ograbit'  kvartiru  ili  kottedzh,
prestupniku nado popast' vnutr' pomeshcheniya.  Putej proniknoveniya  vsego
tri:   dveri,   okna,   balkony  (bolee  ekzoticheskie  sposoby,  vrode
probivaniya sten napravlennym vzryvom, ostavim kinoshnikam).
     Itak, *dver'*:
     - Dver' sleduet delat' iz prochnogo materiala, tolshchinoj ne menee 7
sm. Neploho pokryt' ee metallicheskim listom. Metall nado zamaskirovat'
kraskoj,  sintetikoj,  rejkami,  kozhezamenitelem,  chtoby ne privlekat'
lishnego  vnimaniya.  Eshche  luchshe  stavit'  dvojnuyu  dver'  -  pervuyu  iz
drevesiny, vtoruyu - metallicheskuyu.
     - V sovremennyh kvartirah prochnaya dver' legko vybivaetsya vmeste s
dvernoj korobkoj.  Poetomu vazhno  osnovatel'no  ukrepit'  etu  korobku
metallicheskimi shtyryami, zabetonirovannymi v stenah, potolke i polu.
     - Obyazatel'noe trebovanie  -  dver'  dolzhna  otkryvat'sya  naruzhu,
takuyu  uzhe  ne  vyb'esh'.  Esli  na nee postavit' k tomu zhe,  nakladnoj
zamok, to ego trudnee budet vzlomat', otzhat' rigel' zamka.
     - Usil'te  stvor  dveri  i  dvernoj korobki ugol'nikami iz stali,
chtoby prestupnik ne mog vstavit' v shchel' lomik ili topor.
     - Stav'te  na  dver'  ne  menee  dvuh  nadezhnyh  zamkov razlichnoj
konstrukcii (naprimer,  odin cilindrovyj,  a drugoj  suval'dnyj).  Oni
dolzhny byt' udaleny drug ot druga ne menee, chem na 35-40 sm.
     - Zamki  nado  stavit'  s  mehanizmami  vysokoj   sekretnosti   i
prochnosti, naprimer, s krestoobraznymi klyuchami ili s cifrovym naborom.
Prezhde,  chem ustanavlivat'  zamki  na  dver',  dajte  ih  slesaryu  (ne
znayushchemu   vas   i  vashej  kvartiry)  i  poprosite  nemnogo  uslozhnit'
konfiguraciyu klyucha,  a takzhe dorabotat' zamki.  |to delaetsya prosto: v
cilindrovyj   zamok   vvoditsya   upor,   v   suval'dnyj  vvorachivaetsya
dopolnitel'nyj vint.
     - Naruzhnuyu  dver'  obyazatel'no  osnastite  prochnoj  metallicheskoj
cepochkoj i hotya by odnim nadezhnym zasovom.  Smotrovoj glazok  v  dveri
tozhe ne pomeshaet,  odnako luchshe bylo by zakazat' kakomu-nibud' umel'cu
prostejshij  periskop.  Togda  mozhno  budet   obozrevat'   sverhu   vse
prostranstvo  pered  dver'yu,  ne  riskuya  poluchit'  pulyu  v glaz cherez
smotrovoe otverstie.
     - ZHelatel'no, chtoby zapirayushchee ustrojstvo naruzhnoj dveri ne imelo
otverstiya dlya  klyucha  (naprimer,  elektronnyj  zamok  s  distancionnym
kodovym  upravleniem i avtonomnoj sistemoj pitaniya).  Delo v tom,  chto
nekotorye prestupniki vpryskivayut cherez skvazhinu kislotu,  raz容dayushchuyu
ustrojstvo mehanicheskogo zamka.
     - Ispol'zujte metod dezinformacii.  CHtoby  vvesti  prestupnika  v
zabluzhdenie, ukrepite gde-nibud' v verhnej polovine stvora dveri lyuboj
datchik ot staroj signalizacii.  Krome togo, cvetnym provodom provedite
liniyu  iz kvartiry v raspredelitel'nuyu korobku na lestnichnoj ploshchadke,
nichego k etomu provodu  ne  prisoedinyaya.  Nalichie  datchika  i  provoda
zastavit  kvartirnogo  vora  zadumat'sya.  On ved' znaet,  chto v moment
razrusheniya provoda ili datchika signalizaciya vse ravno srabotaet.
     *Okna* yavlyayutsya  naibolee uyazvimym mestom lyubogo pomeshcheniya.  Ved'
steklo  legko  razbit',  vydavit',  vyrezat'  steklorezom.  CHto  mozhno
posovetovat'  dlya zashchity okon?  Vo-pervyh,  na okna v zhilyh pomeshcheniyah
stav'te  tol'ko  dvojnye  ramy   povyshennoj   prochnosti.   Esli   okna
otkryvayutsya,  pozabot'tes' o tom,  chtoby u nih byli krepkie i nadezhnye
shpingalety.
     Vo-vtoryh, okna  pervyh  etazhej,  osteklennye  dveri  balkonov  i
lodzhij, okna, raspolozhennye ryadom s pozharnoj lestnicej, s derev'yami, s
kryshej primykayushchih zdanij, neobhodimo prikryvat' reshetkami. CHtoby vashe
zhilishche  ne  pohodilo  na  tyur'mu,   priobretajte   reshetki   neobychnoj
konfiguracii, vypolnennye s uchetom esteticheskih trebovanij.
     V-tret'ih, ispol'zujte zashchitnye plenki,  nakleivaemye  na  stekla
(tipa Bryuksafol', ARM 360 i dr.). Takie plenki uderzhivayut razbitoe ili
tresnuvshee steklo  v  rame,  ne  davaya  emu  razletet'sya  na  oskolki.
Blagodarya  etomu  ono  prodolzhaet  vypolnyat'  svoi  zashchitnye  funkcii,
prepyatstvuya  proniknoveniyu  snaruzhi.  Kstati,  steklo   s   nanesennoj
zashchitnoj  plenkoj  uspeshno  protivostoit  vzryvnoj  volne i butylkam s
zazhigatel'noj smes'yu ("koktejlem Molotova").
     V-chetvertyh, kazhdoe okno prosmatrivaemoe izvne (s ulicy,  iz okon
zdanij raspolozhennyh naprotiv) zakryvajte  iznutri  plotnymi  shtorami.
Otsutstvie  informacii  o  tom,  chto  proishodit  v pomeshchenii,  tozhe v
kakoj-to mere zashchishchaet zhilishche ot nezhelatel'nyh vizitov.
     *Balkony*, nezavisimo     ot    etazha,    neobhodimo    ograzhdat'
dekorativnymi reshetkami dostatochnoj prochnosti.  Luchshe vsego prevrashchat'
ih v osteklennye lodzhii,  a stekla okleivat' zashchitnoj plenkoj (srok ee
ekspluatacii v nashih pogodnyh usloviyah ne menee 10 let).



     *Signalizaciya*. Celesoobrazno zaklyuchit' dogovor s mestnym otdelom
milicii  o tehnicheskoj ohrane kvartiry.  Esli eto po kakim-to prichinam
nevozmozhno  (ili  nezhelatel'no),  osnastite   svoe   zhilishche   sistemoj
signalizacii. Imenno sistemoj, to est' celym kompleksom priborov, a ne
odnim-edinstvennym ustrojstvom na dveri.
     Signal'nye ustrojstva  dlya  ohrany  imeyutsya  na  rynke  v bol'shom
vybore.  Sredi nih detektory razbitiya stekol,  vzloma dverej i zamkov,
peredvizheniya lyudej vnutri pomeshchenij,  peremeshchenij razlichnyh predmetov.
Datchiki  signal'nyh  priborov  mozhno  razmeshchat'  na   dveryah,   oknah,
reshetkah,  stenah,  potolke,  mebeli, ustanavlivat' ih v osvetitel'noj
armature,  bytovyh elektropriborah. V zavisimosti ot principa dejstviya
oni     byvayut     infrakrasnymi,    sejsmicheskimi,    mikrovolnovymi,
akusticheskimi,      televizionnymi,      kompleksnymi       (naprimer,
infrakrasno-mikrovolnovymi).     Naibolee    effektivny    kompleksnye
ustrojstva, no oni i dorozhe drugih.
     Reshaya vopros   ob  ustanovke  ohrannoj  signalizacii,  neobhodimo
prezhde zadumat'sya o tom, komu eta sistema budet signalizirovat'? Vashej
ohrane, milicii,  sosedyam,  sluchajnym  prohozhim?  Ili  neposredstvenno
vladel'cu s pomoshch'yu radioperedatchika?  Vtoroj vopros togo zhe roda: kak
skoro  na  mesto  proisshestviya  smozhet  yavit'sya vasha "brigada bystrogo
reagirovaniya"?  I  est'  li  voobshche  u  vas  specialisty  dlya  vstrechi
neproshenyh gostej?
     *Sejfy*. Na tot sluchaj,  esli nichto ne ubereglo vashu kvartiru ili
ofis  ot  vtorzheniya  prestupnikov,  neobhodimo  imet' poslednyuyu "liniyu
oborony" - nadezhnye sejfy.  V stacionarnyh i  stennyh  sejfah  sleduet
hranit'  den'gi,  cennye  bumagi,  dokumenty,  dragocennosti,  oruzhie,
drugie predmety, kotorye vy hotite sohranit' neprikosnovennymi.
     Na rynke  mozhno sejchas najti sejfy raznyh razmerov i konstrukcij:
ot   samyh   malen'kih   (16,5h37,5h35   sm),   prednaznachennyh    dlya
betonirovaniya   v  stene,  do  bronirovannyh  shkafov  (140h65h60  sm).
Naibolee predpochtitel'ny te modeli, kotorye imeet zapirayushchie mehanizmy
s   mikroprocessornym   upravleniem   i  avtonomnoj  sistemoj  pitaniya
(garantijnyj  srok  sluzhby  bez  perezaryadki  batarej  -  2  goda)   i
obespechivayut zashchitu ne tol'ko ot vzloma, no i ot pozhara.



     Pohishchenie biznesmena ili chlenov ego sem'i s cel'yu vykupa yavlyaetsya
odnim iz rasprostranennyh vidov ugolovnyh  prestuplenij.  Krome  togo,
stat'  zalozhnikom  mozhno  sluchajno,  naprimer,  pri  ograblenii banka,
magazina,  kvartiry,  zagorodnogo kottedzha,  libo  pri  zahvate  lyudej
terroristami.
     Zalozhnik - eto chelovek, kotoryj nahoditsya vo vlasti prestupnikov.
Skazannoe  ne  znachit,  chto  on  voobshche  lishen vozmozhnosti borot'sya za
blagopoluchnoe razreshenie toj situacii,  v kotoroj okazalsya.  Naprotiv,
ot  ego  povedeniya  zavisit  mnogoe.  Vybor pravil'noj linii povedeniya
trebuet nalichiya sootvetstvuyushchih znanij.  Takovymi dolzhny obladat'  kak
sam biznesmen, tak i vse chleny ego sem'i.
     Klassicheskaya shema   pohishcheniya   vyglyadit   sleduyushchim    obrazom:
planirovanie,   podgotovka,   zahvat,  ukrytie  zalozhnika,  obshchenie  i
doprosy,  vedenie  peregovorov,  poluchenie  vykupa,  osvobozhdenie  ili
ubijstvo zhertvy.
     *Na etape   planirovaniya*   prestupniki   namechayut   ob容kt   dlya
pohishcheniya, summu predpolagaemogo vykupa, uchastnikov operacii, naibolee
podhodyashchie mesta dlya pohishcheniya, vedeniya peregovorov, polucheniya vykupa.
Naibolee   vazhnymi   momentami   etapa   planirovaniya   yavlyayutsya   dva
vzaimosvyazannyh:  vybor podhodyashchej zhertvy i opredelenie summy  vykupa.
Samyj bol'shoj vykup nashego vremeni sostavil 60 millionov dollarov.  On
byl uplachen prestupnikam v 1975 godu v Argentine za osvobozhdenie  dvuh
brat'ev  Born.  Samyj  bol'shoj iz izvestnyh vykupov v nashej strane byl
uplachen bande YAkshiyanca (5 chelovek), zahvativshej v dekabre 1989 goda 30
shkol'nikov vmeste s uchitel'nicej - 3 milliona dollarov.
     Ne vsegda v biznese pohishchenie svyazano s  vykupom.  Neredko  takim
sposobom  pytayutsya  poluchit'  kakuyu-to  vazhnuyu  informaciyu,  zastavit'
biznesmena pojti na nezhelatel'noe dlya nego sotrudnichestvo,  otkazat'sya
ot realizacii namechennyh planov i t.d.
     Preventivnye mery zashchity biznesmena  na  etom  etape  svodyatsya  k
osushchestvleniyu kompleksa obshchih mer bezopasnosti.  Osoboe znachenie sredi
nih imeyut sokrytie informacii o  svoem  blagosostoyanii,  maskirovka  i
dezinformaciya, nalichie lichnoj ohrany, provedenie operativnoj raboty po
vyyavleniyu potencial'nyh naletchikov.
     *Na etape   podgotovki*   prestupniki  udelyayut  bol'shoe  vnimanie
detal'nomu izucheniyu obraza zhizni namechennoj imi zhertvy (i vseh  chlenov
ego sem'i),  o teh mestah, gde on chashche vsego byvaet, o predprinimaemyh
im merah bezopasnosti.  Oni provodyat  tshchatel'noe  izuchenie  mestnosti,
utochnyayut marshruty dvizheniya mezhdu domom,  rabotoj,  drugimi poseshchaemymi
mestami,  vyyasnyayut raspolozhenie pomeshchenij v kvartire ili ofise, sektor
obzora  iz  okon  i  t.d.  Tak,  nakanune pohishcheniya odnogo moskovskogo
biznesmena on zametil,  chto v techenie neskol'kih  dnej  po  doroge  na
rabotu ego obgonyala odna i ta zhe inomarka,  kotoraya potom dolgoe vremya
nahodilas' na stoyanke  vozle  ego  ofisa.  Lyudi  ottuda  ne  vyhodili,
prodolzhaya ostavat'sya na svoih mestah.  Zametil,  no ne pridal znacheniya
uvidennomu, a sluzhby bezopasnosti u nego ne bylo.
     Izuchayut prestupniki   i   blizkih   druzej,   delovyh  partnerov,
priblizhennyh sotrudnikov biznesmena.  |to delaetsya dlya opredeleniya teh
lic,  kotorye  mogut  okazat'sya  poleznymi  pri  vedenii  peregovorov.
Utochnyayut ih imena i familii,  adresa prozhivaniya,  kvartirnye telefony,
marki  i registracionnye nomera lichnyh avtomobilej,  primety vneshnosti
dlya bystrogo i tochnogo opoznaniya.
     Mery zashchity na etom etape analogichny predydushchim, s toj ogovorkoj,
chto eshche bol'shee znachenie imeet operativnaya rabota sluzhby bezopasnosti.
Pri  nalichii  kvalificirovannyh sotrudnikov v ee shtate oni obyazatel'no
opredelyat vedenie slezhki,  povyshennoe vnimanie k biznesmenu, ego sem'e
i firme. Na to oni i professionaly.
     *Zahvat* yavlyaetsya central'noj chast'yu  operacii.  Analiz  podobnyh
akcij,  imevshih  mesto  na  Zapade,  pokazal,  chto 90%  vseh pohishchenij
biznesmenov proishodit v tot moment,  kogda zhertva nahoditsya v puti na
rabotu ili s raboty,  nedaleko ot kvartiry libo ofisa.  Inymi slovami,
dlya zahvata izbirayut  obychno  takoe  mesto,  gde  nevozmozhno  izmenit'
marshrut dvizheniya, dazhe esli udaetsya menyat' vremya priezda i ot容zda.
     Sudya po rasskazam byvshih zhertv i  uchastnikov,  tipovaya  akciya  po
zahvatu   osushchestvlyaetsya   sleduyushchim  obrazom.  Odin  iz  prestupnikov
dokladyvaet po radio ili telefonu o  tom,  chto  ob容kt  pokinul  mesto
raboty  (ili  kvartiru),  drugoj  prestupnik soobshchaet,  chto avtomashina
ob容kta priblizhaetsya  k  namechennomu  punktu.  Zdes'  ulicu  blokiruyut
special'no   podstroennym  avtomobil'nym  incidentom  ili  perekryvayut
"vnezapno slomavshimsya" avtofurgonom (gruzovikom).
     Sam zahvat  proizvoditsya  v tot moment,  kogda avtomashina ob容kta
ostanavlivaetsya u iskusstvenno sozdannogo prepyatstviya.  Zdes' vstupaet
v delo gruppa zahvata,  kotoraya mozhet skryvat'sya v avtomobile,  edushchem
za mashinoj ob容kta,  maskirovat'sya sredi peshehodov ili zhe nahodit'sya v
avtofurgone,  blokirovavshem  ulicu.  Na  otkrytyh  dorogah  za gorodom
prestupniki vystupayut v roli sotrudnikov GAI,  dorozhnyh rabochih i t.d.
Esli imeetsya ohrana,  ee rasstrelivayut,  nejtralizuyut elektroshokerami,
vyvodyat iz stroya gazovym oruzhiem,  dubinkami.  Nezavisimo ot togo,  na
kakom  avtomobile uvozyat zhertvu s mesta sobytiya (ee sobstvennom ili na
mashine prestupnikov) cherez neskol'ko kilometrov transportnoe  sredstvo
menyayut na drugoe.
     Pohishchenie iz doma - bolee slozhnaya operaciya,  tak  kak  svyazana  s
neobhodimost'yu proniknoveniya v kvartiru.  Dlya etogo prestupniki obychno
maskiruyutsya pod rabotnikov  kommunal'nyh,  bytovyh,  remontnyh  sluzhb,
sotrudnikov  telegrafa,  milicionerov.  Eshche  bolee  trudnym  schitaetsya
pohishchenie iz vnutrennih pomeshchenij ofisa,  osobenno,  esli tam  imeetsya
ohrana,   predusmotrena  blokirovka  dverej,  est'  signalizaciya.
     Kak pokazyvaet praktika,  zahvat chasto proizvoditsya togda,  kogda
ob容kt   vyhodit  iz  pod容zda  doma  (ofisa),  napravlyayas'  k  svoemu
avtomobilyu,  libo naoborot, vyhodya iz avtomobilya i napravlyaetsya k sebe
domoj (v ofis).
     Pri organizacii  operacij  po  zahvatu,   prestupniki   starayutsya
ispol'zovat'  v  svoih interesah ustojchivye privychki povedeniya ob容kta
pohishcheniya.  Naprimer,  odin iz peterburgskih biznesmenov, pohishchennyj s
cel'yu  vykupa,  v obedennoe vremya vmeste so svoej sekretarshej (byvshej,
kstati skazat',  ego lyubovnicej)  poseshchal  odin  i  tot  zhe  restoran,
raspolozhennyj nepodaleku ot ofisa. Vdvoem ih i pohitili. Drugoj ob容kt
imel  privychku  podolgu  zaderzhivat'sya  na  rabote  vecherom,  a  potom
pokidat' zdanie cherez zapasnoj vyhod,  vedushchij v tihij pereulok.  |tim
vospol'zovalis' prestupniki,  sumevshie shvatit' ego i uvezti tak,  chto
absolyutno  nikto  nichego ne zametil.  Est' sluchai zahvata biznesmenov,
imevshih privychku ezhednevno rano utrom delat' fizzaryadku na  sportivnoj
ploshchadke sosednej shkoly.  Tam ih i brali, pryamo v sportivnom kostyume i
krossovkah.
     Pomimo privychek   svoih   zhertv,   prestupniki   starayutsya  takzhe
ispol'zovat' lyubye obstoyatel'stva,  pomogayushchie  im  vyigrat'  vremya  i
ottyanut'  moment obnaruzheniya fakta pohishcheniya.  Naprimer,  v Moskve byl
sluchaj,  kogda zhena  biznesmena  ushla  iz  doma  vmeste  s  dochkoj  po
magazinam,  a sam on predupredil ee, chto posle raboty nameren posetit'
sportivnyj zal. Mezhdu temi telefon proslushivalsya. V itoge v sportivnom
klube  nikto  ne obratil vnimanie na ego otsutstvie,  a doma hvatilis'
tol'ko cherez tri chasa.  |togo vremeni  prestupnikam  bylo  dostatochno,
chtoby nadezhno spryatat' svoyu zhertvu.
     V bol'shinstve   sluchaev    tshchatel'no    splanirovannye,    horosho
podgotovlennye   operacii   po   pohishcheniyu  lyudej  nosyat  bystrotechnyj
harakter.  Tak,  ital'yanskie terroristy iz "Krasnyh brigad"  neskol'ko
mesyacev  gotovili  pohishchenie  prem'er-ministra  Al'do Moro,  a na samu
operaciyu im ponadobilas' vsego lish' odna minuta.
     Glavnuyu rol'  v nejtralizacii popytok zahvata biznesmena prizvana
igrat' lichnaya ohrana. Imeetsya v vidu ee rabota po zaranee otrabotannym
tipovym  shemam,  vklyuchayushchim  gramotnoe prikrytie klienta,  postoyannuyu
gotovnost'  k  neozhidannomu  napadeniyu  (v  tom  chisle  s  primeneniem
ognestrel'nogo  oruzhiya),  ispol'zovanie  dopolnitel'nyh sredstv zashchity
(svetozvukovyh granat, sobak, signalizacii i dr.).



     V moment  zahvata  prestupniki   dejstvuyut   besceremonno,   dazhe
zhestoko.  Neredko zhertvu lishayut soznaniya udarom po golove, libo vvodyat
ob容ktu sil'nodejstvuyushchie  medicinskie  preparaty.  Delaetsya  eto  dlya
togo,  chtoby ob容kt ne soprotivlyalsya, ne pytalsya ubezhat', ne privlekal
vnimanie postoronnih lyudej i ne mog ponyat',  kuda ego vezut.  Dlya  teh
lyudej,  kotorye  ploho  vladeyut  svoimi  emociyami,  narkotiki v dannom
sluchae  mogut  okazat'sya  poleznymi,  tak  kak  oni  snizhayut   stepen'
psihicheskogo potryaseniya, uspokaivayut nervnuyu sistemu, pogruzhayut v son.
     Odnako gorazdo chashche zhertvu prosto lishayut  vozmozhnosti  dvigat'sya,
ispol'zuya  dlya etogo verevku ili naruchniki.  Krome togo,  glaza skoree
vsego zalepyat lejkoplastyrem,  rot tozhe.  Sama transportirovka s mesta
zahvata  vryad li budet komfortnoj:  obychno ob容kt lezhit na polu salona
avtomobilya pod nogami pohititelej,  libo nahoditsya v bagazhnike.  Mozhet
on  ochutit'sya  v  meshke,  v  yashchike,  bochke,  dazhe  v bol'shom chemodane.
Nekotoryh lyudej v podobnom polozhenii ohvatyvaet pristup  klaustrofobii
(boyazn'   zamknutogo   prostranstva),   soprovozhdayushchijsya   nepriyatnymi
fiziologicheskimi oshchushcheniyami.   Neobhodimo   stojko    perenesti    vse
neudobstva, pamyatuya, chto situaciya eta vremennaya, maksimum na neskol'ko
chasov.
     Real'naya, v    podavlyayushchem   bol'shinstve   sluchaev   edinstvennaya
vozmozhnost' vyrvat'sya iz ruk prestupnikov byvaet  v  nachal'noj  stadii
zahvata,   v   moment   napadeniya.   Neozhidannye  dlya  prestupnikov  i
reshitel'nye  dejstviya  ob容kta  napadeniya  (osobenno  v  sochetanii   s
analogichnymi dejstviyami ohrany) sposobny privesti k spaseniyu. V Rossii
i za rubezhom otmechen ryad  sluchaev,  kogda  ob容kty  napadeniya  sbivali
mashinoj  neskol'kih  prestupnikov,  otkryvali ogon' iz lichnogo oruzhiya,
proryvalis' skvoz' otkrytyj po nim ogon' i ostavalis' v zhivyh. No esli
bezuspeshnost'  popytok  osvobodit'sya  ochevidna,  luchshe  ne pribegat' k
krajnim meram, a dejstvovat' soobrazno skladyvayushchimsya obstoyatel'stvam.
     S momenta  zahvata  neobhodimo  kontrolirovat'  svoi  dejstviya  i
fiksirovat'  vse,  chto   mozhet   sposobstvovat'   osvobozhdeniyu.   Nado
postarat'sya  zapomnit'  vse  detali  transportirovki  s mesta zahvata:
vremya  i  skorost'  dvizheniya,  pod容my  i  spuski,  krutye   povoroty,
ostanovki u svetoforov,  zheleznodorozhnye pereezdy,  harakternye zvuki.
Po vozmozhnosti vse eti svedeniya nado  postarat'sya  peredat'  tem,  kto
vedet peregovory s prestupnikami - namekom ili zapiskoj.  Ponyatno, chto
takogo sluchaya mozhet ne predstavit'sya,  no v lyubom sluchae pomnite,  chto
dazhe  samaya  neznachitel'naya  informaciya o "tyur'me dlya zalozhnika" mozhet
okazat'sya  poleznoj  dlya  ego  osvobozhdeniya,  poimki   i   izoblicheniya
prestupnikov.  Nado  zapominat'  vse  uvidennoe  i uslyshannoe za vremya
prebyvaniya v zaklyuchenii - raspolozhenie  okon,  dverej,  lestnic,  cvet
oboev,  specificheskie  zapahi,  ne  govorya uzhe o golosah,  vneshnosti i
manerah  samih  prestupnikov.  Neobhodimo  takzhe   nablyudat'   za   ih
povedeniem,  vnimatel'no  slushat'  razgovory  mezhdu soboj,  zapominat'
raspredelenie rolej.  Koroche,  sostavlyat' v ume chetkij psihologicheskij
portret kazhdogo iz nih.
     Izvestny sluchai,  kogda pohishchennym lyudyam  udavalos'  ostavlyat'  v
mestah ostanovok uslovnye znaki,  vybrasyvat' naruzhu zapiski,  tem ili
inym sposobom otmechat' mesto svoego zatocheniya.  Odnako delat' podobnye
veshchi  sleduet  ochen'  ostorozhno,  tak  kak  v  sluchae  ih  obnaruzheniya
prestupnikami neizbezhno posleduet surovoe nakazanie.
     CHelovek stanovitsya   zhertvoj   s  momenta  zahvata,  i  hotya  eto
proishodit  v  raznyh  usloviyah,  zhertva  vsegda  ispytyvaet   sil'noe
psihicheskoe   potryasenie   (shok).  Ono  obuslovleno  vnezapnym  rezkim
perehodom ot fazy spokojstviya k faze stressa.  Lyudi reagiruyut na takoj
perehod   po-raznomu:   odni   okazyvayutsya  bukval'no  paralizovannymi
strahom,  drugie pytayutsya dat' otpor.  Poetomu zhiznenno  vazhno  bystro
spravit'sya   so   svoimi   emociyami,  chtoby  vesti  sebya  racional'no,
uvelichivaya shans svoego spaseniya.
     Prestupniki "rabotayut" s zalozhnikom tak,  chtoby maksimal'no polno
ispol'zovat' ego v svoih interesah.  Itak,  oni vsyacheski demonstriruyut
svoe   prevoshodstvo   ili   vlast'  nad  zhertvoj,  dazhe  esli  ta  ne
soprotivlyaetsya. Oni stremyatsya podavit' volyu svoego plennika i zapugat'
ego.   Poetomu   zalozhnik   dolzhen  opredelit'  dlya  sebya  poziciyu  vo
vzaimootnosheniyah  s  prestupnikami.  Kak   svidetel'stvuet   praktika,
bezvol'noe  povedenie,  mol'by  o  poshchade,  sverhustupchivost' real'noj
pol'zy prinesti ne mogut.  Prestupniki v lyubom sluchae dejstvuyut ishodya
iz svoih planov i skladyvayushchihsya obstoyatel'stv.
     Poetomu vneshnyaya  gotovnost'  k   kontaktu   s   prestupnikami   i
obsuzhdeniyu  interesuyushchih  ih  voprosov  dolzhna  sochetat'sya  s  glavnym
pravilom:  pomogat'  ne  prestupnikam,  a  sebe.  Ved'  poluchennaya  ot
zalozhnika informaciya v konechnom schete ispol'zuetsya vo vred emu samomu,
ego  blizkim,  sosluzhivcam,  sotrudnikam  pravoohranitel'nyh  organov.
Produmanno  sleduet  podhodit' k voprosam banditov o vozmozhnoj reakcii
svoego  okruzheniya  na  pohishchenie,  o  summe  vykupa,   o   vozmozhnosti
udovletvoreniya drugih trebovanij.
     Sverhzadacha zdes' v tom,  chtoby  svoimi  otvetami  pomoch'  lyudyam,
stremyashchimsya  najti  i  osvobodit'  zalozhnika,  a  ne  postavit'  ih  v
zatrudnitel'noe polozhenie.  V chastnosti,  argumentirovannoe  ubezhdenie
prestupnikov   v   nereal'nosti   teh   ili   inyh   trebovanij  mozhet
sposobstvovat' razresheniyu incidenta "maloj  krov'yu".  V  to  zhe  vremya
ochevidno, chto nel'zya dejstvovat' po principu "vse ili nichego". Reakciya
banditov na ochevidnost' fakta neosushchestvimosti ih zamysla, v sochetanii
s  vozbuzhdennym  psihicheskim sostoyaniem,  v kotorom oni,  kak pravilo,
nahodyatsya,  mozhet  okazat'sya  rokovoj  dlya  zalozhnika.   K   tomu   zhe
prestupniki neredko nahodyatsya pod vozdejstviem narkotikov, v sostoyanii
alkogol'nogo op'yaneniya.
     Nado pytat'sya smyagchit' vrazhdebnost' banditov po otnosheniyu k sebe,
iskat' vozmozhnosti ustanovleniya individual'nyh kontaktov s  nekotorymi
iz  nih.  |to  neobhodimo hotya by dlya togo,  chtoby izbezhat' fizicheskih
stradanij ili uluchshit' usloviya soderzhaniya. No vneshnyaya gotovnost' najti
obshchij yazyk s prestupnikami,  uchastie v obsuzhdenii volnuyushchih ih problem
ne dolzhny protivorechit' upomyanutomu glavnomu principu:  pomogat' sebe,
a ne banditam. I eshche odna drevnyaya istina mozhet v ryade sluchaev prinesti
pol'zu zalozhniku:  razdelyaya - vlastvuj!  Popytajtes' vnesti  raskol  v
gruppu prestupnikov, sklonite kogo-libo iz nih na svoyu storonu, obeshchaya
emu za eto vse, chto vy mozhete real'no poobeshchat'!
     *Dopros*. Prakticheski vsegda pohishchennyh lyudej doprashivayut. Dopros
mozhet imet' harakter pochti druzheskoj besedy,  a  mozhet  soprovozhdat'sya
zverskimi pytkami.
     Opytnye prestupniki pytayutsya  proizvesti  vpechatlenie  druzheskogo
raspolozheniya,  chto  prolivaet  bal'zam  na  smyatennuyu  dushu  plennika,
zhazhdushchego psihologicheskoj podderzhki hotya by na  urovne  emocij.  Krome
togo,  vedushchij  dopros ugrozhaet pri etom,  chto v sluchae neustupchivosti
zhertvy on budet  vynuzhden  peredat'  delo  v  ruki  svoemu  pomoshchniku,
cheloveku zhestokomu i tupomu. Poetomu, deskat', luchshe ne upirat'sya zrya,
a pojti na sotrudnichestvo. Staryj tryuk, no dejstvennyj!
     *CHtoby slomat'  zalozhnika  psihologicheski,  ispol'zuyut  sleduyushchie
mery davleniya*:
     - ogranichivayut podvizhnost', zrenie, sluh (derzhat svyazannym libo v
naruchnikah,  na cepi, s zavyazannymi glazami, s zakonopachennymi ushami i
t.d.);
     - ploho kormyat, muchayut golodom i zhazhdoj; lishayut sigaret;
     - sozdayut plohie usloviya prebyvaniya (tesnota,  gryaz',  von', shum,
nasekomye, syrost', holod, krysy i t.d.);
     Dlya slabyh  natur  uzhe vsego perechislennogo bolee chem dostatochno,
chtoby vypolnit'  lyubye  trebovaniya  pohititelej.  Odnako  v  zapase  u
prestupnikov  imeetsya eshche takoe sredstvo,  kak pytki.  Za svoyu istoriyu
chelovechestvo razrabotalo ogromnoe  kolichestvo  pytok.  Mnogie  iz  nih
yavlyayutsya  ves'ma dejstvennymi.  V celom,  pytki mozhno razdelit' na dve
osnovnye gruppy:  te, kotorye prichinyayut sil'nuyu bol' i te, gde glavnym
sredstvom vozdejstviya yavlyaetsya strah.
     Pervuyu gruppu  sostavlyayut  takie  mery,  kak   izbienie,   porka,
sdavlivanie  polovyh organov i nazhatie na bolevye tochki,  vykruchivanie
sustavov,  sverlenie  i  vyryvanie  zubov,  porezy  i  razryvy  kozhnyh
pokrovov,   vtykanie   igolok,  vozdejstvie  kipyatkom  i  raskalennymi
predmetami, ispol'zovanie razryadov elektricheskogo toka i podobnye im.
     Vtoraya gruppa  -  eto,  v osnovnom,  ugrozy udusheniya,  utopleniya,
sbrosa s bol'shoj vysoty,  naneseniya obezobrazhivayushchih povrezhdenij lica,
ugroza iznasilovaniya i tak dalee. Kak eto ni stranno na pervyj vzglyad,
pytki pervoj gruppy vyderzhat' legche,  chem  vtoroj.  Delo  v  tom,  chto
sushchestvuet tak nazyvaemyj "porog bolevoj chuvstvitel'nosti".  Stoit ego
prevzojti,  i organizm otkazyvaetsya  vosprinimat'  bol'.  Krome  togo,
izvesten   psihologicheskij   priem:   esli   chelovek  hochet  vyterpet'
fizicheskoe stradanie,  on  rasslablyaetsya  i  ubezhdaet  sebya  "polyubit'
bol'",   to   est'   kak  by  prevrashchaetsya  v  mazohista,  izvrashchenca,
ispytyvayushchego naslazhdenie ot oshchushcheniya boli.
     CHto kasaetsya  mer psihologicheskogo ustrasheniya,  to perenesenie ih
trebuet otsutstviya vnutrennego "YA" v  dannom  meste  v  dannyj  moment
vremeni.  A  dobivat'sya  takogo  sostoyaniya  malo  kto  umeet  -  nuzhna
specificheskaya trenirovka.  Poetomu,  kogda cheloveku odevayut na  golovu
plastikovyj   paket  ili  okunayut  s  golovoj  v  vannu,  on  nachinaet
zadyhat'sya i vpadaet v sostoyanie uzhasa. ZHenshchinu legko zapugat' ugrozoj
gruppovogo  iznasilovaniya  libo  demonstraciej  popytok izurodovat' ee
lico.  Ves'ma effektivnyj sposob "doprosov s pristrastiem" tot,  kogda
pri  odnom  cheloveke  podvergayut  pytkam drugogo.  Osobenno,  esli eto
blizkie lyudi.
     Koroche govorya,   tak   ili  inache,  no  pohititeli  zastavyat  vas
govorit'.  Poetomu vam nado opredelit':  a) naskol'ko  vazhna  dlya  vas
skryvaemaya  informaciya,  b) naskol'ko daleko mogut zajti prestupniki v
svoih zverstvah (chem vyshe ugroza "b" i  chem  nizhe  vazhnost'  "a",  tem
men'she smysla terpet' stradaniya), v) chto vam nado skryt' ot banditov v
lyubom sluchae. Pomnite: yazyk dan cheloveku dlya togo, chtoby skryvat' svoi
mysli. *Poetomu rukovodstvujtes' sleduyushchimi pravilami*:
     - Pered  kazhdym  otvetom  na  ocherednoj  vopros   delajte   pauzu
podlinnee,  chtoby  ponyat',  kuda klonit prestupnik,  a takzhe dlya togo,
chtoby on ne mog uyasnit' vashi slabye mesta.  Pauzy ob座asnyajte tem,  chto
vy vspominaete podrobnosti, dumaete, kak luchshe skazat'.
     - Govorite,  maksimal'no  ispol'zuya  professional'nye  terminy  i
lyuboj izvestnyj vam specificheskij zhargon, chtoby vas men'she ponimali.
     - Starajtes' vyrazhat'sya neyasno, dvusmyslenno, mnogoznachno.
     - Pobol'she ostanavlivajtes' na nesushchestvennyh detalyah,  na raznyh
melochah, ne imeyushchih pryamogo otnosheniya k suti zadannogo voprosa.
     - Pri  kazhdom  malo-mal'ski udobnom sluchae povtoryajte,  chto vy ne
raspolagaete nuzhnoj informaciej,  tak kak eto ne vhodilo v sferu vashih
obyazannostej, interesov, kompetencii.
     - Pritvoryajtes',  chto iz-za boli, straha, volneniya vy ne sposobny
sobrat'sya s myslyami, logichno rassuzhdat', posledovatel'no izlagat'.
     - V nekotoryh  sluchayah  mozhno  delat'  vid,  budto  ne  ponimaete
obrashchennyh k vam voprosov iz-za akcenta prestupnika,  ispol'zovaniya im
blatnogo zhargona, neyasnogo proiznosheniya i t.d.
     - Govorite monotonno, bez emocij, bez zhestikulyacii, chtoby trudnee
bylo ponyat',  gde pravda,  a gde  lozh'.  Izbegajte  smotret'  v  glaza
prestupnikam.
     - Bud'te vezhlivy  v  svoej  rechi,  ne  oskorblyajte  banditov,  ne
govorite  s  nimi o tom,  o chem oni ne hotyat slyshat',  ne spor'te,  ne
kritikujte.  Provodite  svoyu  liniyu  ne  vozrazheniyami,   a   kazhushchimsya
soglasiem.
     *Sohranenie psihologicheskoj    ustojchivosti*    pri    dlitel'nom
prebyvanii v zatochenii - odno iz vazhnejshih uslovij spaseniya zalozhnika.
Zdes' horoshi lyubye priemy i metody, otvlekayushchie ot nepriyatnyh oshchushchenij
i perezhivanij, pozvolyayushchie sohranit' yasnost' myslej, adekvatnuyu ocenku
situacii. Polezno usvoit' sleduyushchie pravila:
     - Starajtes', naskol'ko eto vozmozhno, soblyudat' trebovaniya lichnoj
gigieny.
     - Delajte dostupnye v dannyh usloviyah fizicheskie uprazhneniya.  Kak
minimum,  napryagajte i rasslablyajte poocheredno vse  myshcy  tela,  esli
nel'zya vypolnyat' obychnyj gimnasticheskij kompleks.  Podobnye uprazhneniya
zhelatel'no povtoryat' ne menee treh raz v den'.
     - Ochen'  polezno  vo  vseh  otnosheniyah praktikovat' autotrening i
meditaciyu.  Podobnye  metody  pomogayut  derzhat'   svoyu   psihiku   pod
kontrolem.
     - Vspominajte  pro  sebya   prochitannye   knigi,   stihi,   pesni,
posledovatel'no  obdumyvajte  razlichnye  otvlechennye problemy (reshajte
matematicheskie zadachi,  vspominajte inostrannye slova i t.d.).  Vash um
dolzhen rabotat'. Veruyushchie mogut iskat' uteshenie v molitvah.
     - Esli est' takaya vozmozhnost',  chitajte  vse,  chto  okazhetsya  pod
rukoj,  dazhe  esli  tekst  sovershenno  vam  ne interesen.  Mozhno takzhe
pisat',  nesmotrya na to,  chto napisannoe budet otbirat'sya.  Vazhen  sam
process, pomogayushchij sohranit' rassudok.
     - Vazhno sledit' za bremenem,  tem bolee,  chto  pohititeli  obychno
otbirayut   chasy,  otkazyvayutsya  govorit'  kakoj  sejchas  den'  i  chas,
izoliruyut ot vneshnego mira.  Pishite kalendar',  otmechajte smenu dnya  i
nochi  (po  aktivnosti  prestupnikov,  po  zvukam,  po rezhimu pitaniya i
t.d.).
     - Starajtes' otnosit'sya k proishodyashchemu s vami kak by so storony,
ne prinimaya  sluchivsheesya  blizko  k  serdcu,  do  konca  nadejtes'  na
blagopoluchnyj  ishod.  Strah,  depressiya  i apatiya - tri vashih glavnyh
vraga, vse oni - vnutri vas.
     - Ne vybrasyvajte veshchi, kotorye mogut vam prigodit'sya (lekarstva,
ochki, karandashi, platki i pr.), starajtes' sozdat' hotya by minimal'nyj
zapas  pit'evoj vody i prodovol'stviya na tot sluchaj,  esli vas nadolgo
brosyat odnogo ili perestanut kormit'.
     *Vykup*. Prestupniki otchetlivo ponimayut, chto naibol'shej opasnosti
oni podvergayutsya v moment  polucheniya  denezhnogo  vykupa.  Poetomu  oni
razrabatyvayut slozhnye,  mnogostupenchatye sistemy peredachi deneg.  Cel'
prinimaemyh mer -  isklyuchenie  napadeniya  iz  zasady,  fiksacii  fakta
peredachi deneg,  ustanovleniya lichnosti prestupnikov. Dlya etogo bandity
naznachayut vremya  i  mesto  pribytiya  cheloveka  s  den'gami,  ukazyvayut
marshrut.  Prestupniki  vedut  skrytoe  nablyudenie  za  etim  mestom  i
kur'erom s den'gami.
     Kur'eru mogut   predlozhit'   sest'   v   zaranee   podgotovlennyj
avtomobil'  i  proehat'  v  nem  s  soobshchnikami  banditov,  zatem  ego
vysazhivayut  v  udobnom dlya nih meste.  Mogut otvesti v mnogokvartirnyj
dom i poluchit' den'gi gde-nibud' v pod容zde, imeyushchem vtoroj vyhod. Vse
vremya  kontakta  vedetsya  nablyudenie  za  okruzhayushchimi  mestami s cel'yu
vyyavleniya slezhki. Poskol'ku iniciativa za prestupnikami, oni stremyatsya
sozdat'  takie  usloviya,  kotorye  ne pozvolili by sotrudnikam milicii
(esli oni zadejstvovany) priblizit'sya na rasstoyanie,  s kotorogo mozhno
ustanovit' lichnost' prestupnikov libo zahvatit' ih. Po tem zhe prichinam
oni  vybirayut  v  kachestve  kur'erov  lyudej  iz  blizhajshego  okruzheniya
zalozhnika, chej oblik im horosho izvesten po etapu podgotovki operacii.
     Poluchenie vykupa ne  obyazatel'no  vlechet  za  soboj  osvobozhdenie
zalozhnika.  S  nim  mogut  raspravit'sya dlya togo,  chtoby izbavit'sya ot
vozmozhnogo svidetelya. Krome togo, on mozhet ostavat'sya v rukah banditov
do  teh  por,  poka oni ne realizuyut poluchennye den'gi.  Obychno den'gi
realizuyut putem skupki dragocennostej,  raznyh tovarov,  nedvizhimogo i
dvizhimogo   imushchestva   v  regionah,  udalennyh  ot  mesta  soversheniya
prestupleniya.  Inogda den'gi stremyatsya vyvezti za granicu (esli oni  v
SKV)  libo  polozhit' v bank na imya lic,  svyazi kotoryh s prestupnikami
sohranyayutsya v tajne.
     *Osvobozhdenie*. V tom sluchae, kogda prestupniki sami otpuskayut na
svobodu zalozhnika,  oni otvozyat ego v kakoe-to bezlyudnoe mesto,  i tam
ostavlyayut  odnogo.  Drugoj variant - ego brosayut v zapertom pomeshchenii,
vyhod iz kotorogo trebuet nemalo  vremeni  i  sil.  Tretij  variant  -
vysadit'  cheloveka  na  ozhivlennoj  ulice  (vdali  ot  postov GAI,  ot
sotrudnikov milicii) i uehat'. Posle etogo mashinu vskore brosayut, libo
menyayut na nej nomer.
     Mozhet sluchit'sya i tak kak,  chto osvobozhdat' vas budet miliciya.  V
etom  sluchae  nado  pytat'sya ubedit' prestupnikov,  chto luchshe vsego im
sdat'sya.  Togda oni mogut rasschityvat' na bolee myagkij prigovor.  Esli
podobnaya  popytka ne udalas',  postarajtes' im vnushit',  chto ih sud'ba
nahoditsya v pryamoj zavisimosti ot vashej.  Esli oni pojdut na ubijstvo,
to  vsyakie  peregovory  vlastej s nimi teryayut smysl.  I togda ostaetsya
tol'ko shturm s primeneniem oruzhiya.
     Kogda prestupniki i zalozhniki vyhodyat naruzhu iz ubezhishcha,  im vsem
prikazyvayut derzhat' ruki za  golovoj.  Ne  sleduet  etim  vozmushchat'sya,
delat'  rezkie  dvizheniya.  Poka  ne projdet procedura opoznaniya,  mery
predostorozhnosti neobhodimy.
     Esli nachalsya  shturm  ili  vot-vot nachnetsya,  popytajtes' prikryt'
svoe telo ot pul'.  Luchshe vsego lech' na pol podal'she ot okon i dverej,
licom vniz,  ne na pryamoj linii ot okonnyh i dvernyh proemov. V moment
shturma ne berite v ruki oruzhie  prestupnikov.  Inache  bojcy  shturmovoj
gruppy mogut prinyat' vas za prestupnika i vystrelit' na porazhenie.  Im
nekogda razbirat'sya v eto vremya.  Prestupniki vo vremya shturma  neredko
stremyatsya   spryatat'sya  sredi  zalozhnikov.  Starajtes'  v  meru  svoih
vozmozhnostej ne pozvolyat' im etogo delat',  nemedlenno soobshchajte o nih
vorvavshimsya bojcam.
     I poslednee.  V teh sluchayah,  kogda mesto soderzhaniya zalozhnika  i
nahozhdenie prestupnikov ustanovleno, specsluzhby stremyatsya ispol'zovat'
imeyushchiesya u nih tehnicheskie  sredstva  dlya  podslushivaniya  razgovorov,
vedushchihsya  v  pomeshchenii.  Pomnite  ob  etom  i v razgovore s banditami
soobshchajte  informaciyu,  kotoraya,  buduchi   perehvachena,   mozhet   byt'
ispol'zovana dlya podgotovki shturma.  Osobenno vazhny svedeniya o yarkih i
broskih primetah,  po kotorym mozhno otlichit' zalozhnika ot prestupnika,
o   vooruzhenii   banditov,   ob  ih  kolichestve,  raspolozhenii  vnutri
pomeshcheniya, ih moral'nom sostoyanii i namereniyah.



     Lyubaya firma,  lyuboe predpriyatie imeet  raznoobraznye  tehnicheskie
sredstva,  prednaznachennye dlya priema,  peredachi, obrabotki i hraneniya
informacii.  Fizicheskie processy, proishodyashchie v takih ustrojstvah pri
ih   funkcionirovanii,  sozdayut  v  okruzhayushchem  prostranstve  pobochnye
izlucheniya,  kotorye  mozhno  obnaruzhivat'  na   dovol'no   znachitel'nyh
rasstoyaniyah   (do   neskol'kih   soten   metrov)   i,   sledovatel'no,
perehvatyvat'.
     Fizicheskie yavleniya,  lezhashchie v osnove izluchenij,  imeyut razlichnyj
harakter,  tem ne menee,  utechka informacii za schet pobochnyh  izuchenij
proishodit  po  svoego roda "sisteme svyazi",  sostoyashchej iz peredatchika
(istochnika   izluchenij),    sredy,    v    kotoroj    eti    izlucheniya
rasprostranyayutsya,  i priemnika. Takuyu "sistemu svyazi" prinyato nazyvat'
tehnicheskim kanalom utechki informacii.
     *Tehnicheskie kanaly utechki informacii delyatsya na*:
     - radiokanaly (elektromagnitnye izlucheniya radiodiapazona);
     - elektricheskie  (napryazheniya  i  toki  v razlichnyh tokoprovodyashchih
kommunikaciyah);
     - akusticheskie   (rasprostranenie   zvukovyh  kolebanij  v  lyubom
zvukoprovodyashchem materiale);
     - opticheskie (elektromagnitnye izlucheniya v vidimoj,  infrakrasnoj
i ul'trafioletovoj chastyah spektra).
     *Istochnikami izluchenij    v    tehnicheskih    kanalah*   yavlyayutsya
raznoobraznye tehnicheskie sredstva, osobenno te, v kotoryh cirkuliruet
konfidencial'naya informaciya. K ih chislu otnosyatsya:
     - seti elektropitaniya i linii zazemleniya;
     - avtomaticheskie seti telefonnoj svyazi;
     - sistemy faksimil'noj, telekodovoj i telegrafnoj svyazi;
     - sredstva gromkogovoryashchej svyazi;
     - sredstva zvuko- i videozapisi;
     - sistemy zvukousileniya rechi;
     - elektronno-vychislitel'naya tehnika;
     - elektronnye sredstva orgtehniki.
     Krome togo,  istochnikom izluchenij v  tehnicheskih  kanalah  utechki
informacii   mozhet   byt'   golos   cheloveka.  Sredoj  rasprostraneniya
akusticheskih izluchenij v etom sluchae yavlyaetsya vozduh,  a pri  zakrytyh
oknah i dveryah - vozduh i razlichnye zvukoprovodyashchie kommunikacii. Esli
dlya  perehvata  ispol'zuyutsya  special'nye  mikrofony,  to   obrazuetsya
akusticheskij kanal utechki informacii.
     Vazhno otmetit',  chto tehnicheskie sredstva ne tol'ko sami izluchayut
v prostranstvo signaly, soderzhashchie obrabatyvaemuyu imi informaciyu, no i
ulavlivayut za schet mikrofonov libo antennyh svojstv  drugie  izlucheniya
(akusticheskie,   elektromagnitnye),  sushchestvuyushchie  v  neposredstvennoj
blizosti ot nih.  Uloviv,  oni preobrazovyvayut  prinyatye  izlucheniya  v
elektricheskie  signaly  i  beskontrol'no  peredayut  ih po svoim liniyam
svyazi na znachitel'nye rasstoyaniya.  |to eshche bol'she  povyshaet  opasnost'
utechki   informacii.   K   chislu   tehnicheskih   ustrojstv,  sposobnyh
obrazovyvat' elektricheskie kanaly utechki otnosyatsya telefony  (osobenno
knopochnye),  datchiki  ohrannoj  i pozharnoj signalizacii,  ih linii,  a
takzhe set' elektroprovodki.
     Dlya sozdaniya  sistemy  zashchity  ob容kta  ot  utechki  informacii po
tehnicheskim kanalam neobhodimo  osushchestvit'  ryad  meropriyatij.  Prezhde
vsego,  nado  proanalizirovat'  specificheskie osobennosti raspolozheniya
zdanij,  pomeshchenij v zdaniyah,  territoriyu  vokrug  nih  i  podvedennye
kommunikacii.  Zatem neobhodimo vydelit' te pomeshcheniya,  vnutri kotoryh
cirkuliruet konfidencial'naya informaciya i uchest'  ispol'zuemye  v  nih
tehnicheskie sredstva.  *Dalee  sleduet  osushchestvit'  takie tehnicheskie
meropriyatiya*:
     - proverit'   ispol'zuemuyu   tehniku   na  sootvetstvie  velichiny
pobochnyh izluchenij dopustimym urovnyam;
     - ekranirovat' pomeshcheniya s tehnikoj ili etu tehniku v pomeshcheniyah;
     - peremontirovat' otdel'nye cepi, linii, kabeli;
     - ispol'zovat'  special'nye  ustrojstva  i  sredstva  passivnoj i
aktivnoj zashchity.
     Vazhno podcherknut',  chto  na  kazhdyj metod polucheniya informacii po
tehnicheskim kanalam ee utechki sushchestvuet metod protivodejstviya,  chasto
ne  odin,  kotoryj  mozhet  svesti  ugrozu  k minimumu.  Pri etom uspeh
zavisit ot dvuh faktorov - ot vashej kompetentnosti v  voprosah  zashchity
informacii (libo ot kompetentnosti teh lic, kotorym eto delo porucheno)
i ot nalichiya  oborudovaniya,  neobhodimogo  dlya  zashchitnyh  meropriyatij.
Pervyj  faktor  vazhnee  vtorogo,  tak kak samaya sovershennaya apparatura
ostanetsya mertvym gruzom v rukah diletanta.
     V kakih   sluchayah   celesoobrazno   provodit'   mery   zashchity  ot
tehnicheskogo proniknoveniya?  Prezhde  vsego,  takuyu  rabotu  neobhodimo
osushchestvlyat'   preventivno,   ne   ozhidaya  poka  "gryanet  grom".  Rol'
pobuditel'nogo motiva mogut sygrat'  svedeniya  ob  utechke  informacii,
obsuzhdavshejsya   v   konkretnom   pomeshchenii   uzkoj  gruppoj  lic,  ili
obrabatyvavshejsya  na  konkretnyh  tehnicheskih  sredstvah.  Tolchkom   k
dejstviyu  mogut  stat'  sledy,  svidetel'stvuyushchie  o  proniknovenii  v
pomeshcheniya vashej firmy postoronnih lic, libo kakie-to strannye yavleniya,
svyazannye  s  ispol'zuemoj  tehnikoj  (naprimer,  podozritel'nyj shum v
telefone).
     Osushchestvlyaya kompleks   zashchitnyh  mer,  ne  stremites'  obespechit'
zashchitu vsego zdaniya.  Glavnoe - ogranichit' dostup v te mesta i  k  toj
tehnike,  gde  sosredotochena  konfidencial'naya informaciya (ne zabyvaya,
konechno,  o vozmozhnostyah i metodah  distancionnogo  polucheniya  ee).  V
chastnosti,  ispol'zovanie  kachestvennyh zamkov,  sredstv signalizacii,
horoshaya zvukoizolyaciya sten,  dverej,  potolkov i pola, zvukovaya zashchita
ventilyacionnyh   kanalov,  otverstij  i  trub,  prohodyashchih  cherez  eti
pomeshcheniya,  demontazh izlishnej provodki, a takzhe primenenie special'nyh
ustrojstv (generatorov shuma,  apparatury ZAS i dr.) ser'ezno zatrudnyat
ili sdelayut bessmyslennymi popytki vnedreniya spectehniki.
     Imenno poetomu  dlya razrabotki i realizacii meropriyatij po zashchite
informacii  ot  utechki  po   tehnicheskim   kanalam   nado   priglashat'
kvalificirovannyh  specialistov,  libo  gotovit'  sobstvennye kadry po
sootvetstvuyushchim programmam v sootvetstvuyushchih uchebnyh centrah.
     Dlya kratkosti   uslovimsya,   chto   abbreviatura  TSPI  oboznachaet
Tehnicheskij Sredstva Peredachi Informacii.
     *Zazemlenie TSPI*.   Odnim   iz  vazhnejshih  uslovij  zashchity  TSPI
yavlyaetsya pravil'noe zazemlenie etih ustrojstv.  Na praktike chashche vsego
prihoditsya imet' delo s radial'noj sistemoj zazemleniya,  kotoraya imeet
men'she obshchih uchastkov dlya protekaniya signal'nyh  i  pitayushchih  tokov  v
obratnom napravlenii (ot TSPI k postoronnim nablyudatelyam).
     Sleduet imet' v vidu,  chto shina zazemleniya i zazemlyayushchego kontura
ne dolzhna imet' petel',  a vypolnyat'sya v vide vetvyashchegosya dereva,  gde
soprotivlenie  kontura  ne  prevyshaet  odin  Om.   Dannoe   trebovanie
udovletvoryaetsya   primeneniem  v  kachestve  zazemlitelej  sterzhnej  iz
metalla, obladayushchih vysokoj elektroprovodnost'yu, pogruzhennyh v zemlyu i
soedinennyh  s  metallicheskimi  konstrukciyami  TSPI.  CHashche  vsego  eto
vertikal'no vbitye v  zemlyu  stal'nye  truby  dlinoj  v  2-3  metra  i
diametrom 35-50 mm.  Truby horoshi tem, chto pozvolyayut dostigat' vlazhnyh
sloev zemli,  obladayushchih naibol'shej provodimost'yu  i  ne  podverzhennyh
vysyhaniyu libo promerzaniyu.  Krome togo, ispol'zovanie trub ne svyazano
so skol'ko-nibud' znachitel'nymi zemlyanymi rabotami.
     Soprotivlenie zazemleniya     opredelyaetsya     glavnym     obrazom
soprotivleniem rastekaniya toka v zemle. Ego velichinu mozhno znachitel'no
snizit'   za   schet   umen'sheniya   perehodnogo   soprotivleniya  (mezhdu
zazemlitelem i pochvoj) putem tshchatel'noj ochistki poverhnosti  truby  ot
gryazi i rzhavchiny,  podsypkoj v lunku po vsej ee vysote povarennoj soli
i utrambovkoj pochvy vokrug kazhdoj truby.  Zazemliteli (truby)  sleduet
soedinyat'   mezhdu   soboj  shinami  s  pomoshch'  svarki.  Sechenie  shin  i
magistralej  zazemleniya  radi  dostizheniya  mehanicheskoj  prochnosti   i
polucheniya  dostatochnoj  provodimosti rekomenduetsya brat' ne menee 24h4
mm.
     Magistrali zazemleniya  vne  zdaniya  nado  prokladyvat' na glubine
okolo 1,5 metra,  a vnutri zdaniya - po stenam ili special'nym kanalam,
chtoby  mozhno  bylo  ih  regulyarno osmatrivat'.  Soedinyayut magistrali s
zazemlitelem tol'ko s pomoshch'yu svarki,  a k TSPI magistral'  podklyuchayut
boltovym soedineniem v odnoj tochke.  V sluchae podklyucheniya k magistrali
zazemleniya neskol'kih TSPI soedinyat' ih s magistral'yu nado parallel'no
(pri posledovatel'nom soedinenii otklyuchenie odnogo TSPI mozhet privesti
k otklyucheniyu vseh ostal'nyh).  Pri ustrojstve zazemleniya  TSPI  nel'zya
primenyat' estestvennye zazemliteli:  metallicheskie konstrukcii zdanij,
imeyushchie soedinenie s zemlej,  prolozhennye v zemle metallicheskie truby,
metallicheskie obolochki podzemnyh kabelej.
     Pri raschete   konkretnyh   zazemlyayushchih    ustrojstv    neobhodimo
ispol'zovat' special'nye formuly i tablicy.
     *Setevye fil'try*.  Vozniknovenie navodok v  setyah  pitaniya  TSPI
chashche  vsego svyazano s tem,  chto oni podklyucheny k obshchim liniyam pitaniya.
Poetomu setevye fil'try vypolnyayut dve funkcii v  cepyah  pitaniya  TSPI:
zashchity  apparatury  ot  vneshnih  impul'snyh pomeh i zashchity ot navodok,
sozdavaemyh   samoj   apparaturoj.   Pri   etom   odnofaznaya   sistema
raspredeleniya  elektroenergii  dolzhna osushchestvlyat'sya transformatorom s
zazemlennoj srednej tochkoj,  trehfaznaya  -  vysokovol'tnym  ponizhayushchim
transformatorom.
     Pri vybore fil'trov nuzhno uchityvat': nominal'nye znacheniya tokov i
napryazhenij  v  cepyah  pitaniya,  a  takzhe  dopustimye  znacheniya padeniya
napryazheniya na fil'tre pri maksimal'noj nagruzke;  dopustimye  znacheniya
reaktivnoj  sostavlyayushchej  toka na osnovnoj chastote napryazheniya pitaniya;
neobhodimoe zatuhanie  fil'tra;  mehanicheskie  harakteristiki  fil'tra
(razmer,  massa, tip korpusa, sposob ustanovki); stepen' ekranirovaniya
fil'tra ot postoronnih polej.
     Fil'try v cepyah pitaniya mogut imet' ves'ma razlichnye konstrukcii,
ih massa kolebletsya v predelah ot 0,5 kg do 90 kg,  a ob容m ot 0,8 sm3
do 1,6 m3.
     Konstrukciya fil'tra  dolzhna  obespechivat'  sushchestvennoe  snizhenie
veroyatnosti vozniknoveniya vnutri korpusa pobochnoj svyazi mezhdu vhodom i
vyhodom iz-za magnitnyh, elektricheskih libo elektromagnitnyh polej.
     *|kranirovanie pomeshchenij*. Dlya polnogo ustraneniya navodok ot TSPI
v pomeshcheniyah,  linii kotoryh vyhodyat za predely  kontroliruemoj  zony,
nado  ne  tol'ko  podavit' ih v othodyashchih ot istochnika provodah,  no i
ogranichit'  sferu  dejstviya   elektromagnitnogo   polya,   sozdavaemogo
sistemoj ego  vnutrennih  elektroprovodok.  |ta  zadacha reshaetsya putem
ekranirovaniya.
     Teoreticheski, s  tochki  zreniya  stoimosti  materiala  i  prostoty
izgotovleniya,  preimushchestva na  storone  ekranov  iz  listovoj  stali.
Odnako  primenenie  setki  znachitel'no  uproshchaet  voprosy ventilyacii i
osveshcheniya.  CHtoby reshit' vopros o materiale ekrana,  neobhodimo znat',
vo  skol'ko  raz trebuetsya oslabit' urovni izlucheniya TSPI.  CHashche vsego
eto mezhdu  10  i  30  raz.  Takuyu  effektivnost'  obespechivaet  ekran,
izgotovlennyj  iz  odinarnoj  mednoj  setki s yachejkoj 2,5 mm,  libo iz
tonkolistovoj ocinkovannoj stali tolshchinoj 0,51 mm i bolee.
     Metallicheskie listy (ili polotnishcha setki) dolzhny byt' mezhdu soboj
elektricheski prochno soedineny po vsemu perimetru,  chto  obespechivaetsya
elektrosvarkoj   ili   pajkoj.   Dveri   pomeshchenij   takzhe  neobhodimo
ekranirovat', s obespecheniem nadezhnogo elektrokontakta s dvernoj ramoj
po  vsemu perimetru ne rezhe,  chem cherez 10-15 mm.  Dlya etogo primenyayut
pruzhinnuyu  grebenku  iz  fosforistoj  bronzy,  ukreplyaya  ee  po  vsemu
vnutrennemu  perimetru  dvernoj ramy.  Pri nalichii v pomeshchenii okon ih
zatyagivayut odnim ili dvumya sloyami mednoj setki s yachejkoj ne bolee  chem
2h2  mm,  prichem rasstoyanie mezhdu sloyami setki dolzhno byt' ne menee 50
mm. Oba sloya dolzhny imet' horoshij elektrokontakt so stenkami pomeshcheniya
posredstvom  vse  toj  zhe grebenki iz fosforistoj bronzy,  libo pajkoj
(esli setka nes容mnaya).
     Razmery ekraniruemogo   pomeshcheniya   vybirayut,   ishodya   iz   ego
naznacheniya,  nalichiya  svobodnoj  ploshchadi  i  stoimosti  rabot.  Obychno
dostatochno  imet'  pomeshchenie ploshchad'yu 6-8 kv.  metrov pri vysote 2,5-3
metra.
     *Zashchita telefonov  i faksov*.  Kak vsyakoe elektronnoe ustrojstvo,
telefon  i  faks,  a  takzhe  ih  linii  svyazi  izluchayut   v   otkrytoe
prostranstvo vysokie urovni polya v diapazone chastot vplot' do 150 mGc.
CHtoby polnost'yu podavit' vse vidy izluchenij ot etih  TSPI,  neobhodimo
otfil'trovat' izlucheniya v provodah mikrotelefona, v provodah othodyashchih
ot apparata,  a takzhe obespechit'  dostatochnuyu  ekranirovku  vnutrennej
shemy   apparata.   To  i  drugoe  vozmozhno  lish'  putem  znachitel'noj
pererabotki  konstrukcij  apparatov  i  izmeneniya   ih   elektricheskih
parametrov.  Inymi  slovami,  trebuetsya zashchitit' cep' mikrofona,  cep'
zvonka  i  dvuhprovodnuyu  liniyu   telefonnoj   svyazi.   Ponyatno,   chto
osushchestvit'   ukazannye  meropriyatiya  sposobny  tol'ko  specialisty  s
ispol'zovaniem sootvetstvuyushchego oborudovaniya i standartnyh shem. To zhe
samoe otnositsya i k probleme zashchity linij svyazi,  vyhodyashchih za predely
pomeshchenij s apparatami.
     Voobshche govorya,  eto  ochen'  ser'eznaya problema,  tak kak podobnye
linii prakticheski vsegda beskontrol'ny i k nim mozhno podklyuchat'  samye
raznoobraznye  sredstva  s容ma  informacii.  Tut dva puti:  vo-pervyh,
primenyayut  special'nye  provoda  (ekranirovannyj  bifilyar,   trifilyar,
koaksil'nyj   kabel',   ekranirovannyj   ploskij  kabel').  Vo-vtoryh,
sistematicheski  proveryayut  special'noj  apparaturoj,  est'   li   fakt
podklyucheniya  sredstv  s容ma informacii.  Vyyavlenie navedennyh signalov
obychno  proizvoditsya   na   granice   kontroliruemoj   zony   ili   na
kommutacionnyh  ustrojstvah  v  krossah  ili raspredelitel'nyh shkafah.
Zatem libo opredelyayut konkretnoe mesto podklyucheniya,  libo (esli  takoe
opredelenie nevozmozhno) ustraivayut shumovuyu zashchitu.
     No naibolee effektivnyj sposob zashchity informacii, peredavaemoj po
telefonu ili faksu - eto ispol'zovanie ZAS (zasekrechivayushchej apparatury
svyazi).  Za rubezhom dannye ustrojstva  nazyvayut  skremblery.  Odin  iz
luchshih apparatov takogo roda imeet sleduyushchie gabarity: 26,5 sm h 16 sm
h 5 sm, massa 1,3 kg. Potreblyaemaya moshchnost' ne bolee 5 vatt. V stranah
SNG   (Rossiya,   Ukraina)  proizvodyat  ZAS  na  urovne  samyh  vysokih
mezhdunarodnyh trebovanij.
     *Zashchita ot vstroennyh i uzkonapravlennyh mikrofonov*.  Mikrofony,
kak izvestno,  preobrazuyut zvuk v elektricheskij signal. V sovokupnosti
so  special'nymi  usilitelyami  i  fil'trami oni mogut ispol'zovat'sya v
kachestve  podslushivayushchih  ustrojstv.  Dlya  etogo   sozdaetsya   skrytaya
provodnaya  liniya  svyazi,  obnaruzhit'  kotoruyu  mozhno  lish'  fizicheskim
poiskom libo (chto slozhnee) putem  kontrol'nyh  izmerenij  signalov  vo
vseh   provodah,   imeyushchihsya   v   pomeshchenii.   Metody  radiokontrolya,
effektivnye dlya poiska radiozakladok, v etom sluchae bessmyslenny.
     Krome perehvata       zvukovyh       kolebanij,       special'nye
mikrofony-stetoskopy     ochen'     horosho     vosprinimayut      zvuki,
rasprostranyayushchiesya  po stroitel'nym konstrukciyam zdanij.  S ih pomoshch'yu
osushchestvlyayut  podslushivanie  cherez  steny,  dveri  i  okna.   Nakonec,
sushchestvuet ryad modifikacij uzkonapravlennyh mikrofonov, vosprinimayushchih
i  usilivayushchih  zvuki,  idushchie  tol'ko  iz   odnogo   napravleniya,   i
oslablyayushchie  pri  etom vse ostal'nye zvuki.  Takie mikrofony imeyut vid
dlinnoj trubki,  batarei trubok ili parabolicheskoj tarelki  s  konusom
koncentratora.   Oni   ulavlivayut   zvuki   chelovecheskogo   golosa  na
rasstoyaniyah do odnogo kilometra!
     *Dlya zashchity  ot  uzkonapravlennyh  mikrofonov mozhno rekomendovat'
sleduyushchie mery*:
     - vse peregovory provodit' v komnatah,  izolirovannyh ot sosednih
pomeshchenij,  pri zakrytyh dveryah, oknah i fortochkah, zadernutyh plotnyh
shorah. Steny takzhe dolzhny byt' izolirovany ot sosednih zdanij;
     - poly  i  potolki  dolzhny  byt'  izolirovany  ot  nezhelatel'nogo
sosedstva   v   vide   agentov  s  mikrofonami  i  drugoj  apparaturoj
proslushivaniya;
     - ne  vedite  vazhnyh  razgovorov  na  ulice,  v  skverah i drugih
otkrytyh  prostranstvah,   nezavisimo   ot   togo,   sidite   vy   ili
progulivaetes';
     - v restorane,  drugom zakrytom  pomeshchenii  vne  ofisa  v  sluchae
neobhodimosti   obmena   konfidencial'noj   informaciej   rezko  (t.e.
neozhidanno dlya sledyashchih za vami)  smenite  pomeshchenie  na  to,  kotoroe
nahoditsya  pod nadezhnym kontrolem vashej sluzhby bezopasnosti (naprimer,
otdel'nyj kabinet,  zakazannyj ranee  cherez  nadezhnogo  partnera  libo
pomoshchnika);
     - pomnite,  chto popytki zaglushat' razgovor zvukami vody, l'yushchejsya
iz krana (ili iz fontana) maloeffektivny;
     - esli vam obyazatel'no trebuetsya chto-to soobshchit' ili uslyshat',  a
garantij ot podslushivaniya net, govorite drug drugu shepotom pryamo v uho
ili pishite soobshcheniya na listkah, nemedlenno posle prochteniya szhigaemyh.
     *Zashchita ot lazernyh podslushivayushchih ustrojstv*. Lazery - eto takie
ustrojstva, v kotoryh peredacha i poluchenie informacii osushchestvlyaetsya v
opticheskom diapazone. Takie ustrojstva malogabaritny i ekonomichny, tem
bolee,  chto v kachestve priemnika neredko ispol'zuyutsya fotoob容ktivy  s
bol'shim  fokusnym  rasstoyaniem,  pozvolyayushchim vesti perehvat signalov s
dal'nih rasstoyanij.
     Princip dejstviya   lazernogo  ustrojstva  zaklyuchaetsya  v  posylke
zondiruyushchego lucha v napravlenii istochnika zvuka i  prieme  etogo  lucha
posle   ego  otrazheniya  ot  kakih-libo  predmetov.  |timi  predmetami,
vibriruyushchimi  pod  dejstviem  okruzhayushchih   zvukov   kak   svoeobraznye
membrany,  mogut  byt'  stekla okon,  shkafov,  zerkala,  posuda i t.p.
Svoimi kolebaniyami oni moduliruyut lazernyj luch,  prinyav kotoryj  cherez
priemnik mozhno vosstanovit' zvuki rechi. Rasprostranennye nyne lazernye
ustrojstva pozvolyayut svobodno podslushivat'  chelovecheskuyu  rech'  skvoz'
zakrytye okna s dvojnymi ramami na rasstoyaniyah do 250 metrov.
     Naibolee prostym i v to zhe vremya ves'ma nadezhnym sposobom  zashchity
ot  lazernyh  ustrojstv  yavlyaetsya  sozdanie  pomeh dlya modulirovaniya s
pomoshch'yu  p'ezoelementa.  P'ezoelement  koleblet   steklo   s   bol'shej
amplitudoj,  chem  golos  cheloveka,  poetomu  amplituda vibracii stekol
isklyuchaet vedenie proslushivaniya.
     *Poisk radiozakladok*. Radiozakladki zanimayut vedushchee mesto sredi
sredstv tehnicheskogo shpionazha. Oni byvayut raznyh konstrukcij, ot samyh
prostyh  do  ochen' slozhnyh (imeyushchih distancionnoe upravlenie,  sistemu
nakopleniya signalov, sistemu peredachi signalov v szhatom vide korotkimi
seriyami).
     Dlya povysheniya    skrytnosti    raboty    moshchnost'     peredatchika
radiozakladki   delaetsya   nebol'shoj,  no  dostatochnoj  dlya  perehvata
vysokochuvstvitel'nym  priemnikom  s  nebol'shogo  rasstoyaniya.   Rabochuyu
chastotu  dlya  povysheniya  skrytnosti  neredko  vybirayut  vblizi nesushchej
chastoty moshchnoj radiostancii.  Mikrofony delayut kak vstroennymi,  tak i
vynosnymi.  Oni byvayut dvuh tipov: akusticheskimi (t.e. chuvstvitel'nymi
k golosam lyudej) ili  vibracionnymi  (preobrazuyushchimi  v  elektricheskie
signaly  kolebaniya,  voznikayushchie  ot chelovecheskoj rechi v raznoobraznyh
zhestkih konstrukciyah).  Radiozakladki chashche vsego rabotayut  na  vysokih
chastotah (vyshe 300 kGc).
     Odnako est' i takie ustrojstva, kotorye rabotayut v nizkochastotnom
diapazone (50-300 kGc).  V kachestve kanala svyazi oni obychno ispol'zuyut
seti elektroprovodki  ili  telefonnye   linii.   Takie   radiozakladki
prakticheski  ne  izluchayut  signaly  v  okruzhayushchee  prostranstvo,  t.e.
obladayut povyshennoj skrytnost'yu.  Esli ih  vmontirovat'  v  nastol'nuyu
lampu,  rozetku,  trojnik,  lyuboj  elektropribor,  rabotayushchij  ot seti
peremennogo  toka,  to  oni,  pitayas'  ot  seti,  budut  dolgoe  vremya
peredavat'  po  nej  informaciyu  v  lyubuyu  tochku  zdaniya i dazhe za ego
predely.
     Dlya obnaruzheniya radiozakladok primenyayut special'nye izmeritel'nye
priemniki,  avtomaticheski  skaniruyushchie  po  diapazonu.  S  ih  pomoshch'yu
osushchestvlyaetsya poisk i fiksaciya rabochih chastot radiozakladok,  a takzhe
opredelyaetsya ih mestonahozhdenie.  Dannaya procedura dostatochno  slozhna,
ona trebuet sootvetstvuyushchih teoreticheskih znanij, prakticheskih navykov
raboty s raznoobraznoj, ves'ma slozhnoj izmeritel'noj apparaturoj.
     Esli radiozakladki  vyklyucheny  v  moment  poiska  i  ne  izluchayut
signaly,  po kotorym ih mozhno obnaruzhit' radiopriemnoj apparaturoj, to
dlya  ih poiska (a takzhe dlya poiska mikrofonov podslushivayushchih ustrojstv
i minimagnitofonov) primenyayut special'nuyu rentgenovskuyu  apparaturu  i
nelinejnye   detektory   so   vstroennymi  generatorami  mikrovolnovyh
kolebanij nizkogo urovnya.  Takie  kolebaniya  pronikayut  skvoz'  steny,
potolki, pol, mebel', portfeli, utvar' - v lyuboe mesto, gde mozhet byt'
spryatana radiozakladka,  mikrofon, magnitofon. Kogda mikrovolnovyj luch
soprikasaetsya s tranzistorom,  diodom ili mikroshemoj,  luch otrazhaetsya
nazad k ustrojstvu.  Takim obrazom,  princip dejstviya v dannom  sluchae
pohozh na minoiskatel', reagiruyushchij na prisutstvie metalla.
     V teh sluchayah,  kogda net priborov dlya poiska radiozakladok, libo
net  vremeni  na  poisk,  mozhno  pol'zovat'sya  generatorami  pomeh dlya
podavleniya  priemnikov.  Oni  dostatochno  prosty,  ochen'   nadezhny   i
polnost'yu  snimayut  informaciyu  s  radiozakladok  v  shirokom diapazone
chastot.
     *Zashchita personal'nyh  |VM*.  Esli  personal'naya  |VM ispol'zuetsya
tol'ko  odnim  pol'zovatelem,  to   vazhno,   vo-pervyh,   predupredit'
nesankcionirovannyj dostup k komp'yuteru drugih lic v to vremya, kogda v
nem nahoditsya zashchishchaemaya informaciya,  i,  vo-vtoryh, obespechit' zashchitu
dannyh  na  vneshnih  nositelyah  ot  hishcheniya.  Esli zhe personal'naya |VM
ispol'zuetsya gruppoj lic,  to pomimo ukazannyh momentov zashchity,  mozhet
vozniknut' neobhodimost' predotvratit' nesankcionirovannyj dostup etih
pol'zovatelej k informacii drug druga.
     Krome togo,  vo  vseh  sluchayah  neobhodimo zashchishchat' informaciyu ot
razrusheniya v rezul'tate  oshibok  programm  i  oborudovaniya,  zarazheniya
komp'yuternymi  virusami.  Odnako  provedenie  strahovochnyh meropriyatij
obyazatel'no dlya vseh bez isklyucheniya pol'zovatelej |VM i  ne  otnositsya
neposredstvenno k probleme zashchity informacii ot konkurentov.
     *Dlya obespecheniya bezopasnosti informacii  ispol'zuyutsya  sleduyushchie
metody*:
     - sredstva zashchity vychislitel'nyh resursov, ispol'zuyushchie parol'nuyu
identifikaciyu    i    ogranichivayushchie    dostup    nesankcionirovannogo
pol'zovatelya;
     - primenenie   razlichnyh   shifrov,   ne  zavisyashchih  ot  konteksta
informacii.
     Napomnim, chto   v  personal'noj  |VM  v  kachestve  vychislitel'nyh
resursov   vystupayut   operativnaya   pamyat',   processor,   vstroennye
nakopiteli   na  zhestkih  ili  gibkih  magnitnyh  diskah,  klaviatura,
displej, printer, periferijnye ustrojstva. Zashchita operativnoj pamyati i
processora predusmatrivaet kontrol' za poyavleniem v operativnoj pamyati
tak nazyvaemyh rezidentnyh programm,  zashchitu sistemnyh dannyh, ochistku
ostatkov  sekretnoj  informacii v neispol'zuemyh oblastyah pamyati.  Dlya
etogo  dostatochno  imet'  v  svoem  rasporyazhenii  programmu  prosmotra
operativnoj  pamyati dlya kontrolya za sostavom rezidentnyh programm i ih
raspolozheniem.
     *Gorazdo vazhnee   zashchita   vstroennyh   nakopitelej.   Sushchestvuyut
neskol'ko tipov programmnyh sredstv, sposobnyh reshat' etu zadachu*:
     - zashchita diska ot zapisi i chteniya;
     - kontrol' za obrashcheniyami k disku;
     - sredstva udaleniya ostatkov sekretnoj informacii.
     No samyj nadezhnyj metod zashchity,  bezuslovno,  shifrovanie,  t.k. v
etom sluchae ohranyaetsya neposredstvenno sama informaciya,  a ne dostup k
nej (naprimer,  zashifrovannyj fajl nel'zya prochest' dazhe v sluchae krazhi
diskety).    Odnako    v   ryade   sluchaev   ispol'zovanie   shifrovaniya
zatrudnitel'no libo nevozmozhno,  poetomu neobhodimo  ispol'zovat'  oba
metoda  v sovokupnosti.  Bol'shinstvo sredstv zashchity realizuyutsya v vide
programm ili paketov  programm,  rasshiryayushchih  vozmozhnosti  standartnyh
operacionnyh sistem, a takzhe sistem upravleniya bazami dannyh.



     Rejting obrashchenij otechestvennyh biznesmenov za pomoshch'yu v ohrannye
firmy vyglyadit sleduyushchim obrazom (po ubyvayushchej):
     1. Problema  vozvrata  sredstv (ne postupaet plata za otgruzhennyj
tovar, ne postupaet oplachennyj tovar, ne vozvrashchaetsya v ukazannyj srok
kredit);
     2. Problema lichnoj bezopasnosti biznesmenov i chlenov ih  semej  v
svyazi s ugrozami i vymogatel'stvom;
     3. Hishchenie gruzov na transporte;
     4. Krazhi   lichnogo  imushchestva  v  kvartirah,  ofisah,  kottedzhah,
zagorodnyh stroeniyah; ogrableniya; ugony avtomobilej;
     5. Pohishchenie   kommercheskoj   informacii  (krazha  dokumentov,  ih
kopirovanie,  s容m informacii s komp'yuterov i faksov,  proslushivanie i
zapis' telefonnyh   soobshchenij,   razgovorov   v   pomeshcheniyah,   podkup
sotrudnikov);
     6. Krazhi  i ogrableniya v magazinah,  skladskih i proizvodstvennyh
pomeshcheniyah;
     7. Porcha imushchestva i tovarov. Podzhogi.
     Mnogie iz perechislennyh prestuplenij mozhno bylo by predotvratit',
esli by svoevremenno byli prinyaty mery preventivnogo haraktera. Pochemu
zhe oni ne byli osushchestvleny?
     *1. Skarednost'*.  Slishkom  chasto  biznesmeny  (i  firmy v celom)
elementarno zhaleyut vydelit' sredstva na ohranu i ohrannye meropriyatiya.
Oni nadeyutsya na "avos'",  na chudo, na sluchaj, na chto ugodno, tol'ko ne
na to, chto nado. Potom, kogda prihoditsya tratit'sya na remont, na poisk
propavshego,  na  vyplatu  dani  reketiram,  na  vrachej,  na vozmeshchenie
ubytkov,  nastupaet  prozrenie.  No  eto  potom,  kogda   probuzhdaetsya
"krepkij  zadnij  um".  Otsyuda  spravedlivost' vyskazyvaniya,  soglasno
kotoromu "skupoj platit dvazhdy, a to i trizhdy".
     *2. Nevezhestvo*. Biznesmeny ne ponimayut suti kompleksnyh ohrannyh
meropriyatij i togo fakta,  chto obespechit' razrabotku  i  osushchestvlenie
takogo  kompleksa  sposobny  lish'  professionaly.  Ih  ushcherbnaya logika
takova:  "ya byl dostatochno umen,  chtoby skolotit' kapital,  mne hvatit
uma i dlya togo,  chtoby predusmotret' lyubuyu opasnost'".  Inymi slovami,
vtoraya prichina - posle zhadnosti - eto nevezhestvo;
     *3. Necivilizovannost'*,   t.e.   otsutstvie  opyta  kommercheskoj
deyatel'nosti  po  pravilam  rynka,  a  ne  kolhoznogo  bazara.  Otsyuda
vytekaet  opasenie  obrashchat'sya k specialistam za konsul'taciyami po tem
voprosam,  v kotoryh biznesmen  nekompetenten,  neumenie  "planirovat'
risk",  otsutstvie  takoj  obyazatel'noj  i vazhnoj procedury,  kak sbor
konfidencial'noj informacii o partnerah,  kontragentah  i  kreditorah.
Splosh' i ryadom prihoditsya videt', kak predprinimatel' "zaletaet" iz-za
togo,  chto poveril na slovo,  nepravil'no sostavil vazhnejshij  dogovor,
pereocenil   svoi   analiticheskie   vozmozhnosti,  ne  izuchil  rynochnuyu
kon座unkturu,  dazhe ne dogadyvalsya o tom,  chto  vse  ego  "kommercheskie
tajny" prekrasno izvestny konkurentam i tak dalee.
     *4. Rotozejstvo*.    Tehnicheskoe     obespechenie     bezopasnosti
proizvodstvennyh,  skladskih, kontorskih i zhilyh pomeshchenij ochen' chasto
ostavlyaet zhelat' mnogo luchshego,  libo voobshche otsutstvuet. Delo dohodit
do  smeshnogo:  tovar  na  milliony rublej inoj raz hranitsya za obychnoj
dver'yu, s obychnym dvernym zamkom, a na oknah net reshetok!



     Rassmatrivaya problemu lichnoj bezopasnosti v shirokom  plane,  nado
priznat',  chto  v  svoem  bol'shinstve  biznesmeny  legko  uyazvimy.  Vo
mnozhestve  firm  lyubomu  postoronnemu  cheloveku  ne   sostavit   truda
proniknut' vnutr' ofisa pod kakim-to predlogom, vojti v lyuboj kabinet,
besshumno zarezat' svoyu zhertvu (dazhe neskol'ko chelovek) i udalit'sya, ne
privlekaya   vnimaniya.  Ne  obyazatel'no  rezat',  glushitel'  na  stvole
"Beretty M-71" (horoshij  pistolet  vesom  ne  bolee  600  gramm),  ili
otechestvennyj  "PSS"  (ves  s  patronami 830 gramm),  daet vozmozhnost'
zastrelit' stol'ko lyudej,  skol'ko patronov v magazine, t.e. ne men'she
6-i,  za 2 sekundy.  Eshche proshche:  v tolchee vas mogut ukolot' igolochkoj,
konchik kotoroj obmaknuli v preparat pod nazvaniem strofantin.  |to  yad
nervno-paraliticheskogo dejstviya,  ot kotorogo vy umrete za 30 sekund v
rezul'tate ostanovki dyhaniya.
     Poetomu normal'nyj,  razumnyj, predusmotritel'nyj predprinimatel'
dolzhen zabotit'sya o svoej bezopasnosti,  pamyatuya,  kak  on  uyazvim,  i
naskol'ko hrupka chelovecheskaya zhizn' voobshche.  Razumeetsya,  vse horosho v
meru. Nel'zya vpadat' ni v odnu, ni v druguyu krajnost': odinakovo ploho
polnoe otsutstvie ohrany i predel'noe sosredotochenie myslej i dejstvij
na sobstvennoj bezopasnosti.



     *Rukovodstvujtes' sleduyushchimi     principami*,      razrabotannymi
specialistami "SHin Bet", sluzhby gosudarstvennoj bezopasnosti Izrailya.
     1. Sochetajte v svoej sisteme bezopasnosti mery treh vidov: lichnuyu
ohranu (telohraniteli i sluzhebnye sobaki), tehnicheskie sredstva ohrany
(signalizaciyu, bronezhilety, zamki, sejfy i pr.), pravila povedeniya dlya
vseh chlenov sem'i i naemnogo personala;
     2. Nalichie odnoj lish' lichnoj ohrany  yavlyaetsya  nedostatochnym  dlya
garantirovaniya 95% bezopasnosti (100% daet tol'ko Gospod' Bog). Vsegda
trebuetsya imenno kompleks mer nazvannyh vyshe treh vidov;
     3. O  nenadezhnosti  lyuboj  mery  bezopasnosti  sleduet  sudit' po
samomu slabomu mestu v nej (kak o prochnosti cepi sudyat po  ee  slabomu
zvenu);
     4. Vse  ispol'zuemye  mery  bezopasnosti  dolzhny  nahodit'sya  pod
postoyannym   kontrolem  glavy  firmy  ili  ee  specialista  v  oblasti
bezopasnosti;
     5. Prinyatye  mery  bezopasnosti  dolzhny  sovmeshchat'sya  s usloviyami
povsednevnoj  zhizni  predprinimatelya,  ego  sem'i,  ne  prepyatstvovat'
rabote firmy;
     6. |ffektivnost'  mer   bezopasnosti   budet   vyshe,   esli   oni
splanirovany  specialistami v etoj oblasti,  s uchetom specifiki vashego
biznesa i mestnyh uslovij;
     7. V  teh sluchayah,  kogda veroyatnost' soversheniya pokusheniya na vas
rezko  vozrastaet,   neobhodimo   ne   prosto   vypolnyat'   vse   mery
predostorozhnosti,  a  vvodit'  kachestvenno  novyj uroven' bezopasnosti
(nachinaya s informacionnoj zashchity i konchaya smenoj mesta zhitel'stva).



     *Struktura SB*.  Mnogogrannost'  sfery  obespecheniya  bezopasnosti
firmy,  vklyuchaya  zashchitu  ee  kommercheskih  sekretov,  trebuet sozdaniya
special'noj sluzhby dlya realizacii vseh zashchitnyh meropriyatij.
     Struktura, chislennost'   i   sostav   sluzhby  bezopasnosti  firmy
opredelyayutsya   real'nymi    finansovymi    vozmozhnostyami,    masshtabom
kommercheskoj deyatel'nosti,  stepen'yu konfidencial'nosti informacii.  V
zavisimosti ot etih faktorov sluzhba bezopasnosti mozhet var'irovat'  ot
dvuh-treh chelovek,  rabotayushchih po sovmestitel'stvu, do polnomasshtabnoj
sluzhby s razvitoj strukturoj.
     S uchetom   nakoplennogo   zarubezhnogo   i   otechestvennogo  opyta
predlagayu  primernyj  variant  sluzhby  bezopasnosti   firmy   srednego
masshtaba.  Ona  sostoit  iz  chetyreh  sektorov  (ili otdelov).  V svoyu
ochered',  kazhdyj takoj  sektor  imeet  v  svoem  sostave  ot  dvuh  do
desyati-pyatnadcati chelovek.  |to sektor ohrany,  sektor rezhima,  sektor
tehnicheskoj zashchity i operativnyj sektor. Ih glavnye zadachi sleduyushchie:
     *Sektor ohrany*:
     - ohrana pomeshchenij i zdanij;
     - ohrana oborudovaniya i imushchestva;
     - ohrana sotrudnikov i meropriyatij;
     - ohrana perevozok.
     *Sektor rezhima*:
     - obespechenie sekretnosti dokumentov;
     - obespechenie rezhima dopuska;
     - kontrol' posetitelej i transporta;
     - rassledovanie sluchaev narushenij rezhima.
     *Sektor tehnicheskoj zashchity*:
     - vyyavlenie tehnicheskih kanalov utechki informacii;
     - kontrol' za popytkami nesankcionirovannogo dostupa k informacii
s pomoshch'yu tehniki;
     - oborudovanie firmy sredstvami signalizacii i svyazi;
     - oborudovanie firmy protivopozharnymi sredstvami.
     *Sektor operativnoj raboty*:
     - vyyavlenie i izuchenie firm i  prestupnyh  soobshchestv,  yavlyayushchihsya
potencial'nymi konkurentami ili vragami firmy;
     - uchet  i  analiz  popytok   proniknoveniya   v   sekrety   firmy,
osushchestvleniya kakih-libo vrazhdebnyh akcij;
     - vyyavlenie vozmozhnyh "slabyh" mest v deyatel'nosti firmy;
     - razrabotka i osushchestvlenie mer protivodejstviya "naezdam".



     V usloviyah, kogda osnovnym ob容ktom prestupnyh posyagatel'stv stal
kapital  kommercheskih  firm,  na  pervyj  plan   v   deyatel'nosti   ih
sobstvennyh  sluzhb  bezopasnosti  vyhodyat  informacionno-analiticheskoe
obespechenie,  ekonomicheskaya  razvedka   i   kontrrazvedka,   a   takzhe
organizaciya operativnyh meropriyatij.
     Trebovaniya k urovnyu podgotovki rukovoditelej sluzhb bezopasnosti i
ih vedushchih sotrudnikov postoyanno vozrastayut.
     V stranah  s  rynochnoj  ekonomikoj   obuchenie   specialistov   po
obespecheniyu  bezopasnosti  biznesa  osushchestvlyaetsya  bolee  chem  v  100
specializirovannyh uchebnyh zavedeniyah. V SSHA predprinimateli tratyat na
ohranu  kommercheskih  tajn  okolo  pyatoj  chasti  summ,  vydelyaemyh  na
marketing.  V masshtabe strany eto sostavlyaet okolo 15  mlrd.  dollarov
ezhegodno.
     *Segodnya specialisty  po  bezopasnosti  biznesa  dolzhny  obladat'
poznaniyami v sleduyushchih oblastyah*:
     - informacionno-analiticheskaya rabota;
     - metody razvedki i kontrrazvedki;
     - operativnaya rabota;
     - social'naya psihologiya i psihologiya lichnosti;
     - osnovy bankovskogo dela i buhgalterskij uchet;
     - osnovy menedzhmenta i marketinga;
     - grazhdanskoe i ugolovnoe pravo.
     *Gramotnyj specialist obyazan*:
     - razrabotat'  kompleksnye  mery  po   obespecheniyu   bezopasnosti
kommercheskoj firmy i lichnoj bezopasnosti ee rukovodstva;
     - osushchestvit' zashchitu konfidencial'noj  informacii,  v  tom  chisle
hranyashchejsya v komp'yuternoj pamyati;
     - umet' primenyat'  tehnicheskie  sredstva  skrytogo  nablyudeniya  i
proslushivaniya;
     - protivodejstvovat'    provedeniyu    analogichnyh     meropriyatij
konkurentami;
     - razbirat'sya v finansovoj otchetnosti;
     - zanimat'sya profilaktikoj pravonarushenij v firme;
     - provodit'   vnutrennee   rassledovanie    sluchaev    vorovstva,
moshennichestva, sabotazha i finansovyh prestuplenij;
     - organizovyvat' proverki (v tom chisle neglasnye) blagonadezhnosti
sotrudnikov firmy;
     - preduprezhdat' (vyyavlyat') sluchai sotrudnichestva rabotnikov firmy
s konkurentami ili kriminal'nymi strukturami;
     - vzaimodejstvovat' so  sledstvennymi  organami  i  miliciej  pri
rassledovanii prestuplenij i inyh proisshestvij;
     - gotovit' dokumenty,  soderzhashchie analiz finansovo-ekonomicheskogo
polozheniya partnerov, ocenku konkurentov i potencial'nyh klientov;
     - razreshat' konflikty mezhdu sotrudnikami firmy;
     - kratko i tochno izlagat' svoi mysli.
     Opyta i znanij v perechislennyh oblastyah vedushchim sotrudnikom sluzhb
bezopasnosti  otechestvennyh  kommercheskih  firm  poka  yavno nedostaet.
Poetomu vopros ob ih podgotovke i perepodgotovke bolee chem aktualen.



     *CHtoby ogradit'  sebya  ot  utechki  konfidencial'noj   informacii,
sleduet*:
     - kontrolirovat' dostup sotrudnikov firmy k zakrytoj dokumentacii
i k bazam dannyh;
     - periodicheski  prosmatrivat'  dannye  i  opredelyat'  stepen'  ih
sekretnosti, pomnya, chto lyubaya informaciya bystro "stareet";
     - ne zloupotreblyat' najmom vremennyh  sotrudnikov,  esli  oni  po
rodu  svoej  raboty  avtomaticheski  poluchayut dostup k konfidencial'noj
informacii;
     - oborudovat'  zvukonepronicaemye  (ekranirovannye) pomeshcheniya dlya
obsuzhdeniya vazhnyh voprosov;
     - regulyarno  obsledovat'  takie  pomeshcheniya,  proveryaya  pri pomoshchi
special'noj apparatury  nalichie  v  nih  podslushivayushchih  (skaniruyushchih)
ustrojstv;
     - zavesti    special'nye    konverty    (papki),    v     kotoryh
konfidencial'naya informaciya budet cirkulirovat' vnutri firmy;
     - ustanovit' mesta priema posetitelej,  nikogda ne  ostavlyat'  ih
odnih v ofise i drugih pomeshcheniyah firmy;
     - ne rezhe odnogo  raza  v  nedelyu  obsledovat'  vse  sluzhebnye  i
podsobnye  pomeshcheniya  firmy (vklyuchaya koridory i tualety) dlya vyyavleniya
podslushivayushchih i zvukozapisyvayushchih ustrojstv;
     - uporyadochit'    ispol'zovanie    sotrudnikami   mnozhitel'noj   i
kopiroval'noj tehniki;
     - ustanovit' apparat dlya unichtozheniya nenuzhnyh dokumentov (vklyuchaya
ispol'zovannuyu kopiroval'nuyu bumagu ot pishushchih mashinok);
     - neukosnitel'no   priderzhivat'sya  pravila:  sekretnye  dokumenty
unichtozhayutsya lichno sotrudnikom, otvechayushchim za bezopasnost' firmy;
     - ispol'zovat'  dlya  vedeniya sluzhebnyh zapisej tol'ko special'nye
tetradi i bloknoty, predvaritel'no pronumerovav ih;
     - v konce rabochego dnya pryatat' eti tetradi i bloknoty v sejf ili,
na hudoj konec, - v yashchik stola, snabzhennyj nadezhnym zamkom;
     - ustanovit'    personal'nuyu   otvetstvennost'   sotrudnikov   za
sohrannost'  konfidencial'noj  informacii  s  chetkoj   gradaciej   mer
disciplinarnogo i material'nogo vozdejstviya za ee utechku.
     Kazhdyj sotrudnik nezavisimo ot svoego  sluzhebnogo  polozheniya  ili
stepeni  rodstva  s  rukovoditelem  firmy  dolzhen  vladet'  tol'ko toj
informaciej, kotoraya emu neobhodima dlya raboty.
     Zashchishchaya sobstvennuyu informaciyu, ne zabyvajte nakaplivat' svedeniya
o svoih konkurentah. *Dos'e na kazhdogo iz nih mozhet vklyuchat' sleduyushchie
razdely*:
     - organizaciya i finansy;
     - kommercheskie vozmozhnosti;
     - plany i celi;
     - sbyt;
     - sil'nye i slabye storony.
     Pomnite: situaciej vladeet tot, kto vladeet informaciej.



     Sleduya moim   sovetam,   dejstvujte   raschetlivo.  Glavnoe  -  ne
pereuserdstvovat'.  Ved' samoe nepriyatnoe vospominanie,  ostayushchemsya ot
ispolnennoj fanatizma molitvy,  - eto rasshiblennyj lob. Pomnya ob etom,
starajtes' dejstvovat' tak,  chtoby mery po zashchite  informacii  ne  shli
vrazrez  s  reklamnoj  politikoj,  ne meshali kommercheskoj deyatel'nosti
vashej firmy.



     Kazhdyj biznesmen sam dolzhen reshit', kakoj put' obespecheniya lichnoj
bezopasnosti   emu  vybrat':  kupit'  sebe  pistolet,  nanyat'  parochku
telohranitelej,  podpisat'  dogovor   s   ohrannoj   firmoj,   sozdat'
sobstvennuyu sluzhbu bezopasnosti, ili... nichego ne delat'.



     Andrianov V.I.  i dr.  - SHpionskie shtuchki i ustrojstva dlya zashchity
ob容ktov i informacii:  spravochnoe posobie. - SPb: "Lan'", 1996. - 272
s.
     Bottom N.G.,   Galatti   R.R.   -   |konomicheskaya   razvedka    i
kontrrazvedka: prakticheskoe posobie. - Novosibirsk: "Diamant". 1994. -
416 s.
     Mironichev S.M.  -  Kommercheskaya  razvedka  i  kontrrazvedka,  ili
promyshlennyj shpionazh v Rossii i metody bor'by s  nim.  -  M.:  "Smirab
elektroniks", 1995. - 216 s.
     R-sistema: vvedenie v ekonomicheskij shpionazh (v 2-h tomah).  - M.:
"Hurntec publisher", 1996. - 944 s.
     Hant CH.,  Zartar'yan V.  - Informaciya - osnova uspeha: razvedka na
sluzhbe vashego predpriyatiya.  - Kiev:  "Ukrzakordonvizaservis",  1992. -
160 s.

======================================================================
     Primechanie:

     ** - zhirnyj shrift

Last-modified: Sat, 28 Jul 2001 19:50:53 GMT
Ocenite etot tekst: