:


Original is at
http://koi.www.alpha.ru/Security/firewall.html

- , , ( .1). , , . . . , . , .


, - UNIX - BSDI, SunOS, AIX, IRIX .., - DOS, VMS, WNT, Windows NT. INTEL, Sun SPARC, RS6000, Alpha , HP PA-RISC, RISC R4400-R5000. Ethernet, FDDI, Token Ring, 100Base-T, 100VG-AnyLan, . , 32 500 .

, , , - . , . ( ), . . . .

:

. , , IP-, TCP . IP- - , , .. TCP/IP .

:

.
. .
.
"" . - TCP, UDP ICMP. - IP--. " " " " TCP UDP .

- TELNET, FTP .. (proxy server), , . , : .

, :


- , (DNS). ( - -; , , ). .

, , , , , . - , .

TCP . , . , .

, , ( - ). , .

, TCP, , .

.

:

: : : ( Virtual Private Network), .. , . VPN , . , - , ..

. , ( . 1). , 3, , .

Ethernet ( dual-homed ), ( . 4).

, . , . .

. 5.

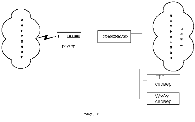
. , (WWW, FTP ..). - ,

( . 6), , , ; , .
,

, .

. , . , , , . . , , - , .

. - , , , , , .. - . , - , .. , . , . , , , , ..

. , , , (, : , . - , ). - , , . .

, , " " - .. , .

UNIX . - .

. , , . , - , . . Kerberos - . - , . , , .


1996

Last-modified: Wed, 16 Apr 1997 11:51:30 GMT
: